Гидравлический расчет однотрубной системы водяного отопления методом характеристик сопротивления. Определение характеристик и подбор балансовых клапанов

При гидравлическом расчете однотрубных систем отопления необходимо учитывать следующие рекомендации:

- потери давления в стояках должны составлять не менее 70% общих потерь давления в циркуляционном кольце за вычетом потерь давления оборудования теплового узла;

- рекомендуется применять верхнюю разводку магистральных теплопроводов, при которой обеспечивается движение воды к отопительному прибору «сверху-вниз»;

- для устойчивой работы П-образных стояков в опускной его части (при движении воды «снизу-вверх») расход воды в нем должен быть более минимально допустимого значения, определяемого по [5, табл. 10.10];

- для многоэтажных зданий при нижней разводке магистральных теплопроводов рекомендуется применять П-образные стояки с транзитным подъемным участком и отопительным опускным, а также Т-образные стояки с транзитным подъемным участком и двумя отопительными опускными;

- стояк проектируется неизменного диаметра с использованием последовательно соединенных унифицированных узлов, при расчете стояк рассматривают как один участок;

- расчет рекомендуется проводить при одинаковых (постоянных) или различных (переменных) перепадах температуры воды в стояках методом характеристик сопротивления.

Рассмотрим на примере порядок и последовательность расчета. Для расчета приняты исходные данные предыдущих примеров 1.1... 1.3.

ПРИМЕР 1.4. В качестве примера выполним гидравлический расчет однотрубной вертикальной тупиковой системы водяного отопления с централизованным теплоснабжением от тепловых сетей при независимой схеме присоединения системы отопления к ним. Заданы следующие расчетные параметры тепловых сетей и системы отопления; Тг = 120°С, Та = 70°С, k = 85°C, f0 = 65°C. Тепловые нагрузки помещений QA и здания Q3d = = 53540 Вт принимаем из табл. 1.3. Следует помнить исходное, заданное в примере 1.2 условие индивидуального регулирования в системе отопления (Hi =0,8), что соответствующим образом отразилось на величине расчетных тепловых нагрузок помещений и здания.

По выражению (1.18) определяем расчетную мощность системы отопления:


Затем на планах и разрезах этажей, подвала и чердака (рис. 1.11... 1.13) указываем в условных обозначениях отопительные приборы, стояки, магистральные теплопроводы, трубопроводы ввода тепловых сетей в тепловой пункт и трубопроводы ввода системы отопления в тепловой пункт. На планах и разрезах теплового пункта (в примере не показаны) указываем местоположение основного оборудования с привязкой его размерными линиями к осям или стенам теплового пункта.



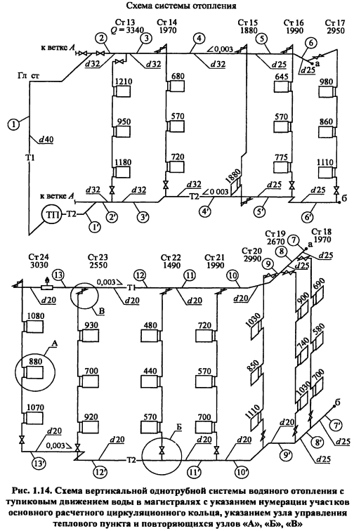
На основании указанных выше чертежей выполняем аксонометрические (в данном случае в косоугольной диметрии) схемы системы отопления (рис. 1.14, 1.15). На схеме системы отопления распределяем тепловые нагрузки помещений Q4 по отопительным приборам в виде нагрузки отопительного прибора, суммируем по стоякам и указываем на схеме.

Определяем основное расчетное циркуляционное кольцо - через наиболее нагруженный из удаленных стояков наиболее нагруженной ветки системы, т.е. через стояк №24 ветки Б. Разбиваем основное циркуляционное кольцо на расчетные последовательные участки, нумеруем их и указываем на схеме. Определяем их длины ?уч и тепловые нагрузки Qt. Расчет тепловых нагрузок участков выполняем по выражению (1.17), начиная от Ст.24 и суммируя с нарастающим итогом в сторону теплового пункта. Например, для участков №13 и №13- Qt = 1,05 3030 = 3180 Вт.



Исходные данные и результаты гидравлического расчета рекомендуется вносить в ведомость гидравлического расчета, например в виде табл. 1.6. Расход воды определяем по выражению (1.19): G = 0,86Qf/(85 - 65) = 0,043 Q, и заносим в графу 3. Диаметры участков подбираем, задаваясь оптимальной скоростью движения теплоносителя не более 0,4...0,5 м/с, с помощью таблиц гидравлического расчета [5, Приложение II]. Учитывая вероятность образования отложений в магистралях, принимаем диаметры некоторых участков, например №11... 13, на типоразмер выше. На основании принятых диаметров заполняем графы 7 и 10 из табл. 10.7 [5].

Значения Syd (графа 5), необходимые при выполнении расчета по задаваемому циркуляционному давлению, в данном случае не вычисляется, т.к. расчет ведем по задаваемой скорости воды на участке. Расчет проводится по выражению (1.31), т.е. значение графы 8 получаем перемножением величин в графах 4 и 7, значение графы 10 - сложением величин в графах 8 и 9, значение графы 12 - перемножением величин в графах 10 и 11. И окончательно, потерю давления на участке - по выражению (1.30).



Характеристика сопротивления стояка определяется суммой характеристик сопротивления трубных узлов и других стояков диаметром dv = 15 мм


Требуемое значение пропускной способности kv балансового клапана определяем по формуле (1 28), а также с помощью номограммы, аналогичная схема которой показана на рис 1 106, для определения значения и гидравлической настройки клапана

В настоящем примере использованы номограммы фирмы Herz для балансовых клапанов Расчет гидравлических параметров и его результаты выполняем в ведомости в виде табл 1.7



Теплоснабжение и вентиляция. Курсовое и дипломное проектирование. /Под ред. проф. Б. М. Хрусталева - М.: Изд-во АСВ, 2005.

на главную