ПИТАТЕЛЬНЫЕ ТРУБОПРОВОДЫ И ПАРОПРОВОДЫ

Трубопроводы разделяют на главные и вспомогательные. К главным трубопроводам относятся питательные трубопроводы и паропроводы насыщенного и перегретого пара; к вспомогательным — дренажные, продувочные, обдувочные, для отбора проб воды и пара и т. п.

Питательные трубопроводы. Схема и конструкция питательных трубопроводов должны обеспечивать полную надежность питания котлов водой в нормальных н аварийных условиях. Для питания паровых котлов паропроизводительностью до 4 т/ч допускается один питательный трубопровод; для котлов большей паропроизводи- тельности необходимы два трубопровода, чтобы в случае выхода из строя одного из них можно было бы пользоваться вторым. Котлы, работающие с разным, рабочим давлением, должны иметь самостоятельные питательные трубопроводы. Если разница в давлении составляет не более 15 %, допускается питание всех котлов по одному и тому же трубопроводу. Питательные трубопроводы монтируют так, чтобы от любого насоса, имеющегося в здании, можно было подавать воду в любой котельный агрегат как по одной, так и по второй питательной линии.

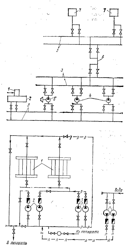
Питательные трубопроводы должны иметь: перед насосом — запорные устройства, за насосом — вентили или задвижки, а непосредственно перед котлом—обратный клапан и вентиль. Все вновь изготовляемые паровые котлы паропроизводительностью от 2 т/ч и выше, а также котлы, находящиеся в эксплуатации, паропроизводительностью от 20 т/ч и выше должны быть оборудованы автоматическими регуляторами питания, управляемыми с рабочего места машиниста котла. На рис. 10.5 показана схема питательных трубопроводов с двойными магистралями, расположенная в котельных среднего давления. Всасывающие и нагнетательные магистрали питательных насосов, питательные магистрали отлов, а также отводы питательных линий к котлам выполнены двойными. В работе обычно находятся обе магистрали.



Одну из них можно отключить, не нарушая нормального режима питания котлов. Схема присоединения питательных трубопроводов к водогрейным котлам показана на рис. 10.6. В помещениях с водогрейными котлами для перемещения воды в них и в системе трубопроводов применяют два центробежных насоса с электроприводом (один — рабочий, второй — резервный).

Паропроводы. Главные паропроводы, служащие для подачи насыщенного или перегретого пара от котельных агрегатов к потребителям, собирают по определенным схемам. На рис. 10.7 показана схема с одиночной сборной магистралью. По этой схеме все котельные агрегаты и потребители пара присоединены к общему паропроводу. При повреждении какого-либо участка на общем паропроводе устанавливают разделительные задвижки, позволяющие отключить поврежденный участок и соответственно присоединенные к нему котлоагрегаты и потребители пара. При небольшом числе котлоагрегатов и потребителей достаточно установить одну пару задвижек. При большом числе агрегатов для повышения надежности пароснабжения потребителей устанавливают еще одну-две пары разделительных задвижек. Наиболее ответственные потребители иногда присоединяют к двум частям магистрального паропровода, разделенного задвижками. Схема с одиночной сборной магистралью получила распространение в производственно-отопительных котельных низкого давления.

Схема с двойной сборной магистралью показана на рис. 10.8. Паропроводы от каждого котла присоединены к двум магистральным паропроводам котельной, к которым присоединены и ответственные потребители пара. Нормально в работе находятся оба паропровода, что позволяет быстро отключить поврежденный паропровод, не нарушая нормальной работы котельной. Диаметры паропроводов рассчитывают на пропуск каждым из них всего количества пара, вырабатываемого котлами при максимально допустимой скорости. При этой схеме задвижки на основных паропроводах отсутствуют; их устанавливают на паропроводах от котельных агрегатов, идущих к потребителям, что уменьшает диаметр и стоимость задвижек. Ремонт любой из задвижек требует отключения только одного котельного агрегата или потребителя. Благодаря высокой надежности схема с двойной магистралью получила широкое распространение в производственно-отопительных котельных. Основными недостатками схемы с двойной магистралью являются: большая затрата металла на трубы, значительное число задвижек для присоединения к магистралям, а следовательно, и высокая стоимость всей системы трубопроводов. В отопительно-производственной котельной применяют схему паропроводов с коллекторами (рис. 10.9). Недостаток данной схемы состоит в малой ее надежности, так как при повреждении какой-либо задвижки на коллекторе приходится отключать все котельные агрегаты и присоединеииых к нему потребителей.


К вспомогательным паропроводам относятся дренажные трубопроводы, предназначенные для удаления конденсата из главных паропроводов. Конденсат в паропроводах накапливается особенно в периоды их охлаждения и прогрева. Согласно правилам, конденсат уделяют из нижних точек каждого участка паропровода, отделенного задвижками, а затем отводят его в дренажные баки. При прохождении теплоносителей по трубопроводам последние при нагревании удлиняются. Поэтому конструкцией трубопроводов необходимо предусматривать возможность свободного расширения при нагревании и сжатия при охлаждении. В противном случае могут возникнуть недопустимые термические напряжения, которые приведут к разрыву трубопровода или расстройству фланцевых и сварных соединений.

Для паропроводов и питательных линий котельных обычно применяют гнутые компенсаторы, изготовленные из стальных цельнотянутых труб (рис. 10.10). Достоинством гнутых компенсаторов являются надежность, простота эксплуатации, а недостатком — значительное сопротивление движению рабочего тела и сравнительно большой габарит. На трубопроводах низкого давления (1,2—1,6 МПа) используют иногда сальниковые компенсаторы (рис. 10.11), которые имеют меньшие габариты при большой компенсирующей способности (до 200— 300 мм) по сравнению с гнутыми, но они менее надежны в эксплуатации.

Теплогенерирующие установки: Учеб. для вузов. Г. Н. Делягин, В. И. Лебедев, Б. А. Пермяков. М.: Стройиздат, 1986.

на главную