ПАРО- И ТЕПЛОГЕНЕРАТОРЫ АТОМНЫХ СТАНЦИЙ ТЕПЛОСНАБЖЕНИЯ (ACT)

Парогенератор или теплогенератор (водонагреватель)— обязательный элемент любой двух- или трехконтурной АТЭЦ или ACT, разделяющий первый и второй контуры и принадлежащий в равной мере как тому, так и другому. В наиболее простой схеме питательная вода, поступающая в парогенератор, смешивается с водой, находящейся внутри корпуса, и нагревается до температуры насыщения в основном за счет конденсации некоторого количества пара. Поэтому с достаточной точностью можно считать, что температура рабочего тела в парогенераторе неизменна и равна температуре насыщения. В парогенераторе, генерирующем сухой насыщенный пар, температурный напор на входе теплоносителя всегда выше, чем на выходе, на величину охлаждения теплоносителя.

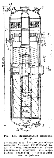
Парогенератор иногда выполняют с выделенным водяным экономайзером. В этом случае имеется выигрыш в поверхности нагрева парогенераторной установки за счет увеличения температурного напора, однако схема установки в этом случае усложняется в ущерб надежности. Поверхность нагрева паро- или теплогенератора всегда представляет собой систему змеевиков малого диаметра, внутри которых течет теплоноситель при существенно большом давлении. Конструктивно установки выполняют горизонтальными (рис. 3.12) или вертикальными (рис. 3.13). В обоих случаях по стороне второго контура использована естественная циркуляция. Горизонтальная конструкция более технологична в изготовлении и надежна в эксплуатации. Кроме того, горизонтальный парогенератор имеет большую площадь зеркала испарения и существенно меньшие скорости пара на выходе в паровой объем. Однако высота парового объема у него ограничена, так как определяется диаметром корпуса, а он ограничен железнодорожными габаритами. Кроме того, по мере подъема пара непрерывно уменьшаются сечения для прохода пара, скорости возрастают и условия для его осушки ухудшаются. Вследствие ограниченности диаметра корпуса в его паровом пространстве практически возможно разместить только простейшие и поэтому не всегда достаточно эффективные сепарационные устройства. В вертикальном парогенераторе скорости по мере подъема пара остаются неизменными, высота парового объема может быть значительно увеличена, размещение высокоэффективных сепарационных устройств облегчено.



Мощность парогенератора паропроизводительностью 1469 т/ч по условиям железнодорожного габарита является предельной. Основные конструктивные характеристики серийно выпускаемых в СССР парогенераторов приведены в табл. 3.5.

Технико-экономические разработки показали целесообразность строительства атомных станций теплоснабжения теплопроизводительностью не ниже 1800 ГДж/ч (500 МВт). Наиболее перспективным в настоящее время считается проект АСТ- 500, выполненный по трехконтурной схеме. Число систем безопасности и петель промежуточного контура каждого реактора принято равным трем. Каждая из петель промежуточного контура имеет свои вспомогательные системы подпитки и очистки воды или другого теплоносителя. При разгерметизации или выходе из строя одной из петель теплообменника две другие продолжают работать. Тем самым отпуск теплоты хотя и сокращается, но не прекращается. Давление в промежуточном контуре выбрано меньшим, чем в реакторе, во избежание ухудшения качества воды в реакторе за счет перетока в нее воды из промежуточного контура.


Теплогенерирующие установки: Учеб. для вузов. Г. Н. Делягин, В. И. Лебедев, Б. А. Пермяков. М.: Стройиздат, 1986.

на главную