Общие положения. Схема расчета

Тепловой расчет теплогенератора на органическом топливе (котла) производят с целью определения экономических или конструктивных его параметров. Различают конструктивный и поверочный тепловые расчеты. Конструктивный тепловой расчет — это расчет, производимый для определения размеров топочного объема, радиационных и конвективных поверхностей нагрева, обеспечивающих номинальную производительность котла при заданных Рабочих параметрах. Целью расчета является разработка проекта нового котла при заданных характеристиках топлива, производительности и параметрах получаемого теплоносителя (пара или горячей воды). Поверочный тепловой расчет — это расчет, при котором по заданной конструкции и геометрическим характеристикам поверхностей нагрева котла для конкретного вида топлива определяются реальная производительность котла и экономичность его работы для чего определяют: тепловые потери; коэффициент полезного действия котла; расход топлива, скорости теплоносителя, воздуха и продуктов сгорания, температуры теплоносителя и продуктов сгорания, коэффициенты теплоотдачи и теплопередачи элементов поверхностей нагрева котла. Поверочный расчет выполняется для оценки показателей экономичности, выбора вспомогательного оборудования, получения исходных данных для последующих расчетов, например: аэродинамического расчета котла и теплогенерирующей (котельной) установки, расчета ее тепловой схемы, гидравлических и прочностных расчетов.



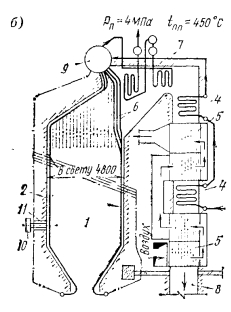
Поверочный расчет также проводят при переводе котла на сжигание другого топлива, при изменении производительности, параметров получаемого теплоносителя, проведении реконструкции поверхностей нагрева. Результаты поверочного расчета позволяют оценить кроме экономичности степень надежности работы топки по условиям шлакования, опасность появления низкотемпературной коррозии, недостаток или избыток площади поверхности пароперегревателя (если он имеется). Спецификой поверочного расчета котла является неизвестность промежуточных температур газов и рабочего тела— теплоносителя, включая температуры уходящих газов и горячего воздуха; поэтому расчет выполняют методом последовательных приближений, задаваясь вначале некоторым значением температуры уходящих из котла газов, а затем сравнивая его с результатами расчета. Допустимые отклонения в значениях этой температуры не должны превышать ±10 К- Расчетная схема котла (рис. 2.25) состоит из следующих элементов: топочный объем 1 с радиационными поверхностями нагрева 2, конвективные испарительные поверхности нагрева 3, экономайзерные поверхности для подогрева воды 4, воздухоподогреватель 5, пароперегреватель 7, фестонные поверхности нагрева на выходе из топочной камеры 6.

Тепловой расчет производят путем составления материальных и тепловых балансов котла в целом и отдельно его элементов: топочного объема, включая его радиационные поверхности нагрева; конвективных поверхностей нагрева; хвостовых поверхностей нагрева (экономайзера и воздухоподогревателя) и др. Последовательность поверочного теплового расчета котла (рис. 2.26) представляет собой систему расчетов вначале материального и теплового балансов для котла в целом, а затем элементов групп тепловоспринимаюших поверхностей нагрева по ходу движения газов, начиная от ввода воздуха в топочный объем и кончая выводом продуктов сгорания из воздухоподогревателя.

Теплогенерирующие установки: Учеб. для вузов. Г. Н. Делягин, В. И. Лебедев, Б. А. Пермяков. М.: Стройиздат, 1986.

на главную