ОБЕСПЕЧЕНИЕ ЕСТЕСТВЕННОЙ ЦИРКУЛЯЦИИ

Надежная работа всех котельных труб, входящих в контур естественной циркуляции, обеспечивается поддержанием температуры их стенок, близкой к температуре насыщения, для чего создают такой режим парообразования в подъемных трубах, при котором на всей их поверхности поддерживают непрерывную водяную пленку. При этом условии происходит непрерывный отвод теплоты, обеспечивающий даже при весьма высокой тепловой нагрузке максимальное приближение температуры стенок к температуре рабочего тела. Кроме соблюдения этого важнейшего условия необходимо также для надежного охлаждения стенок труб сделать невозможным отложение на их внутренней стороне шлама или накипи. Такие отложения могут быть связаны с неправильным водным режимом котельной установки и с условиями циркуляции. При значительном снижении кратности циркуляции может не только разрушиться водяная пленка на поверхности труб, ио и произойти выпаривание растворимых солей, содержащихся в котловой воде, образование обильных местных отложений и как следствие этого — резкое повышение температуры стенки. Опасность перегрева металлических стенок труб возникает также при расслоении потока пароводяной смеси.

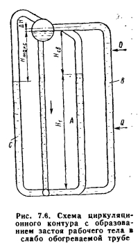
Таким образом, чтобы убедиться в надежности работы подъемных труб, входящих в контур естественной ( циркуляции, необходимо выявить в них опасные режи- t мы. Такими опасными режимами для подъемной части контура являются: образование застоя рабочего тела в подъемных трубах, опрокидывание циркуляции, расслоение потока пароводяной смеси и режим предельной кратности циркуляции. Для опускной части контура опасным режимом является парообразование в опускных трубах, которое может возникнуть как следствие падения давления во входном сечении трубы (так называемая кавитация), так и в результате обогрева некоторой части длины опускных труб. Следствием парообразования в опускных трубах является срыв нормального поступления воды в подъемные трубы. Образование застоя рабочего тела в подъемных трубах происходит при значительной неравномерности их обогрева. На рис. 7.6 показана схема циркуляционного контура, в котором наряду с нормально обогреваемыми трубами В имеются слабо обогреваемые трубы А, а также необо- греваемая труба С. Высоту уровня в трубе С, характеризующую перепад давления между барабаном и коллектором (при условии, что вода в трубе находится при температуре насыщения), определяют из соотношения


Очевидно, что при отсутствии обогрева труб А расположение свободного уровня в них (при вводе этой трубы выше уровня в верхнем барабане) будет таким же, как и в трубе С. При обогреве трубы А только на высоте НМакс положение уровня не изменится, так как циркуляция воды в трубе будет отсутствовать. Однако температура стенки быстро достигнет температуры окружающих газов, что приведет к разрыву трубы. Если труба А будет обогреваться только на участке ниже свободного уровня или одновременно на обоих участках трубы, но тепловая нагрузка ее будет незначительной, то свободный уровень в трубе А может образоваться в сечении, несколько превышающем сечение свободного уровня в необогрева- емой трубе. При увеличении обогрева трубы А тепловая нагрузка ее будет возрастать настолько, что количество пара, образовавшегося на нижнем участке, подымет уровень до выходного сечения трубы и наступит нормальный режим циркуляции.


Сопоставление величины полезного давления циркуляционного контура с величиной давления слабо обогреваемых труб этого контура позволяет выявить границу перехода от нормального режима циркуляции к режимам застоя рабочего тела. Величина полезного давления в отдельной слабо обогреваемой трубе, при которой образуется застой рабочего тела рсвд, легко определяется, если известен расход пара DJP (или воды), проходящего через данную трубу. Если это давление будет равно или меньше полезного давления циркуляционного контура, то наступит режим застоя рабочего тела. Следовательно, для предотвращения такого режима необходимо, чтобы полезное давление слабо обогреваемой трубы рТр было больше полезного давления циркуляционного контура Рпол. т- е. чтобы было соблюдено условие


Опрокидывание циркуляции, под которым понимают переход от подъемного движения воды и пароводяной смеси к опускному, может наблюдаться только в трубах, выведенных в водяное пространство барабана. При этом переходе неизбежны образование свободного уровня и связанная с ним опасность пережога труб. Поэтому проверка на отсутствие застоя рабочего тела является также проверкой на отсутствие опрокидывания циркуляции.

Циркуляция в подъемных трубах может быть нарушена при расслоении пароводяной смеси. Так как такой режим возможен только в горизонтальных и слабонаклонных трубах при малой массовой скорости потока, то в циркуляционных контурах котлов с естественной циркуляцией применения таких труб лучше всего избегать. К опасным режимам для подъемных труб относится также режим предельной кратности циркуляции, так как при нем кратность циркуляции близка к единице. Происходит почти полное выпаривание воды, и, следовательно, образуются сильные местные отложения солей, имеющихся в котловой воде. В связи с этим в котлах с естественной циркуляцией рекомендуется не снижать среднюю кратность циркуляции ниже величины 3 для барабанных котлов высокого давления. Устранение описанных выше опасных режимов обеспечивает надежность циркуляции подъемной части циркуляционного контура. Для надежности циркуляции опускной части контура необходимо не допускать кавитации и парообразования в опускных трубах.

Падение давления при входе в опускные трубы вследствие создания скорости воды в трубе и потерь на преодоление местных сопротивлений входа из барабана в трубу определяют из выражения


Парообразование в обогреваемых опускных трубах может произойти в том случае, если количество воспринятой ими теплоты будет равно или больше количества теплоты, необходимой для догрева воды, находящейся в опускных трубах, до состояния насыщения. При соответствующем расчете по средним величинам необходимо учесть как неравномерность тепловосприятия опускных рядов, так и неравномерность распределения питательной воды между отдельными трубами. Проверку на отсутствие парообразования в опускных трубах проводят по формуле


Для обеспечения надежности работы циркуляционных контуров необходимо устранить причины, вызывающие возникновение опасных режимов в подъемных и опускных трубах. Нарушение нормальных условий работы циркуляционных контуров возникает главным образом при значительной неравномерности обогрева подъемных труб. Чем меньше тепловосприятие отдельных труб, тем меньшее количество воды проходит через них и, следовательно, тем меньше в них скорости движения воды. Неравномерный обогрев подъемных труб возникает как вследствие конструктивных особенностей циркуляционных контуров топки, горелок, так и вследствие условий эксплуатации. Конструктивные особенности обусловлены различной длиной обогреваемых участков, необходимостью обвода экранных труб вокруг амбразур и горелок и характером расположения последних. Эти особенности вызывают неизбежную неравномерность распределения тепловой нагрузки.

Значительно большее влияние на интенсивность обогрева оказывают эксплуатационные факторы, из которых важнейшими являются шлакование экранов и конвективных пучков, заносы поверхностей нагрева летучей золой, резкое изменение режима топки, качества топлива и т. п. Следовательно, для повышения надежности работы циркуляционных контуров необходимо в первую очередь стремиться к устранению неравномерности обогрева труб. Это может быть достигнуто эксплуатационными и конструктивными мероприятиями.

Наиболее эффективными эксплуатационными мероприятиями являются предотвращение шлакования топочных экранов и заноса труб летучей золой. Кроме того, необходимо исключать возможность резкого изменения топочного режима. Из конструктивных мероприятий, способствующих повышению надежности циркуляции, главнейшими являются увеличение сечения опускных труб и секционирование экранов. Увеличение сечений опускных труб приводит к увеличению расхода воды через все трубы циркуляционного контура, в том числе и через слабо обогреваемые трубы, в которых таким образом создаются благоприятные условия циркуляции. Кроме того, увеличение сечений опускных труб снижает полезный напор и поэтому делает маловероятным образование свободного уровня. Секционирование экранов позволило избежать сложных циркуляционных контуров, отличающихся значительной тепловой и гидравлической неравномерностью. Разбивка топочных экранов на ряд секций, имеющих сравнительно небольшую обогреваемую поверхность, обеспечивает значительно более равномерное тепловосприятие подъемных труб.

Теплогенерирующие установки: Учеб. для вузов. Г. Н. Делягин, В. И. Лебедев, Б. А. Пермяков. М.: Стройиздат, 1986.

на главную