ТЕПЛОВЫЕ ТРУБЫ ПЕРЕМЕННОЙ ПРОВОДИМОСТИ

Одним из основных достоинств тепловых труб является их высокая тепловая проводимость. Однако очень часто возникает необходимость регулировать эту проводимость для того, чтобы либо изменять количество передаваемого трубой тепла, либо поддерживать необходимый уровень температуры греющей или нагреваемой среды при изменении теплоподвода. Представляют интерес два случая регулирования проводимости тепловых труб — ступенчатое и плавное. При ступенчатом регулировании тепловая труба работает либо в режиме максимального теплопереноса (положение «включено»), либо минимального (положение «выключено») В общем случае ступенчатое регулирование подразумевает и обеспечение некоторых промежуточных значений проводимости. При плавном регулировании теплоперенос тепловой трубы меняется плавно в широком диапазоне изменения параметров. Особый случай регулирования осуществляется с помощью тепловых диодов, в которых тепло эффективно переносится лишь в одном направлении, а при передаче тепла в противоположном направлении диод является тепловым изолятором. Конечно, чаще всего идеальной теплоизоляции при этом не достигается.

В общем случае термическое сопротивление тепловой трубы складывается из следующих составляющих:


Для регулирования теплопереноса тепловой трубы можно использовать любое из этих семи термических сопротивлений. Однако обычно изменяют термические сопротивления:


Если обратиться только к тем способам регулирования, которые непосредственно связаны с работой самой тепловой трубы, то можно дать классификацию тепловых труб в отношении терморегулирования в виде, представленном в табл. 5.1 [1].

В этой классификации приведены трубы переменной проводимости при передаче тепла в одном направлении, диодные трубы п комбинированные системы, обеспечивающие как переменный теплоперенос, так и диодные свойства трубы. При этом для регулирования могут использоваться или не использоваться дополнительные системы обратной связи, т. е. механические или электрические приспособления, воздействующие на тепловую трубу при изменении ее параметров. Тепловые трубы без специальных систем обратной связи способны осуществлять лишь стабилизацию температуры пара, при наличии обратной связи чаще всего выполняют задачи по стабилизации температуры источника тепла. Примеры устройства тепловых труб с различным регулированием схематически даны на рис. 5.1. Краткая оценка качеств некоторых типов тепловых труб представлена в табл. 5.2 [1].


Газорегулируемые тепловые трубы. Этот способ регулирования наиболее широко распространен в практике применения тепловых труб переменного теплопереноса. Уже в первых опытах с тепловыми трубами [2] было замечено, что не полностью удаленный из трубы неконденсирующийся газ при ее работе накапливается в конце зоны конденсации, образуя газовую «пробку».

Газ препятствует проникновению пара в занятую им область трубы, создает дополнительное диффузионное сопротивление тепло- и массопереносу. Эксперименты показывают [3], что диффузионное термическое сопротивление в десятки и сотни раз может превышать термическое сопротивление при конденсации чистого пара. Часть поверхности тепловой трубы, занятая газом, практически не участвует в теплообмене.

При большой аксиальной скорости пара между паром и газом образуется достаточно резкая граница раздела. Изменяя положения этой границы, можно регулировать количество тепла, передаваемое тепловой трубой. Положение границы раздела между паром и газом можно найти, учитывая, что





При выводе уравнений (5.6), (5.7) сделаны следующие допущения: 1) пар и газ в зоне конденсации имеют четкую границу раздела; 2) гидравлическое сопротивление парового потока пренебрежимо мало; 3) неконденсирующийся газ подчиняется уравнению идеального газа; 4) тепло вдоль тепловой трубы переносится только паром; 5) рассматривается стационарное состояние. Из уравнений (5 6) и (5.7) можно видеть, что наличие неконденсирующегося газа всегда уменьшает изменение температуры тепловой трубы при изменении теплопереноса, так как множитель (1+S)-1 всегда меньше единицы, поскольку 5 — положительная величина. Для улучшения термической стабилизации необходимо увеличить параметр 5. Это можно сделать несколькими способами: во-первых, иметь как можно больший газовый объем при наименьшей площади границы раздела между паром и газом, тогда изменение величины d (In Vr)/dx будет минимально, во-вторых, увеличить интенсивность теплосъема в зоне теплоотвода, т. е. увеличить dQ/dx, изменить температуру газа.

Для оценки качества термостабилизации в различных конструкциях газорегулируемых тепловых труб введено понятие коэффициента температурной чувствительности:



Существует очень большое количество модификаций газорегулируемых тепловых труб. На рис. 5.1 схематически представлены лишь некоторые из принципиальных схем их выполнения.

Как правило, для увеличения объема газа используется дополнительный резервуар постоянного или переменного объема (см. рис. 5.1). В том случае, когда резервуар не обогревается до температуры выше температуры тепловой трубы, должны быть приняты меры для сведения к минимуму потерь теплоносителя вследствие диффузии его через газ в полость резервуара (например, из-за малого сечения капилляра, соединяющего трубу с резервуаром) либо организован возврат конденсата в трубу (по фитилю или стеканием под действием силы тяжести). Для улучшения качества термической стабилизации предложено использовать каскадирование тепловых труб (т. е. последовательное их соединение). В такой конструкции, реагируя на изменение теплоподвода, каждая из тепловых труб работает в меньшем интервале температур, и качество регулирования улучшается.


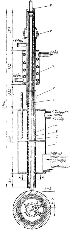
Теплоносителем служил натрий, в качестве неконденсирующегося газа был выбран гелий. Внутри тепловой трубы на всей ее длине имелась гильза — вытеснитель, в которую во время испытаний помещалась термопара, предназначенная для измерения температуры пара в трубе, а также мог помещаться нагреватель для пускового разогрева. Опыты проводились при нагреве трубы за счет конденсации натриевого пара, поступающего из парогенератора. Тепло отводилось дистиллированной водой, протекающей в холодильнике. Холодильник был отделен от тепловой трубы газовым зазором шириной 0,3 мм, создающим дополнительное термическое сопротивление. Величину термического сопротивления во время работы можно было менять посредством замены одного газа другим. Количество неконденсирующегося газа, находящегося в тепловой трубе во время опытов, было неизменно, его температура поддерживалась постоянной внешним электронагревателем.

Результаты опытов приведены на рис. 5.4 в виде зависимости мощности трубы от температуры пара для трех значений интенсивности охлаждения. Экспериментальные точки и усредняющие их линии 1, 2, 3 получены при работе газонаполненной тептовой трубы, Когда в зазоре между холодильником и корпусом трубы был соответственно вакуум, аргон и гелий. На этом же рисунке для сравнения нанесены расчетные кривые при работе тепловой трубы, не содержащей неконденсирующийся газ. Из сравнения можно видеть, что наличие неконденсирующегося газа значительно стабилизирует температуру тепловой трубы при различных переносимых мощностях. Так, при изменении мощности тепловой трубы в четыре раза (см. кривую 3, рис. 5.4) температура трубы изменилась только на 20° С, в то время как для тепловой трубы, работающей без газа, изменение мощности всего на 6% ведет к такому же изменению температуры. На стабилизацию температуры газонаполненной тепловой трубы, как и следует ожидать, влияет интенсивность охлаждения. Чем больше интенсивность охлаждения (см. кривые 1 и 3, рис. 5.4), тем лучше осуществляется термическая стабилизация.


При разработке низкотемпературных и криогенных газорегулируемых тепловых труб с применением составных фитилей артериального типа перед исследователями возникла проблема влияния парогазовых пузырей на характеристики теплопереноса. Образование таких пузырей, их поведение в процессе работы трубы и влияние на теплоперенос рассматривалось, в частности, в работах [17—20]. Газ первоначально попадает в артерию при заполнении ее жидкостью перед пуском, при частичном осушении артерии и под воздействием вибраций. При стационарной работе возможно устойчивое существование парогазовых пузырей и даже их возникновение. При работе тепловой трубы с неконденсирующимся газом можно выделить две зоны: в первой паровое пространство практически лишено газа, а температура равна рабочей температуре трубы, вторая зона располагается в конце конденсаторной части трубы, содержит неконденсирующийся газ и имеет пониженную температуру. В равновесных условиях концентрация газа в жидкости, находящейся в артерии, может быть вычислена из закона Генри с использованием коэффициентов Оствальда. В работающей тепловой трубе постепенно устанавливается динамическое равновесие. Во второй зоне газ непрерывно растворяется в артериальной жидкости и с нею переносится в зону испарения, где либо диффундирует в паровое пространство, либо выделяется в виде пузырей, подобно тому, как это имеет место при откупоривании бутылки с газированной водой. Выделение пузырьков возможно тогда, когда степень пересыщения жидкости газом велика по сравнению с равновесной его концентрацией в жидкости. Пузыри могут образоваться и при вскипании перегретой жидкости. Наиболее вероятно вскипание на стенке артерию в зоне испарения тепловой трубы, поскольку сетчатая стенка артерии может способствовать возникновению центров парообразования больших размеров. Из анализа, выполненного в работе [19], следует, что в отличие от чисто парового пузыря парогазовый имеет два равновесных радиуса, причем для меньшего- радиуса состояние пузыря метастабильно. Эксперименты, проведенные на тепловых трубах с модульной артерией, использующих в качестве теплоносителей аммиак и ацетон, а в качестве инертного газа — аргон, показали, что максимальный теплоперенос благодаря выделению газовых пузырей уменьшается более чем вдвое.

Тепловые трубы с регулированием термического сопротивления. Эффективного регулирования можно достигать за счет изменения перепадов давлений в паре или жидкости, текущей в тепловой трубе [21—27]. Следует указать на различие, которое лежит в основе регулирования посредством изменения давления в паре или жидкости. Падение давления вследствие дросселирования пара при регулировании теплопереноса тепловой трубы ведет к падению температуры насыщения по длине тепловой трубы, т. е. к увеличению ее термического сопротивления же гидравлического сопротивления жидкости в фитиле при одном и том же располагаемом капиллярном напоре приводит к уменьшению максимального теплопереноса тепловой трубы, однако не ведет к увеличению ее термического сопротивления до тех пор, пока не произойдет осушение капиллярной структуры.

Регулирование посредством изменения перепада давления пара и жидкости может осуществляться на любом температурном уровне как для криогенных, так и для высокотемпературных тепловых труб. Схема тепловой трубы, в которой используется- принцип регулирования термического сопротивления посредством дросселирования пара, изображена на рис. 5.1 (схема 2.1). Пар из зоны испарения в зону конденсации может пройти только через отверстие, закрываемое клапаном. Открытие и закрытие клапана осуществляется при перемещении штока вследствие изменения объема жидкости, имеющей большой температурный коэффициент объемного расширения. На рис. 5.1 (схема 2.2) представлена другая конструкция, в которой для регулирования термического- сопротивления используется осушение канавочной капиллярной структуры. При уменьшении температуры греющего тела ниже определенного значения клапан закрывает отверстие для прохода пара, перепад давления между испарительной и конденсаторной частями увеличивается, что приводит к осушению канавочной капиллярной структуры в испарительной части, уменьшению теплоподвода к ней, открытию клапана и т. п.

Регулирование теплового потока, основанное на изменении гидравлического сопротивления жидкости, текущей в капиллярной системе, чаще всего используется в устройствах, которые работают по принципу «включено — выключено» и называются тепловыми выключателями [27, 28].

Тепловые диоды. Тепловые диоды предназначены для переноса тепла лишь в одном направлении. Простейшим и широко распространенным диодом является бесфитильный термосифон.

В настоящее время предложено большое количество схем тепловых труб, работающих по принципу диодов [27—36]. Некоторые схемы тепловых диодов даны на рис. 5.5.


Тепловые диоды с неоднородным фитилем. Принцип работы теплового диода с неоднородным фитилем рассмотрим на примере тепловой трубы, предложенной в работе [34]. На рис. 5.5, а изображена цилиндрическая тепловая труба с неоднородной капиллярной структурой. Предположим, что эта тепловая труба переносит слева направо количество тепла Q. Тогда на поверхности раздела фаз пар—жидкость по длине фитиля должно установиться некоторое распределение менисков, причем кривизна их К будет убывать в сторону зоны конденсации. Следовательно, без ущерба для теплопереноса фитиль по длине тепловой трубы можно сделать неоднородным, т. е. увеличить размер пор в сторону зоны конденсации так, чтобы соблюдалось условие


В рассмотренной выше тепловой трубе с неоднородной капиллярной структурой эффект работы трубы в качестве диода достигается за счет различия капиллярных напоров, развиваемых капиллярной системой в зоне испарения и в зоне конденсации при изменении направления теплового потока. Другой способ изменения капиллярного напора—-изменение смачиваемости. В тепловом диоде с неодинаковой смачиваемостью уменьшение капиллярного напора достигается посредством изменения величины угла смачивания фитиля 0 в зонах испарения и конденсации. Конструкция теплового диода с неодинаковой смачиваемостью фитиля предложена в работе (30]. Диод с такой конструкцией выполнен следующим образом. Корпус тепловой трубы состоит из трех частей, причем на участке испарения и конденсации он выполнен из теплопроводного материала, на адиабатическом участке для уменьщения перетечек тепла — из теплового изолятора. Фитиль в зоне испарения обладает хорошей смачиваемостью, в зоне конденсации смачиваемость фитиля теплоносителем мала. Благодаря этому при изменении направления теплового потока достигается большая разница в капиллярных напорах, развиваемых участками фитиля с неодинаковой смачиваемостью, а следовательно, и в мощности, переносимой тепловой трубой.

Тепловые диоды без капиллярной системы в зоне конденсации. Тепловой диод с неоднородной капиллярной системой, как было указано, допускает обратный тепловой поток до момента пересыхания фитиля. Когда требуются очень малые обратные тепловые потоки, диод этого типа часто оказывается непригоден. Для уменьшения обратного теплового потока предложены тепловые диоды, лишенные капиллярной системы в зоне конденсации [32, 36]. Схема одного из таких диодов [36] представлена на рис. 5.5,6. Работа его состоит в следующем. При прямом направлении теплового потока пар конденсируется на вертикальной, лишенной фитиля стенке. Конденсат под действием силы тяжести в виде пленки или капель стекает вниз, затем по фитилю поступает в зону испарения. При обратном направлении потока жидкости пленка, имеющаяся на стенке без фитиля, пересыхает и перенос тепла в тепловой трубе прекращается. Недостаток такого диода, как и подобного ему, предложенного в работе [32], состоит в том, что он может работать только при наличии силы тяжести.

Диоды со сборником конденсата. Диоды со сборником конденсата, выполненные в виде испарительного термосифона, предложены в работах [33, 35]. На рис. 5.5, в дан один из примеров таких диодов, который представляет собой разновидность термосифона в виде парожидкостного замкнутого контура [33]. На участке стока жидкости имеется запорный вентиль. При открытии вентиля конденсат стекает в зону испарения и термосифон работает с максимальным теплопереносом. При закрытом вентиле конденсат накапливается в сборнике, теплоперенос прекращается и термосифон превращается в тепловой изолятор.

Схема теплового диода, который предложен в работе [35], аналогична описанной, за исключением клапана вентиля, который приводится в движение биметаллической пластиной. Для работы выполненного по такой схеме термосифона в качестве теплового диода необходимо, чтобы объем сборника конденсата равнялся объему заправленного в термосифон теплоносителя. Имеются другие схемы диодов со сборником конденсата, работа которых основана на принципе работы тепловой трубы. К их числу относится диод, схема которого изображена на рис. 5.5, г [31]. Диод имеет капиллярную систему, расположенную на всей внутренней поверхности тепловой трубы. Кроме того, в зоне испарения имеется капиллярная набивка, предназначенная для сбора жидкости, которой в тепловой трубе должно быть столько, чтобы она заполняла только капиллярную систему, расположенную на внутренней поверхности тепловой трубы. При прямом направлении теплового потока диод работает как обычная тепловая труба. При изменении направления теплового потока на обратный весь теплоноситель оказывается в сборнике с капиллярной набивкой, и теплоперенос в тепловой трубе прекращается. Преимущество диода с капиллярной набивкой заключается в том, что он может работать также в условиях перегрузок и вибраций.

Диоды с блокированием поверхности теплообмена жидкостью или газом. Схема диода с блокированием поверхности теплообмена жидкостью изображена на рис. 5.5, д [29]. Такого рода диоды используются для работы в условиях отсутствия силы тяжести применительно к криогенным и низкотемпературным тепловым трубам. На рис. 5.5, д изображена конструкционная схема для наземных испытаний. От космического варианта она отличается тем, что имеет капиллярную перемычку, предназначенную для удержания жидкости в левой части тепловой трубы при обратном направлении теплового потока. Работа диода сводится к следующему. При прямом направлении теплового потока пар из зоны испарения через отверстие в капиллярной перегородке направляется в зону конденсации. Возвращение конденсата в зону испарения происходит как по артерии (основная часть теплоносителя), так и по капиллярной системе, расположенной на стенках тепловой трубы. Избыток конденсата сосредоточивается в сборнике.

Когда направление теплового потока меняется на обратное (см. рис. 5.5,5), весь теплоноситель из сборника конденсата собирается за капиллярной перемычкой, блокируя таким образом поверхность теплообмена. Теплоперенос в такой трубе практически прекращается, так как теплопроводность криогенных жидкостей очень мала. Отверстие для прохода пара h рассчитано таким образом, чтобы при наземных испытаниях капиллярные силы смогли удержать жидкость в левой части тепловой трубы. При работе диода в космических условиях капиллярная перемычка не требуется. Работа теплового диода с неконденсирующимся газом мало чем отличается от работы только что рассмотренного диода. Разница состоит лишь в том, что блокирование поверхности теплообмена в нем производится неконденсирующимся газом, а не жидкостью.

Технологические основы тепловых труб/Ивановский М. Н., Сорокин В. П. Чулков Б. А., Ягодкин И. В. — М.: Атомиздат, 1980.

на главную