МЕТОДЫ ПОДВОДА И ОТВОДА ТЕПЛА

Наряду с общими чертами тепловые трубы, предназначенные для работы на различных температурных уровнях, имеют и значительные различия. Это относится как к конструкциям тепловых труб, характеристикам этих устройств, так и к методам экспериментальных исследований, к конструкциям исследовательских стендов. При проведении экспериментов большое влияние на конструкцию экспериментальной установки обычно оказывает выбранный способ нагрева тепловой трубы и метод отвода тепла.

Применяются следующие основные методы нагрева тепловых труб: радиационный, контактный (кондуктивный), омический (пропусканием тока через стенку трубы), индукционный высокочастотный, электронной бомбардировкой, циркулирующим в контуре теплоносителем, посредством конденсации пара. Наибольшие сложности вызывает нагрев высокотемпературных тепловых труб (особенно при температуре выше 700° С и необходимости обеспечивать высокие удельные тепловые потоки). Коротко охарактеризуем каждый из названных методов применительно к экспериментам с высокотемпературными тепловыми трубами.

При радиационном нагреве использование электропечей на воздухе, как правило, не позволяет получить высокие удельные тепловые потоки в зоне нагрева тепловых труб. В широко распространенных печах с нихромовыми электронагревателями мощности ограничиваются наибольшей допустимой температурой для работы нихрома на воздухе, равной 1100° С. Длительность работы печей при высоких температурах невелика из-за окисления нихрома.

Длительные испытания тепловых труб при температуре до 800—850° С возможны при использовании радиационных электропечей с керамическими нагревательными элементами, например силитовыми стержнями. Высокая рабочая температура этих нагревателей (около 1400° С) и длительная стойкость при работе на воздухе позволяют эффективно использовать их для проведения ресурсных и других испытаний в условиях, когда плотности теплового потока в зоне нагрева умеренные — до 100 Вт/см2. Для создания высокой удельной плотности теплового потока могут быть использованы также кварцевые криптоновые лампы большой мощности — до 10—15 кВт.


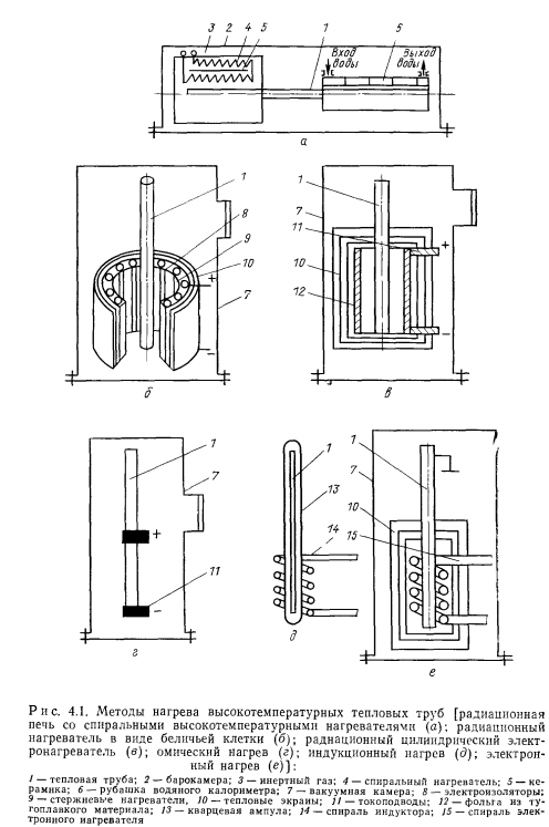
Для нагрева в инертной среде и в вакууме могут быть применены нагреватели из тугоплавких материалов: тантала, молибдена, вольфрама. В зависимости от имеющихся в распоряжении источников питания могут быть применены различные конструкции нагревателей. Укладка спиралей из проволоки в керамическую изоляцию (рис. 4.1, а) позволяет использовать высокое напряжение и иметь малые токи. При изготовлении спиралей из молибденовой и вольфрамовой проволоки необходим предварительный прогрев последней до 200—300° С для обеспечения пластичности (например, посредством протяжки через отверстие в разогретой медной болванке). Нагреватели в виде беличьего колеса (рис. 4.1, б) или нагреватели цилиндрического вида (рис. 4.1, в) требуют невысокого напряжения и больших токов. При проведении экспериментов с ТВТТ необходимо обеспечивать в камерах глубокий вакуум (103 Па и ниже).

Радиационные методы нагрева удобны для экспериментов: печь и тепловая труба являются автономными элементами, кроме того, можно вести наблюдения за тепловой трубой. Однако при этом методе обогрева теплоподвод весьма ограничен, а температуры нагревателей должны существенно превышать температуру тепловой трубы.

При контактном методе электрообогрева температуру нагревателя можно понизить за счет хорошего термического контакта между нагревателем и стенкой трубы. Одним из способов обеспечения термического контакта является создание электроизоляции, а иногда и самого нагревателя методом вакуумного напыления. В качестве электроизоляции для ТВТТ может служить алунд или окись бериллия, нагревательный элемент можно изготовить из вольфрама или молибдена. При работе с такими нагревателями следует избегать термокачек — вследствие различия в коэффициентах термического расширения и температуропроводности при резком изменении температур возможно растрескивание электроизолятора и нагревателя.

Омический нагрев посредством пропускания тока по стенке трубы (рис. 4.1, г) удобен для труб с длинной нагреваемой зоной и малыми толщинами стенки трубы и фитиля. При таком нагреве требуются большие токи при невысоком электрическом напряжении. Этот метод успешно используется в экспериментах как с ВТТ, так и с ТВТТ. Однако он требует громоздкого, хотя и несложного, электрооборудования; кроме того, тепловыделение в жидком металле, заполняющем фитиль, не всегда допустимо по условиям опытов.

Индукционный нагрев (рис. 4.1,5) основан на использовании токов, которые индуцируются в стенке тепловой трубы магнитным полем, изменяющимся с высокой частотой (диапазон используемых частот составляет 50—500 кГц). Чем выше частота, тем нагрев является более поверхностным — токи проникают в стенку трубы на меньшие толщины. Чем выше частоты, тем выше требования к экранированию индукционной установки для защиты радио- и телевизионной сети от помех, а также от воздействия высоких частот на организм человека. Высокочастотный нагрев удобен для испытаний тепловых труб в вакууме. Для этого трубы помещают в ампулы из кварцевого стекла, пространство в них вакуумируют и ампулы запаивают. Конец ампулы с тепловой трубой помещают в индуктор печи.

Электронный нагрев (рис. 4.1, е) основан на подводе энергии за счет бомбардировки трубы электронами, которые эмиттируют- ся нагретым телом (например, вольфрамовой спиралью) и ускоряются в сильном электрическом поле (напряжением несколько киловольт). Для такого способа нагрева необходимо обеспечивать вакуум 10-1—10~2 Па. Отметим, что при наличии хотя бы слабой диффузии щелочного металла через стенку трубы (например, литиевой тепловой трубы) возможно возникновение дугового разряда в паре щелочного металла и пережог трубы.

Нагрев циркулирующим в контуре теплоносителем или конденсирующимся паром предотвращает пережог тепловой трубы при осушении фитиля в зоне нагрева. Эти способы нагрева позволяют осуществлять интенсивный теплоподвод, но уровень рабочих температур при этом оказывается сильно ограничен, а экспериментальные установки громоздки и сложны. Интенсивный обогрев, т. е. обеспечение теплоподвода большой мощности или высоких удельных тепловых потоков, возможен вследствие использования вспомогательной тепловой трубы или паровой камеры. Свойство трансформации тепловых потоков при этом позволяет разместить нагреватели на больших поверхностях.


Ориентировочные сведения о применимости различных методов нагрева при проведении экспериментов с высокотемпературными тепловыми трубами сведены в табл. 4.1.

Для низкотемпературных тепловых труб, как правило, проблем с организацией нагрева не возникает. Часто используются медные блоки для того, чтобы сделать более равномерным подвод тепла к стенкам трубы.

Обратимся далее к методам отвода тепла от тепловых труб в экспериментальных установках. Наиболее часто используют следующие методы отвода тепла или их сочетание: 1) радиационный; 2) кондуктивный — через прослойку низкотеплопроводного материала; 3) через газовый зазор; 4) циркулирующим теплоносителем; 5) посредством испарения.

Трудности может создавать необходимость произвольного регулирования теплоотвода, а также строгого калориметрирования отводимого тепла. При высоких температурах наиболее часто применяется теплоотвод через газовый зазор к водяному калориметру. Ухудшение вакуума в газовом зазоре (в той области давлений, где теплопроводность газа изменяется с изменением его давления), замена газов с различной теплопроводностью (аргона, гелия, водорода), а также смешение газов в различных концентрациях дает возможность изменять теплоотвод в широких пределах.

При исследовании тепловых труб часто необходимо изучить следующее: 1) максимальный теплоперенос и удельные тепловые потоки в стационарных условиях работы; 2) распределение температур вдоль тепловой трубы в стационарных условиях, термические сопротивления; 3) динамические характеристики: возможность пуска, время выхода на заданный тепловой режим и другие; 4) влияние гравитационных и других (например, электромагнитных) сил на характеристики тепловой трубы; 5) ресурс работы.

Решение каждой из перечисленных задач, как правило, требует своеобразного экспериментального подхода. Ниже при рассмотрении характеристик, полученных при исследованиях тепловых труб на различные температурные уровни, будут приведены типичные схемы экспериментальных установок, отмечены их преимущества и недостатки.

Технологические основы тепловых труб/Ивановский М. Н., Сорокин В. П. Чулков Б. А., Ягодкин И. В. — М.: Атомиздат, 1980.

на главную