ЛИТЕЙНЫЙ ДВОР

Литейный двор предназначен для размещения желобов, по которым чугун и шлак направляют из доменной печи в ковши чугуно и шлаковозов либо непосредственно к агрегатам придоменной грануляции шлака На площадке литейного двора размещают машины и устройства для обслуживания чугунных и шлаковых леток, желобов, фурменных приборов и пр , пульты управления механизмами, а также закрома для песка, глины и огнеупорных масс Конфигурация (в плане) литейного двора определяется количеством и расположением чугунных и шлаковых леток и желобов, типом, количеством и расположением мостовых кранов для обслуживания литейного двора

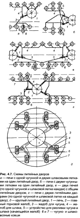
Планировка литейных дворов (рис 4 7) Наиболее распространены в доменном производстве бывшего СССР доменные печи с одним литейным двором с одной чугунной и одной (двумя) шлаковыми летками Главный желоб располагается по оси литейного двора, продукты плавки по стационарным желобам транспортируются в ковши, установленные на железнодорожных путях, проложенных вдоль литейного двора Как правило, чугун и шлак направляются в ковши посредством качающихся желобов

В последнее время ряд доменных печей оборудован второй чугунной леткой, что связано с ростом интенсивности доменной плавки и необходимостью увеличения количества выпусков чугуна и шлака Устройство второй чугунной летки на одном литейном дворе позволяет увеличить число выпусков в сутки до 12—14, увеличить время на обслуживание каждой летки и в ряде случаев исключить необходимость выпуска «верхнего» шлака через шлаковые летки и трудоемких ремонтов шлаковых желобов и футляра шлаковой летки, смены шлакового прибора Однако устройство двух леток на одном литейном дворе целесообразно только для доменных печей, где нет возможности соорудить второй литейный двор Ряд доменных печей полезным объемом > 2000 м3 с двумя прямоугольными дворами оборудован двумя и тремя чугунными летками Доменные печи объемом > 3200 м3 с четырьмя чугунными летками имеют литейные дворы круглой планировки

Одно из основных требований .при разработке объемнопланировочных решений — уменьшение ручного труда за счет использования самоходных машин и механизмов и новых грузоподъемных средств, установки рациональных профилей желобов.


Сокращению доли ручного труда на литейных дворах способствует установка взамен поворотных качающихся (рис. 4.8) желобов для разливки чугуна и шлака, позволяющая в пятьшесть раз (до 300 выпусков) увеличить стойкость футеровки ванны, исключить разбрызгивание и потери продуктов плавки, сократить длину стационарных желобов, снизить объем трудоемких работ, связанных с ремонтом желобов, уборкой постановочных железнодорожных путей, очисткой корпуса ковшей и лафетов от скрапа и мусора

Оборудование для обслуживания чугунных леток

Надежная работа этого оборудования — непременное условие высокопроизводительной работы доменной печи, соблюдения графиков плавок, сокращения трудоемких работ по обслуживанию футляра чугунной летки, главных и стационарных желобов, уборке рабочих площадок.

Повышенное давление газа на колошнике, увеличение выпусков чугуна и шлака предъявляют повышенные требования к качеству леточных масс, используемых для забивки чугунных леток.

Неточная масса должна быть пластичной, затвердевать при нагреве и выделять влагу, давать незначительную усадку при высыхании, обладать достаточной огнеупорностью, быть химически нейтральной к действию шлаков, износостойкой и прочной в сухом и раскаленном состоянии. Таким требованиям удовлетворяют безводные леточные массы. Применение новых желобных масс совмещается с обеспечением укрытия желобов и отсосом газов, выделяющихся при выпуске продуктов плавки.

Для забивки чугунных леток используются электрические пушки, одна из моделей которых приведена на рис. 4.9. Следует иметь в виду переход на гидравлический привод со значительно меньшими габаритами.

Техническая характеристика электропушки Э5050 для печей объемом 2000 и 2700 м3:

Повышенные требования, предъявляемые к качеству леточных масс, необходимость размещения оборудования под площадкой фурменной зоны обусловили характер требований, предъявляемых к конструкции машин для вскрытия чугунных леток. Одна из моделей машин для вскрытия чугунных леток и для разделки леточного футляра доменной печи приведена на рис. 4.10 Не электрические пушки, одна из моделей которых приведена на рис. 4.9. Следует иметь в виду переход на гидравлический привод со значительно меньшими габаритами.

Техническая характеристика электропушки Э5050 для печей объемом 2000 и 2700 м3:

Повышенные требования, предъявляемые к качеству леточных масс, необходимость размещения оборудования под площадкой фурменной зоны обусловили характер требований, предъявляемых к конструкции машин для вскрытия чугунных леток. Одна из моделей машин для вскрытия чугунных леток и для разделки леточного футляра доменной печи приведена на рис. 4.10 Не значительная высота машины позволяет установить ее под площадкой для обслуживания фурменной зоны Техническая характеристика

В. А. Авдеев, В. М. Друян, Б. И. Кудрин, Основы проектирования металлургических заводов, М., 2002

на главную