ДВУХЗОННЫЕ СИСТЕМЫ ГОРЯЧЕГО ВОДОСНАБЖЕНИЯ

В отечественной практике принято в зданиях высотой более 16 этажей системы горячего водоснабжения разделять на зоны по вертикали. Это обусловлено тем, что при большей этажности здания статическое давление воды на нижних этажах превышает допустимые пределы (максимальным рабочим давлением для водоразборной арматуры считается давление 600 кПа). Двухзонные системы конструктивно несколько сложнее однозонных, поэтому, когда в Москве появились здания высотой 17 этажей (на базе 16-этажных), проектировщики, исходя из величины допустимого рабочего давления, запроектировали систему горячего водоснабжения. Такое конструктивное решение, которое заставляет работать систему на грани допустимого давления, нельзя считать рациональным. Это тем более справедливо, что в СНиП 2.04.01-85 «Внутренний водопровод и канализация зданий» холодный водопровод необходимо зонировать в зданиях 12 этажей и выше.

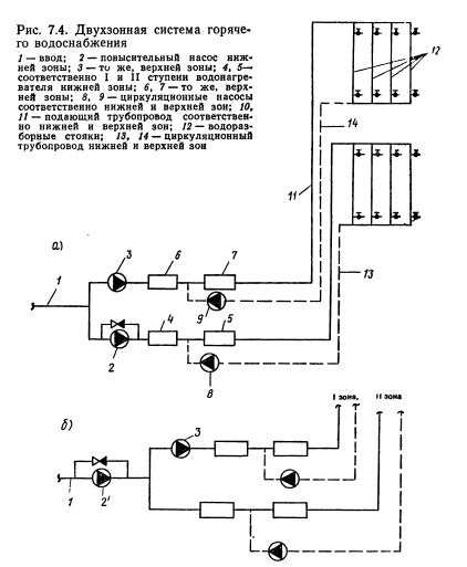
Каждая зона двухзонной системы горячего водоснабжения, как правило, представляет собой самостоятельную систему со своими водонагревательными установками и насосами. При строительстве высотных зданий в Москве в 50-е годы каждая зона оборудовалась также и своим баком-аккумулятором. В дальнейшем отказались от баков-аккумуляторов, и системы горячего водоснабжения стали проектировать с постоянно работающими насосами верхней зоны (рис. 7.4, а). Некоторым усовершенствованием этой схемы явилось устройство общего повысительного насоса (2 на рис. 7.4,6), который является повысительным для нижней зоны и первой ступенью для второй зоны. Это позволило повысительный насос 3 верхней зоны проектировать со значительно меньшим напором, чем в схеме рис. 7.4, а.

В двухзонных системах горячего водоснабжения типа представленной на рис. 7.4 возникают трудности в подборе циркуляционных насосов верхних зон, когда в циркуляционной линии поддерживается высокое давление, которое требует применения в насосном оборудовании специальных сальниковых уплотнителей. Более совершенной является схема двухзонной системы горячего водоснабжения, в которой приготовление горячей воды производится в общей водонагревательной установке, а повысительный насос верхней зоны одновременно выполняет и функции циркуляционного (рис. 7.5). В этом случае циркуляционный стояк верхней зоны 9 выбирают такого диаметра, чтобы при расчетном циркуляционном расходе верхней зоны потери напора в нем были примерно равны разности геометрических высот верхней и нижней зон системы. Это предотвращает опрокидывание циркуляции в нижней зоне системы, так как давление воды в циркуляционных трубопроводах верхней и нижней зон в точке их соединения (точка А) становятся равными. Преимуществами этой схемы перед предыдущей является также сравнительно низкое давление воды в водонагревателе, меньшее число единиц тепломеханического оборудования и более высокий коэффициент его использования. Циркуляционно-повысительный насос верхней зоны 5 системы выбирается на расчетный мгновенный водоразбор верхней зоны и напор, равный сумме потерь напора в главном стояке верхней зоны и разности геометрических высот верхней и нижней зон системы. Циркуляционный насос нижней зоны 6 подбирается по производительности, равной сумме расчетных циркуляционных расходов верхней и нижней зон и минимальный напор.



Для двухзонных систем горячего водоснабжения могут быть применены схемы с естественной циркуляцией воды в верхней зоны (рис. 7.6), в которых для обеспечения циркуляционного режима используются догреватели теплообменники (7, 9 на рис. 7.6, а) или баки-аккумуляторы тепла (13 на рис. 7.6,6). Применение последней схемы позволяет производить присоединение двухзонных систем к однозонным квартальным сетям горячего водоснабжения. При этом повысительный насос 2 (рис. 7.6, 6) устанавливается в подвале здания или в отдельно стоящем здании насосной. Эта схема позволяет в помещении насосной станции не устанавливать водонагреватели и не подводить к ним теплосеть.


Бак-аккумулятор в этой схеме необходимо проектировать в подвале здания, так как при естественной циркуляции следует стремиться к максимальному уменьшению сопротивлений в циркуляционном кольце. Емкость бака- аккумулятора выбирается из расчета создания в нем запаса тепла, необходимого для возмещения теплопотерь в стояках во время ночного перерыва в водоразборе. Аккумуляция тепла происходит в период активного водоразбора. Бак рассчитывают таким образом, чтобы к моменту начала водоразбора в нем оставался примерно 10 %-ный запас воды с нормативной температурой (около 60 °С). При первых водоразборах, пока используется существующий в баке запас воды с высокой температурой, в емкость поступает горячая вода непосредственно от водонагревателя, за счет чего температура воды в нем восстанавливается до необходимого уровня.

Недостатком этой схемы является необходимость постоянной работы повысительного насоса 2, так как наличие малейших утечек воды из системы не позволяет остановить насос даже в ночное время.

Кроме того, бак-аккумулятор, устанавливаемый в подвале здания, неудобен при необходимости его замены, так как больших проемов в стенах подвала, как правило, не делают, а сваривать бак-аккумулятор на повышенные давления воды в подвале нерационально. Поэтому более привлекательными представляются схемы с водонагревателями, использующими воду, циркулирующую в одной зоне, в качестве греющей для воды, циркулирующей в другой зоне. Варианты применения таких систем показаны на рис. 7.7.

Если ЦТП и квартальная сеть обслуживает только высотные здания, может быть применена система, показанная на рис. 7.7, а К Снабжение горячей водой верхней и нижней зон производится от одного подающего 1 и одного циркуляционного 2 трубопроводов квартальной сети. Подача воды в нижнюю зону производится по главному стояку 3 через регулятор давления 4, понижающий давление воды до необходимого для нижней зоны. Подача горячей воды в верхнюю зону производится по главному стояку 5, причем вода сначала проходит через теплообменник 9 (скоростной водонагреватель). При отсутствии водоразбора вода циркулирует через верхнюю зону и поступает в циркуляционную магистраль 2 квартальной сети. В нижней зоне под действием гравитационного напора вода из водоразборных стояков 6 по циркуляционному трубопроводу 8 поступает в водонагреватель 9, где подогревается водой, циркулирующей в верхней зоне.

Эта схема была осуществлена в системе горячего водоснабжения одного из 22-этажных жилых домов в Москве. В первоначальном варианте нижняя зона системы имела бак-аккумулятор горячей воды. Однако из-за низкого качества тепловой изоляции водоразборных стояков запас тепла в баке срабатывался значительно быстрее и в утренние часы жителям приходилось до получения горячей воды сливать весь объем остывшей воды в баке (емкость бака 1250 л). После установки водонагревателя по схеме (рис. 7.7, а) жалобы на низкую температуру горячей воды прекратились. Однако эта схема имеет существенный недостаток — при отсутствии водоразбора регулятор давления 4 может пропускать полное давление верхней зоны в нижнюю. В моменты активного водоразбора теплообмена в водонагревателе не происходит.

Недостатком этой схемы является также сравнительно небольшой гравитационный напор, под действием которого происходит циркуляция воды в нижней зоне. Из- за этого монтаж системы следует производить особенно тщательно, так как наличие каких-либо неучтенных сопротивлений в трубопроводах сокращает циркуляцию в системе и может привести к большому охлаждению воды.

Более рациональна для применения схема системы, показанная на рис. 7.7,6. В ней использован тот же принцип нагрева циркулирующей воды, но гравитационная циркуляция осуществляется через верхнюю зону. В нижней зоне вода циркулирует под действием циркуляционного насоса, в ЦТП или ИТП. В этой схеме необходима прокладка двух подающих трубопроводов от ЦТП (ИТП) до зданий, так как установка повысительного насоса 10 в каждом здании нерациональна.

Наиболее совершенной представляется система этого типа, показанная на рис. 7.7, в К Эта система предназначена для применения в зданиях с ИТП. Повысительный насос верхней зоны 10 является одновременно и циркуляционным. Для сокращения объема циркуляции на циркуляционном трубопроводе 7 устанавливается участок повышенного сопротивления либо диафрагма. В ночные периоды циркуляционно-повысительный насос 10 может быть выключен и в верхней зоне будет осуществляться естественная циркуляция, причем циркуляционный расход из теплообменника 9 будет проходить по обводному трубопроводу 13 через обратный клапан-ограничитель расхода 12 .

Обычно подъемный обратный клапан устанавливается таким образом, чтобы поток воды поступал под золотник, поднимая его (рис. 7.8). Но для системы с естественной циркуляцией воды такой обратный клапан является большим сопротивлением. Чтобы избежать этого, обратный клапан надо установить «вниз головой», т. е., чтобы золотник его был не сверху, а снизу (рис. 7.8,б, в). При выключении циркуляционно-повысительного насоса 10 (см. рис. 7.7, в) золотник ограничителя под собственным весом упадет вниз и полностью откроет проход циркуляционному расходу (рис. 7.7,6). При включении насоса 10 через трубопровод 13 и ограничитель в первый же момент пойдет значительный расход воды в обратном направлении. Этот поток (qHас на рис. 7.8, в) имеет большую подъемную силу, и золотник под действием этой силы захлопнется, перекрыв отверстие. Пока будет работать насос 10, ограничитель 12 будет закрыт и циркуляция в верхней зоне будет проходить через трубопровод 7 и сопротивление 11 (см. рис. 7.7,в).


Для того чтобы компенсировать некоторые утечки воды в ночной период, на чердаке здания устанавливается емкость 13, которая может быть выполнена в виде наклонного трубопровода диаметром 200—300 мм. К верхней части емкости 13 приваривается воздушная трубка с таким же обратным клапаном-ограничителем расхода 12. Если в результате утечек давление воды в системе упадет, ограничитель 12 откроется, пропуская в емкость воздух. Устройство 12 на емкости 13 может быть диаметром 15 мм, что вполне достаточно для пропуска воздуха.


Срабатывание ограничителя (т. е. захлопывание обратного клапана) диаметром 15 мм происходит при расходе менее 0,2 л/с. При этом через обратный клапан успеет пройти менее 0,5 л воды. Включение насоса 10 может осуществляться по команде сигнализатора давления СДУ, применяемого в системах пожаротушения, или реле уровня 15, установленного в нижней части емкости 13.

Ограничители расхода — обратные клапаны, перевернутые «вниз головой», имеют по данным натурных замеров следующие величины критических расходов, при которых происходит их срабатывание:


Следует заметить, что при диаметрах 40, 50 мм срабатывание ограничителей происходит с сильным гидравлическим ударом, поэтому выбирать для работы в качестве ограничителей обратные клапаны диаметром больше, чем 32 мм, не следует.

Интересно решена система горячего водоснабжения 22-этажной гостиницы «Салют» в Москве, обслуживающей 2020 номеров.

В этой системе (рис. 7.9) обе зоны обслуживаются общей водонагревательной установкой. На выходе из водонагревателя подающий трубопровод разделяется на три ветви:

ветвь А обслуживает так называемую нулевую зону, в которую входят ресторан, кафе, бассейн, бани, административные и другие помещения; ветвь А — тупиковая, так как при больших сосредоточенных расходах допустимо не проектировать циркуляцию воды;


ветвь, обслуживающая нижнюю зону системы (направление 3—7 на рис. 7.9),

ветвь, обслуживающая верхнюю зону системы, на которой установлен повысительно-циркуляционный насос 4.


Циркуляционные стояки обеих зон системы присоединены к элеватору следующим образом: к соплу присоединяется стояк верхней, а к расширительной камере — нижней зоны системы.1 За счет гашения избыточного напора верхней зоны элеватор создает в нижней зоне системы перепад давлений, под действием которого в ней происходит циркуляция воды. Этот перепад по величине сравнительно невелик, поэтому для поддержания циркуляции воды и при водоразборе, когда в водонагревателе и подающем трубопроводе нижней зоны увеличиваются потери напора, подающий и циркуляционный трубопроводы системы соединяются трубопроводом-перемычкой. В системе горячего водоснабжения гостиницы был установлен один общий элеватор в тепловом пункте, обслуживающий одновременно четыре секционных узла. Значительный объем системы потребовал установки элеватора № 5 с соплом диаметром dc= 15 мм.


Результаты замера расходов воды в циркуляционных трубопроводах верхней и нижней зон показаны на рис. 7.10, а, б; из них видно, что циркуляционный расход в верхней зоне сравнительно мало изменяется по часам суток, т. е. водоразборный расход оказывает на него незначительное влияние. В нижней зоне циркуляционный расход колеблется в очень широком диапазоне. По данным - измерения температур эти колебания не оказывают влияния на качество горячего водоснабжения в нижней зоне.

В этом, по-видимому, сказывается значительная тепловая инерционность системы.

При открытии перемычки на водонагревателе (трубопровод на рис. 7.9) циркуляционный расход в нижней зоне увеличивается в среднем на 26% (рис. 7.10, а) по сравнению с расходом при закрытой перемычке (рис. 7.10,6). Для удобства сравнения на графиках проведены средние линии расхода в нижней зоне. Несколько увеличивается при этом и циркуляция по верхней зоне системы. Система по приведенной схеме эксплуатируется с 1983 года без каких-либо осложнений, что показало ее эксплуатационную надежность.

В высотных жилых и общественных зданиях наиболее рационально устанавливать индивидуальные элеваторы в каждой секции. Это позволит применять элеваторы малых номеров и значительно улучшить циркуляцию воды в нижних зонах систем. Главный стояк нижней и циркуляционный верхней зоны следует присоединять к соответствующим кольцующим перемычкам таким образом, чтобы по обе стороны от точек присоединения располагалось примерно равное число водоразборных стояков. При этом допускается на этаже разрыва системы на зоны устанавливать запорную арматуру, позволяющую отключать группы водоразборных стояков, располагающихся по одну сторону от точки присоединения главного или циркуляционного стояка. На водоразборных стояках запорная арматура на этаже разрыва на зоны не устанавливается.

Расчет элеватора для системы горячего водоснабжения производится на циркуляционный режим из условия поддержания в системе расчетных циркуляционных расходов в нижней q\ir и верхней qc2ir зонах.

Диаметр горловины элеватора определяется из выражения


Величина А определяется по графику на рис. 7.11 в зависимости от номера элеватора и величины м= —qfr/qf — отношения расчетных циркуляционных расходов в нижней и верхней зонах системы горячего водоснабжения. Одновременно по этому же графику определяется величина АРэ/АРр, с помощью которой по формуле (7.10) вычисляется оптимальное сопротивление секционного узла верхней зоны:


Повышение эффективности работы систем горячего водоснабжения/И. Н. Чистяков, М. М. Грудзинский, В. И. Ливчак и др. — 2-е изд., перераб. и доп. — М.: Стройиздат, 1988

на главную