Сооружения, расположенные на трассе подводящих и отводящих туннелей

На трассе подводящих и отводящих туннелей ГЭС в общем слу чае могут быть расположены следующие сооружения: водоприемники, камеры (шахты) затворов, узлы пересечения тектонически разломов, уравнительные резервуары, напорные бассейны, развевления напорных водоводов, коллекторы отсасывающих уравнительные резервуары на напорных отводящих туннелях, сопряжения с водосбросными туннелями, узлы пересечения отводящими туннелями активных тектонических разломов, сооружения на участках перехода водоводов через русла рек, выходные порталы (оголовки).

На рис. 2.22 показаны водопрозодящие сооружения Рогунской ГЭС.

Сооружения, расположенные по трассе подводящих туннелей. Водоприемники ГЭС подразделяются на два основных типа: безнапорные и напорные. Безнапорные водоприемники применяются, как правило, на ГЭС, водохранилища которых не осуществляют длительного регулирования речного стока и уровень их верхних бьефов во время работы ГЭС изменяется очень незначительно. Преимущественное распространение такие водоприемники получили на деривационных ГЭС с низконапорными головными узлами и безнапорными подводящими туннелями. Напорные водоприемники применяются обычно при существенных изменениях уровней воды в верхнем бьефе (от НПУ до УМО).

На рис. 2.23 показаны типы напорных водоприемников. В практике встречается много примеров, когда напорные водоприемники располагаются на 50-80 и даже более 100 м ниже НПУ. В схемах ГЭС с глубокими регулирующими водохранилищами напорные водоприемники применяются, как правило, в сочетании с напорными подводящими туннелями или турбинными водоводами ГЭС. Напорные водоприемники подразделяются на башенные и береговые (с шахтой или подземным помещением для затворов).

Башенные водоприемники выполняются в виде отдельно стоящей конструкции с водоприемными отверстиями, расположенными по всему периметру башни или его части. Башенные водоприемники могут быть затопленными при НПУ; попадание на них в этом случае возможно по бремсбергу после сработки водохранилища.

Береговые водоприемники представляют собой входной конфузорный участок водовода; затворы размещаются в шахте или специальном подземном помещении, расположенных вблизи от входного оголовка.

Для предотвращения попадания в водоводы плавающих тел, льда и мусора на водоприемниках предусматривают сороудерживающие решетки.

В целях недопущения подсоса воздуха в водоводы, образования воронок и снижения потерь напора на сороудерживающих решетках размеры водоприемных отверстий на водоприемниках ГЭС в несколько раз превышают размеры водоводов. Сопряжение входного отверстия и водовода выполняется на сравнительно коротком участке путем плавного сужения. При движении воды такое сужение ведет к увеличению скоростей воды, однако за счет конфузорности этого участка потери напора незначительны.


Решетки на водоприемниках могут быть очищаемыми и неочищаемыми. При очищаемых решетках в водоприемниках скорость воды перед решетками назначаются до 1,2 м/с при слабозасоренном водотоке и до 1 м/с при сильнозасоренном водотоке. Указанные скорости определяются по расчетной пропускной способности турбин. Для малозасоренных водохранилищ с глубинными водоприемниками, очистка решеток которых затруднена, следует рассматривать целесообразность устройства неочищаемых решеток. Скорость воды перед такими решетками не должна превышать 0,4 м/с. Расстояние между стержнями решеток принимается в пределах 60-200 мм в зависимости от типоразмера гидротурбины и других факторов. Для решеток на безнапорных водоприемниках должны быть предусмотрены обогревательные устройства для защиты обмерзания и забивки шугой. При большом количестве сора в водохранилище в целях предотвращения засорения решеток и повреждения затворов рекомендуется устройство траловых приспособлений, потокообразователей и запаней.

Затворы водоприемников. В водоприемниках обычно устанавливаются аварийно-ремонтные затворы. Ремонтные затворы располагаются перед аварийно-ремонтными; их подъем и опускание производятся в неподвижной воде. Под их прикрытием осуществляются осмотр и ремонт аварийно-ремонтных затворов. В ряде случаев пазы решеток и ремонтных затворов могут быть совмещены.

Аэрационные трубы. Для подачи воздуха в напорные водоводы при их опорожнении или при аварийном закрытии затворов с целью исключения образования в водоводах недопустимого вакуума на водоприемниках предусматриваются аэрационные трубы или шахты, располагаемые за аварийно-ремонтными затворами. При заполнении водоводов через эти трубы воздух отводится в атмосферу. Размеры аэрационных труб определяются расчетом. Они могут использоваться также в качестве лазов в опорожненные водоводы и для размещения задвижек на обводных трубах.

Обводные трубы (байпасы). Для заполнения опорожненных водоводов водой при закрытых затворах водоприемника и направляющих аппаратах турбин в водоприемниках устраиваются обводные трубы с задвижками.

Шахты (подземные помещения) водоприемников. Иногда размещение всего оборудования водоприемника (особенно берегового типа) в одной конструкции оказывается неэкономичным, например при больших колебаниях уровня воды при пологих или очень высоких и крупных склонах берегов водохранилища. В этих случаях затворы размещаются в шахтах или подземных помещениях. На береговом откосе по такой схеме устраивается баш- ня (рис. 2.23) или входной конфузорный участок водовода, оборудованные решетками. Затворы же размещаются в специальном подземном помещении, которые относительно коротким напорным туннелем соединяются с водоприемной частью сооружения. Такие конструкции применяются при наличии прочных скальных грунтов.

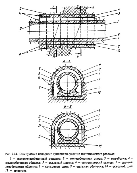
Конструкция напорного туннеля на участке активного тектонического разлома. В случае, если напорный туннель пересекает активный тектонический разлом и по условиям компоновки гидроузла альтернативный вариант отсутствует, можно применить конструкцию туннеля, показанную на рис. 2.24. Водовод выполняется в виде свободного сталежелезобетонного трубопровода, расположенного на опорах в выработке, закрепленной железобетонной обделкой. В торцах выработки трубопровод заделывается в сохранный скальный массив. Сталежелезобетонные обделки водовода совместно с опорами разрезаны кольцевыми швами, заполненными пластичным материалом.

Открытые переходы туннелей устраиваются при пересечении местных понижений рельефа (рек, ущелий и т.п.). По трассе деривационного туннеля Ингурской ГЭС имеются два открытых перехода: первый через р. Олори - сталежелезобетонный трубопровод длиной 212 м, диаметром 7 м, смонтированный на трехпролетном железобетонном мосту, толщина стальной оболочки 32 мм, железобетонной обоймы 700 мм; второй через р. Эрисцкали - сталежелезобетонный трубопровод длиной 92 м, диаметром 7 м, расположенный на однопролетном мостовом переходе, толщина стальной оболочки 40 мм, железобетонной обоймы 700 мм.

Уравнительные резервуары могут быть разделены на четыре типа: цилиндрические (с постоянным поперечным сечением или с дополнительным сопротивлением), камерные, дифференциальные, пневматические и полупневматические.

Камерный уравнительный резервуар, например, запроектирован на Миатлинской ГЭС, в состав которой входят деривационный туннель длиной 1700 м, площадью сечения 99 м2 с комплексом выработок уравнительного резервуара, два подземных турбинных водорода длиной 134 м каждый и площадью сечения в свету 45 м2.

В первоначальном проектном решении комплекс выработок уравнительного резервуара состоял из шахты диаметром в свету 25 и Шубиной 75 м, трех верхних подземных камер площадью сечения более 100 м2 и общей длиной 350 м. В уравнительной шахте на участке примыкания двух турбинных водоводов располагались основные затворы. Участок размещения уравнительного резервуара еловой известняками верхнего мелового периода.

В уточненном проекте комплекс выработок уравнительного резервуара имеет шахту, четыре компенсационные камеры, соединенные между собой аэрационно-компенсационной выработкой. Взаимное расположение камер и аэрационно-компенсационной выработки дает возможность иметь траснпортные подходы на каждом восьмиметровом ярусе шахты на высоте от устья шахты до отметки 40 м. Для сооружения нижней части шахты используется спиральная подходная выработка, которая ликвидируется после окончания строительства шахты.

На ГЭС Дехар (Индия) построен дифференциальный уравнительный резервуар в конце деривационного туннеля длиной 12,23 км и диаметром 8,53 м.

Уравнительный резервуар включает шахту высотой 130 и диаметром 22,86 и стояк диаметром 7,62 м. От резервуара отходят три напорных водовода ГЭС диаметром 4,86 м. Резервуар соединен с р. Сатледж обводным туннелем диаметром 6,71 м, вода из которого сбрасывается в реку по быстротоку. Объем воды, содержащейся в этом туннеле, учитывается при расчете минимального уровня воды в резервуаре. Площадь входных сечений в шахту принята равной 11,7м2. В верхней части стояка уравнительного резервуара устроена расширительная камера, исключающая возможность перелива воды в шахту. Диаметр шахты был определен из условия устойчивости работы уравнительного резервуара. Конструкции резервуара выполнены железобетонными. Днище шахты представляет собой плиту толщиной 2,1 м, забетонированную вместе с примыкающими участками стен шахты и стояка. Входные отверстия днища имеют стальную облицовку. Обделка шахты имеет толщину 0,76 м от верха до статического уровня 838,2 м, а далее увеличивается на 152,5 мм на каждые 15,25 м глубины. Учитывая, что насыщение водой опасно для склона, сложенного трещиноватыми доломитами в районе с высокой сейсмичностью, со стороны склона и под уравнительным резервуаром предусмотрен дренаж.

Уравнительный резервуар на подводящем туннеле Ингурской ГЭС выполнен в виде шахты диаметром в свету 20 м. Высота резервуара составляет 176,2 м, из которых участок высотой 9 м расположен над поверхностью земли. Шахта размещается в крепких слаботрещиноватых известняках и закреплена монолитной бетонной обделкой толщиной 0,9 м со стальной оболочкой толщиной 25 мм, предназначенной для предупреждения фильтрации воды из шахты и обводнения склона. С деривационным туннелем шахта соединена коническим переходом, диаметр которого изменяется от 20 до 9,5 м.

Напорные бассейны входят, как правило, в состав станционных узлов с безнапорными деривациями и располагаются в конце последних. Иногда при небольших колебаниях уровня воды верхнего бьефа в головном узле и благоприятных геологических и топографических условиях напорные бассейны могут устраиваться также в конце низконапорных подводящих туннелей» Назначение напорных бассейнов состоит в сопряжении безнапорной (низконапорной) деривации с турбинными напорными водоводами. В напорных бассейнах необходимо предусматривать сброс избытков поступающей воды при изменении режима работы турбин в аварийных случаях, а также при необходимости производить санитарные пуски или подачу необходимых расходов воды для нижележащих водопользователей при остановке ГЭС.

Разветвления напорных турбинных водоводов. Наиболее сложными элементами напорных подземных водоводов являются разветвления (развилки), применяемые в деривационных схемах ГЭС с групповым питанием турбин.

Развилки турбинных водоводов имеют разнообразные геометрические формы и выполняются стальными. Они могут иметь различное число ответвлений (отводов), различное их расположение (симметричное и несимметричное). По расположению отводов они подразделяются на плоские (все элементы развилки находятся в одной плоскости) и пространственные (оси элементов развилки находятся в разных плоскостях). В зависимости от схемы присоединения ответвления к образующей основной части развилки они йод- разделяются на конические и цилиндрические. Конические развилки сложнее в изготовлении, но обладают лучшими гидравлическими характеристиками.

В связи с тем что в местах ответвлений в оболочках трубопровода возникают большие дополнительные напряжения (вследствие изменения непрерывного кругового сечения оболочки), ответвления, как правило, усиливаются специальными наружными ребрами жесткости - воротниками или внутренними стенками и диафрагмами.

При больших напорах и больших размерах разветвляющихся водоводов создание развилок представляет сложную техническую проблему.

Разветвления подземных напорных водоводов до последнего времени проектировались так же, как и разветвления свободно лежащих трубопроводов, т.е. без учета отпора вмещающего грун тового массива. Неучет отпора объяснялся главным образом отсутствием достаточно убедительной методики расчета.

Так, на Нурекской ГЭС разветвление подводящего водовода агрегатам 1-й очереди было выполнено в виде пространственной вертикальной симметричной конструкции из стали, запроектированной без учета отпора грунта. Устройство тройных пространственных разветвлений сопряжено с выполнением больших монтажных камер над вертикальными коленами водоводов. Однако такое решение было оправдано для водоводов 1-й очереди ГЭС, где к вертикальным участкам турбинных водоьодов подключены отводы от горизонтальной развилки на промежуточном подводящем туннеле агрегатов 1-й очереди.

Разветвления водоводов 2-й очереди, предназначенных для обеспечения подачи воды из двух подводящих туннелей к шести наклонным под углом 45° турбинным водоводам диаметром 6 м с расчетным напором 120 м, запроектированы с учетом отпора грунта. При проектировании разветвления было рассмотрено много вариантов конструкций; до рабочей стадии было доведено два варианта.

Вариант 1 - шаровой тройник. Несущей конструкцией тройника является сферическая оболочка диаметром 16 м, которая изготавливается серийно для газгольдеров объемом 2000 м3. Оболочка из стали 09Г2С толщиной 36 мм состоит из 90 лепестков, изготовленных горячей штамповкой. Сопряжение сферы с трубопроводами усиленно фасонными воротниками. Для снижения потерь напора внутри сферы встраивается обтекатель. По габаритам этот тройник почти в три раза превосходит шаровой тройник, установленный на ГЭС Куробе (Япония). Расчет тройника на внутреннее давление выполнялся без учета отпора грунта.

В ВНИИмонтажспецстрое были проведены исследования напряженного состояния тройника. Модель состояла из сферической оболочки диаметром 3,8 м и четырех патрубков диаметром 1,4 м, расположенных Х-образно под углом 60°. Расчетные и экспериментальные напряжения практически совпали.

По результатам гидравлических исследований, проведенных в НИС Гидропроекта на модели 1:30, определены коэффициенты сопротивления тройника: с обтекателем 0,55, без обтекателя 0,98.

Вариант 2 - конический тройник со стержневыми воротниками. Этот тройник принципиально отличается от всех известных тройское. Его конструкция позволяет передать так называемые неуравновешенные силы, возникающие в местах пересечения оболочек при Действии внутреннего давления на грунт через систему упорных Стержней из арматурной стали. Направление стержней выбирается тСим образом, чтобы оно совпало с направлением равнодействующих сил, приложенных в этой точке к воротнику от оболочек. ТеРжни заделаны в ненарушенные слои грунта, что обеспечивает с°вместную работу стальной конструкции, бетона омоноличивания и грунтового массива. Для стержней, работающих на сжатие, требуется меньше стали, чем для воротников, работающих на сложный изгиб, взамен которых применены стержни.

Тройник (рис. 2.25) образован двумя пересекающимися конусами. Оболочки выполнены из стали 09Г2С толщиной 28-36 мм. Вдоль плоских кривых линий пересечения оболочек установлены листовые воротники относительно малого сечения (36 х 400 мм), которые передают нагрузки от оболочки к стержням. Максимальная расчетная нагрузка на один стержень равна 1500 кН.

Исследования показали, что все гидравлические характеристики этого тройника практически не отличаются от характеристик шарового тройника с обтекателем.

В результате технико-экономического сравнения вариантов тройников было установлено, что применением конических тройников по сравнению с шаровыми дает экономию 2 млн. руб. Экономия достигается в основном за счет уменьшения объемов подземной выломки и бетона.

Опыт проектирования водоводов 2-й очереди Нурекской ГЭС позволил сделать следующие выводы:

для разветвлений подземных водоводов, расположенных на достаточной глубине, рекомендуется применять конструкции тройников со стержневыми воротниками, обеспечивающими совместную работу с вмещающим грунтовым массивом;

шаровые тройники целесообразно применять для разветвлений, расположенных на открытых участках трубопроводов.

При конструировании узлов разветвления необходимо учитывать следующие правила:

с целью уменьшения потерь напора необходимо, чтобы прямолинейные участки между развилкой, коленами и предтурбинными патрубками имели достаточную длину;

разветвления, расположенные на низких отметках, должны отстоять на достаточном расстоянии от выработки машинного зала во избежание потери устойчивости грунтовой стены выработки поя действием нагрузок, передаваемых от конструкции на грунт. Сооружения, расположенные на отводящих туннелях. Коллекторы отсасывающих труб

При значительном удалении здания станции от русла реки с целью уменьшения объема работ и снижения стоимости сооружен отсасывающие трубы объединяют коллектором и отводят воду 110 одному отводящему туннелю. При большом количестве агрегат устраивают несколько отводящих туннелей, каждый из которых отводит воду от двух-трех агрегатов. При косом (относительно здания ГЭС) расположении отводящего туннеля к коллектору можно подсоединить практически любое количество агрегатов. Например, на Рогунской ГЭС каждый из двух отводящих туннелей отводит воду от трех агрегатов; на ГЭС Нечако-Кемано (Канада) - от четырех, на Ингурской ГЭС - от пяти.

На Ингурской ГЭС наклонные отсасывающие трубы на расстоянии 52 м от оси агрегатов переходят в безнапорные туннели сечением 6,0x13,2 м, объединяемые единым коллектором. Длина этих туннелей переменная - от 3,7 (агрегат № 5) до 65,9 м (агрегат № 1). Обделка туннелей бетонная, толщиной 1,0-1,4 м. Коллектор имеет переменное по длине сечение в свету от 7,2 х 13,2 до 11,0 х 13,2 м. Обделка коллектора железобетонная, толщиной 0,7 м. Длина коллектора составляет 106,2 м, уклон дна 0,0019.

Уравнительные резервуары. На отводящих туннелях ГЭС Кабора-Басса (Мозамбик) сооружены низовые уравнительные резервуары шахтного типа высотой 72 м с камерами шириной 21 м и длиной 72 и 76 м, площади сечения соответственно 1500 и 1600 м2,Низовые уравнительные резервуары предусмотрены также на ГЭС Хао- бинь (Вьетнам), Черчилл-Фоллс (Канада) и других.

Узлы сопряжения на отводящих туннелях. При использовании отводящих туннелей в качестве строительных или эксплуатационных водосбросов по их трассе устраивают узлы сопряжения. Например, на Рогунской ГЭС такие узлы сооружаются при примыкании и пересечении строительных и отводящих туннелей.

Обычно кровлю узлов пересечения закрепляют общим бетонным или железобетонным сводом или один из туннелей делают более высоким. Однако при проектировании >злов сопряжения отводящих и строительных туннелей Рогунской ГЭС пролетом по 14 м в свету традиционная конструкция оказалась очень громоздкой. Поэтому была предложена конструкция узла, включающая обделки туннелей, внутри которых по линиям их пересечения заключены несущие арматурные пояса. Арматурные пояса выполнены в виДе пространственного каркаса, ветви которого расположены в стена и своде. При этом в плане сводовые ветви сходятся и соединены л точке пересечения продольных осей туннелей, а стеновые ретв выполнены в виде колонн, расположенных в угловых частях обделок смежных туннелей и в обделке туннеля, имеющей продолен в обе стороны в плоскости, перпендикулярной его оси При конструкции узла существенно упрощается способ.

Конструкция обделки безнапорного туннеля на Участке активного тектонического разлома. При проектировании отводящих туннелей Рогунской ГЭС, пересекающих активный тектонический пазлом, современные относительные подвижки крыльев которого составляют 1,0-1,5 мм/год, была разработана податливая конструкция, способная следовать за деформациями грунтового массива (рис. 2.26). Обделка состоит из жестких несущих железобетонных элементов, выполненных в виде замкнутых колец, отделенных друг от друга плоскими деформационными швами с размещенными в них упругими (например, деревянными) прокладками. На участках пересечения швов расположены арматурные стержни с надетыми на них резиновыми муфтами, которые обеспечивают наряду со швами оптимальною гибкость конструкции в продольном направлении. Кольца могут иметь различную ширину вдоль туннеля. Швы располагаются под переменным углом.

Конструкция отводящих туннелей на участке перехода через русло рек. В отличие от подводящих отводящие туннели часто пересекают русла рек на низких отметках, поэтому осуществить в таких условиях мостовой переход не представляется возможным.

Отводящие туннели Рогунской ГЭС совмещены со строительными туннелями, их трассы проложены через русло р. Вахш с левого берега на правый. На участке перехода туннели запроектированы в виде железобетонных труб, засыпаемых низовой упорной призмой плотины. Для снижения вертикального давления грунта плотины на трубы над ним отсыпается призма неуплотненного материала низовой упорной призмы плотин.

Обделка туннелей на участках мелкого заложения с обеих сторон участка перехода выполнена податливой, что обеспечивает ее защиту от перегрузки при деформации грунтового массива во время отсыпки плотины.

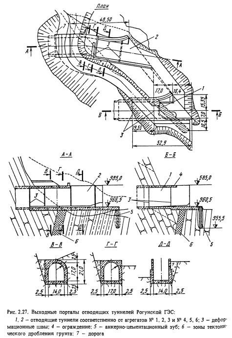
Выходные порталы отводящих туннелей представляют собой относительно несложные конструкции, снабженные пазами и ремонтными ограждениями для отключения туннелей на период их осмотра и ремонта. На рис. 2.27 показан выходной портал отводящих туннелей Рогунской ГЭС. В связи с тем что в первый период эксплуатации туннели используются в качестве строительных водосбросов, в конце порталов предусмотрен анкерно-цементационный зуб, защищающий сооружение от подмыва сбрасываемым потоком воды.

Подземные сооружения гидроэлектростанций. - М.: Энергоатомиздат, 1996.

на главную