Пути совершенствования строительства туннелей

Механизированные способы проходки. Переход на механизированные способы проходки во многом решил бы проблему коренного ускорения строительства гидротехнических туннелей (см. табл. 6.3 и 6.4, рис. 6.1). К недостаткам этих способов, как отмечалось выше, относятся очень большая стоимость оборудования и сложность преодоления комбайнами тектонических зон, в которых породы находятся в неустойчивом состоянии.

Вариантное проектирование, выполненное Ленгидропроектом при участии Гидроспецпроекта, применительно к двум деривационным туннелям Ирганайской ГЭС каждый длиной по 5 км с внутренним диаметром 7,5 м показало следующее: по сравнению с буровзрывным способом проходки применение одного комбайна роторного типа фирмы Роббинс диаметром 8,7 м при средней скорости проходки 200 м/мес позволит сократить срок пуска первых двух агрегатов ГЭС на 3,1 года и вывести станцию на полную проектную мощность на 3,7 года раньше. Кроме того, при комбайновом способе проходки сокращаются затраты на подходные выработки. Эти расчеты легли в основу решения правительства о закупке в США одного комбайна Роббинс диаметром 8,7 м, поставка которого осуществлена в 1989 г.

По данным АФ Гидроспецстрой 1989 г. необходимо иметь не менее 15 различных механизированных щитов или комбайнов диаметром от 4,5 до 9 м. Стоимость зарубежных механизированных щитов и комбайнов составляет от 6 до 12 клн. инв. руб., поэтому их применение в нашей стране практически нереально. Состояние же нашей машиностроительной промышленности и опыт создания отечественного комбайна АФП-1 также не позволяют реально надеяться на изготовление в ближайшее время широкого класса высококачественных надежных механизированных агрегатов для проходки гидротехнических туннелей ГЭС.

Некоторые предложения по этому вопросу разработаны в МИСИ им. В.В. Куйбышева Н.В. Поздеевой и В.М. Мостковым и излагаются ниже.

Выпускаемые в настоящее время в нашей стране серийные или опытные комбайны и механизированные щиты предназначены для разработки пород средней крепости в выработках площадью до 20-30 м2, в то время как из проектируемых туннелей 80% имеют площадь поперечного сечения более 20 м2.

Применение комбайна или механизированного щита обеспечивает более раннее окончание строительства туннеля, срок возведения которого находится на критическом пути сетевого графика, и ускорение пуска ГЭС в эксплуатацию. При этом может оказаться, что получаемый единовременный экономический эффект от дополнительно выработанной электроэнергии может превысить затраты на приобретение самого комбайна, строительные затраты на лишние объемы работ (если комбайн имеет больший диаме в пределах 10-20% по сравнению с оптимальным, вычисленным энергоэкономическими расчетами) или на потери ежегодной выработки электроэнергии (если диаметр комбайна на 10% меньше оптимального диаметра туннеля) в увязке с нормативным сроком окупаемости.

В существующих методиках основным критерием выбора оптимального диаметра туннеля или расчетной скорости течения воды является минимум приведенных расчетных затрат, т.е. 3 = min (см. § 2.1).

На рис. 6.3 в графической форме представлены результаты энергоэкономических расчетов по определению оптимальных диаметров туннелей трех размеров. Как видно из рисунка, изменение оптимального диаметра в сторону его уменьшения или увеличения приводит к возрастанию расчетных затрат. В табл. 6.5 приводится изменение расчетных затрат ЛЗ в зависимости от диаметра туннеля по отношению к расчетным затратам при экономически наивыгоднейшем диаметре с/эк, рассчитанном по методике Гидропроекта.

Из табл. 6.5 (исходные данные к ней здесь не приводятся) следует, что уменьшение с/эк на 10% увеличивает ежегодные затраты при расходах 500-200 м3/с всего на 1,3-1,2%, а при расходах 70 м3/с - на 2,9%. Увеличение же с/эк на 10% приводит к повышению ежегодных затрат на 1,2-1,8%. При увеличении d3K на 20% затраты возрастают на 4-4,3%. Следует отметить, что эти цифры находятся в пределах точности исходных данных.

Изменение расчетного диаметра туннеля имеет смысл, если за счет применения комбайнов ускоряется строительство туннеля и пуск ГЭС в эксплуатацию. При этом, как отмечалось выше, может сократиться срок окупаемости дополнительных капитальных вложений на приобретение комбайна и получится единовременный экономический эффект от выработанной электроэнергии за счет досрочного пуска ГЭС в эксплуатацию. Надо также учесть, что при увеличении диаметра туннеля на 10-20% энергетические характеристики ГЭС (мощность, среднемноголетняя выработка) улучшается и возрастает ежегодная прибыль.

Таким образом, изменение расчетного диаметра туннеля в пределах -10 - +20%, в результате которого ускоряется пуск ГЭС в эксплуатацию, не должно оказать существенного влияния на энергоэкономические характеристики гидроэлектростанции.

Механизированное оборудование эксплуатируется в породах различной прочности. Для каждой прочности пород диапазон диаметров туннелей можно разделить на три группы. Первая группа - это щиты и комбайны наружным диаметром около трех метров (ПК-8М, КЩ-3,2Б), вторая группа - диаметром около 5 метров (Союз-19, КЩ-5,2Б, КТ-1-5,6, АФП-1), третья группа - диаметром 8,5 м (КТ-8,5-2Д). Для крепких пород (более 80 МПа) разработано два комбайна (Союз-19 и АФП-1, который требует существенных доработок).

Рассмотрим внутреннее сечение туннелей, полагая толщину обделки равной 0,2-0,15 м. В диапазоне изменения оптимального диаметра -10 - +20% оказывается, что первая группа машин для пород прочностью менее 80 МПа перекрывает внутренние диаметры туннеля от 2,3 до 3,6 м, вторая группа - от 4,2 до 6,2 м и, наконец, третья группа от 7,8 до 9,3 м. Для крепких пород (более 80 МПа) диапазон работы обоих комбайнов составляет от 3,8 до 6,4 м. Таким образом, туннели, имеющие оптимальные расчетные внутренние диаметры, находящиеся в пределах размеров каждой из этих групп, при указанных выше условиях можно проходить комбайнами или механизированными щитами перечисленных выше типов.

Для пород прочностью до 80 МПа туннели с внутренними диаметрами от 3,6 до 4,2 м и от 6,2 до 7,8 м могут быть пройдены комбайнами или механическими щитами диаметром, обеспечивающим в диапазоне -10+- +20% внутренние диаметры туннелей 3,9 и 6,4 м. Для пород прочностью более 80 МПа - туннели с внутренними диаметрами от 2,9 до 3,8 м, от 6,2 до 7,8 м и от 7,8 до 9,6 м могут быть пройдены комбайнами, обеспечивающими внутренние диаметры туннелей соответственно 3,2; 6,4 и 8,2 м.

Интенсивная технология проходки горным способом. Рассмотрим основные принципы интенсивной технологии строительства туннелейгорным способом на базе лучшего отечественного оборудования или использования отдельных машин, закупленных за рубежом.

Интенсивная технология строительства горных транспортных туннелей. В 1985 г. ЦНИИС Минтрансстроя, Лен- метрогипротрансом и СКТБ Главтоннельметростроя разработаны 45 высокопроизводительных технологических схем сооружения туннелей и штолен.

Технологические схемы сооружения однопутных железнодорожных туннелей в устойчивых породах рассчитаны на проходку сплошным забоем со скоростью 90 м/мес при использовании портальных буровых агрегатов (рам) для многомашинного обуривания забоя типа Фурукава (Япония), погрузочных машин ПНБ-ЗД, вагонов ВПК-10 или УВГ-2,5, а в случае сравнительно коротких забоев (до 1,5 км) - автопоездов МОАЗ-6401. В породах средней и ниже средней крепости рекомендуются способы нижнего уступа и опертого свода соответственно с применением арочного крепления, самоходных установок типа УБШ в ка- лотте и СБУ-70 в уступе (скорость проходки по калотте 75-80 м/мес). Реализация схем, предусматривающих применение передвижного металлического консольного моста, с помощью которого с одним и тем же оборудованием возможно организовывать работу как способом сплошного забоя, так и нижнего уступа, позволяет, по мнению авторов, достигать скорости проходки 120 и 100 м/мес соответственно.

На участках неустойчивых пород может применяться щитовая проходка с использованием немеханизированного щита диаметром 9,5 или 8,5 м. Средняя скорость сооружения туннеля в этом случае от 37,5 до 45 м/мес. После внедрения щитового агрегата КТ-8,5Д2, оснащенного экскаваторным или фрезерным рабочим органом, предполагается увеличение скоростей проходки не менее чем в 2 раза. Разработаны также схемы проходки однопутного железнодорожного туннеля в малоабразивных породах комбайна ми избирательного действия типа 4ПП-2 со скоростью проходки по калотте 100 м/мес.

Для сооружения двухпутных железнодорожных туннелей предлагается использовать:

в весьма устойчивых породах способ сплошного забоя на основе применения портальной буровой рамы с 13 перфораторами (перспективное оборудование); при этом достигается скорость проходки 80-90 м/мес;

в устойчивых породах способ нижнего уступа с самоходными установками УЁЩ-531Д при скорости проходки 80-90 м/мес;

в породах средней крепости способ опертого свода с применением арочной крепи и самоходных установок УБШ-531Д при скорости проходки 50 м/мес.

Проходку штолен предусмотрено осуществлять способом сплошного забоя существующими установками СБУ-2К и БУР-2 со скоростью 80-100 м/мес или перспективными портальными агрегатами со скоростью 125 м/мес. В неустойчивых породах проходку штолен рекомендуется вести щитами диаметром 5,5 м, обеспечивающими скорости порядка 100 м/мес. При малоабразивных породах высокие скорости проходки (более 200 м/мес) предусматривается получать при использовании комбайнов роторного или стрелового типа.

Схемами предусмотрено возведение обделки из монолитного бетона при горном способе работ и комбайновой проходке и сборной обделки при щитовом способе. Для обеспечения заданных скоростей сооружения туннелей технология бетонирования ориентирована на применение созданных в системе Главтоннельметростроя пневмонагнетателей типа Сибата емкостью 3 м3 и секционных опалубок с длиной секции 12 м.

Интенсивная технология строительства гидротехнических туннелей. В настоящее время подавляющее большинство гидротехнических туннелей проходят с применением буровзрывных работ способом сплошного забоя или нижнего уступа. При способе сплошного забоя разработка ведется на полный профиль, бетонирование свода и стен отстает от проходки, лоток бетонируется в последнюю очередь. Высота туннеля до 10 м. Способ применяется в крепких и средней крепости скальных породах. В недостаточно устойчивых породах после каждой заходки устраивают временную бетонную крепь. Проходка способом нижнего уступа делится на два этапа. В первую очередь проходят верхнюю часть туннеля (ка- лотту), а проходка нижнего уступа осуществляется после окончания бетонирования свода. Способ применяется в крепких и средней крепости породах при высоте туннеля более 10 м (рис. 6.4, 6.5).

С целью резкого повышения темпов работ при горных способах необходимо решить вопросы коренного их совершенствования как на базе существующего оборудования, выпускаемого или намечаемого к выпуску отечественной промышленностью, так и с использованием современного высокопроизводительного зарубежного оборудования, закупаемого или выпускаемого по коопеоации с иностранными фирмами.


Гидроспецстрой разработал перечни рекомендуемых комплексов горнопроходческого оборудования, применение которых должно позволить существенно повысить темпы проходческих работ. Комплексы отечественного горнопроходческого оборудования ориентированы на следующее оборудование при многозабойном его использовании:

для сечений до 20 м2 - буровое оборудование - установка БКГ-2; погрузочно-транспортное - машины ППН-3, ПНБ-2, погрузочнотранспортные машины ПТ-4, ПТ-5, вагоны ВПК-7, УВГ-2,5; вспомогательное оборудование - заряжание - ЗМК-1; нанесение набрызг- бетона - машины МНБ, БМ-70; бетонирование - ПБН-3;

для сечений от 20 до 40 м2 - буровое оборудование - установки УБШ-322Д и УБШ-532Д; погрузочно-транспортное - машины ПНБ-ЗД,

погрузочно-доставочные машины ПД-8, ПД-12, автосамосвалы МАЗ-503 и МОАЗ-6401; вспомогательное оборудование - установщик крепи УАГ-7, породооборщик ПОМ-ЮТ; нанесение набрызг-бетона - машины УСН-2 и БМ-70; бетонирование - МР-262, С-80;

для сечений от 40 до 60 м2 - буровое оборудование - УБШ-532Д; погрузочно-транспортное - машины ПНБ-4, погрузочно-доставочные ПД-8, ПД-12, автосамосвалы МОАЗ-6401; вспомогательное оборудование - установщик крепи УАГ-7, породооборщик ПОМ-ЮТ; нанесение набрызг-бетона - машины УСН-2 и БМ-70; бетонирование - МР-263 и С-80;

для сечений более 60 м2 - то же оборудование, кроме бурового, - наряду с установкой УБШ-532Д рекомендуются установка УБШ-662 и станок КБУ-80.

Гидроспецстрой рекомендует также комплексы, составленные на базе лучшего иностранного оборудования, обеспечивающие темпы работ, достигнутые за рубежом.

В отдельных случаях практикуются разработка и внедрение высокопроизводительной техники по кооперации с зарубежными фирмами. Например, в 1984 г. на строительстве Ташлыкской ГАЭС (Украина) была применена гидрофицированная установка СМГ-207, созданная на Можайском экспериментальном предприятии АФ Гидроспецстроя по кооперации с фирмой Тамрок (Финляндия), предоставившей гидравлические молотки. Эта установка позволила получить среднюю скорость проходки в 1984 г. 62,1 м/мес, а дальнейшее ее использование по многозабойной схеме обеспечило за 6 мес 1985 г. выполнение проходки подводящих водоводов длиной 696 м, сечением 52 м2 в крепких породах со средней скоростью 115,4 м/мес.

Работу в области научного обоснования интенсивной технологии проходки проводит институт Оргэнергострой.

Рассмотрим два вопроса повышения качества работ, по которым пока не найдены оптимальные решения: переборы профиля выработки (и связанные с этим переклады бетона в обделку) и качество бетонной поверхности обделок туннелей. Остальные вопросы качества работ имеют, как правило, местный характер и зависят лишь от квалификации персонала (строительного и эксплуатационного).

ряде туннелей намного превышают эти значения, а последующее заполнение их бетоном или цементно-песчаным раствором приносит весьма значительные убытки. Технология контурного взрывания (по методу сближенных зарядов или путем предварительного щелеобразования) была разработана Гидроспецстроем совместно с Оргэнергостроем еще лет 25 назад и успешно применялась на ряде объектов (Нурекская, Токтогульская ГЭС). Но уже в то время стало ясно, что переборы вызваны двумя причинами: технологическими и геологическими, причем последние зависят не столько от коэффициента крепости, сколько от характера трещиноватости пород и направления трещин по отношению к оси туннеля. При неблагоприятном расположении систем трещин переборы переходят в вывалы породы, причем иногда весьма крупных размеров.

Контроль результата каждого взрыва имеет большое значение. Для этой цели предлагается использовать прибор, изготовленный швейцарской фирмой Амберг. Этот оптический прибор (типа теодолита) в виде трубки, установленной в туннеле на треноге, связан с компьютером. Принцип измерения основан на оптической электронной системе. На одном конце прибора размещается вращающееся зеркало, на другом - оптическое устройство, снабженное двумя кремниевыми диодами. Световой поток в трубке проецируется на вращающееся зеркало, которое направляет его на стенку туннеля. Результаты передаются на дисплей компьютера, который размещен на небольшой тележке, располагаемой рядом с прибором. На дисплее проецируется проектный профиль туннеля, по периметру которого через очень небольшой интервал даны результаты измерений и зарисован фактический профиль, в табличной форме даются все недо- боры и переборы, указаны фактические объемы и т.д. Такой непрерывный автоматический контроль позволит вносить оперативные коррективы в паспорт буровзрывных работ.

Необходимо также отказаться от регламентации переборов по коэффициенту крепости независимо от трещиноватости породы. На основе расчетов, проведенных в МИСИ методом конечных элементов, сделан вывод о целесообразности определения в каждом конкретном случае объемов неизбежных по структурно-геологическим причинам вывалов породы и учета их при подсчете объемов бетонных работ.

Поверхность бетонных обделок туннелей. Как показано в § 2.5, 37% всех выявленных повреждений гидротехнических туннелей приходится на повреждения наружной поверхности обделок. Для обеспечения сохранности поверхностного слоя туннельных обделок необходимо дальнейшее совершенствование технологии приготовления бетонной смеси, повышение качества цемента и заполнителей, применение различных поверхностно-активных добавок на основе высокомолекулярных полимеров.

Для получения бездефектных бетонных поверхностей необходима разработка опалубок со специально подготовленными поверхностями - покрытие рабочих поверхностей опалубки листовыми или пленочными полимерными материалами (типа фторопласта, полипропилена, полиэтилена, гетинакса и др.). В США применяется опалубка из полимерных материалов на основе полиэфирной смолы, армированная стекловолокном. Перед укладкой бетонной смеси опалубку смазывают специальным составом, позволяющим легко отделять ее от бетона. Такая опалубка отличается долговечностью.

Улучшению качества бетонной поверхности способствует применение высокоэффективных смазок. К таким смазкам можно отнести, например, используемые при возведении обделок из монолитнопрессованного бетона смесь жидких и густых минеральных масел, суспензию водонепроницаемого расширяющего цемента в масле, известковое или трепельное молоко. Также эффективна применяемая при производстве сборных железобетонных конструкций и изделий эмульсионная смазка типа ОЭ-2 в сочетании с подстилающим слоем из коллоидного цемента, раствора или клея. Операции по очистке опалубки от бетона и смазке самой опалубки должны быть механизированы, что особенно трудно, учитывая узкое заопалубочное пространство. Уплотнение бетонной смеси вблизи поверхностного слоя должно осуществляться поверхностными вибраторами небольшой мощности (прикрепленными к опалубке) в сочетании с глубинными вибраторами. В случае литых бетонных смесей большинство дефектов поверхности обделок не имеют места.

Эффективным средством для извлечения воды из зоны контакта бетонной смеси с поверхностью опалубки является механическая обработка бетона методом вакуумирования. При этом поверхность бетона приобретает повышенные прочность и плотность, ускоряется твердение бетона и увеличивается оборачиваемость опалубки. Вакуумирование дает возможность сократить расход цемента и обеспечить получение гладкой и ровной поверхности бетона после снятия опалубки. Вакуумная опалубка пока не нашла применения в отечественном гидротехническом туннелестроении.

В нашей стране новоавстрийский способ еще не нашел должного применения, хотя принцип разгрузки массива за счет использования податливости крепи применяется уже давно. Преимущества способа очевидны, однако для широкого внедрения его в отечественную практику необходимо специальное оборудование, материалы и соответствующая контрольно-измерительная аппаратура.

Укрепление грунтов при проходке туннелей. Часто нормальный ход туннельных работ резко нарушается из-за изменившихся горно- геологических или тектонических условий, например, при пересечении зоны, заполненной дробленым водонасыщенным грунтом, неустойчивым, текучим и несвязным. Такой грунт, как правило, не поддается разработке и не позволяет осуществлять дальнейшую проходку. Преодоление таких зон является чрезвычайно сложным процессом, продолжающимся от нескольких месяцев до нескольких лет, особенно при невозможности изменения трассы туннеля. Также аварийной является ситуация, когда происходит внезапный прорыв и затопление туннеля водой с разжиженным грунтом (плывун). В этом случае проходка также останавливается и требуется выполнение очень сложных мероприятий по ее возобновлению [17].

Сравнительно недавно в Колумбии при проходке отводящего туннеля ГЭС Гуавио (длина туннеля 5260 м, площадь поперечного сечения 61,6 м2) более трех лет ушло на преодоление 70-метрового участка нарушенных песчаников и глин с большим притоком воды под давлением 1,8-2 МПа. Подобных примеров множество как за рубежом, так и в нашей стране.

При проходке Северо-Муйского туннеля на БАМе был пересечен ангараканский размыв - горизонт конгломератов с желобом глубиной до 55 м, образовавшимся под действием ледника. Желоб был заполнен валунно-глыбовым материалом с песчано-глинистым заполнителем. Опережающее бурение показало наличие в сводовой части несвязных сыпучих песков с валунами диаметром до 1 м. Центральная часть забоя была сложена водовмещающими и слабоустойчивыми гравелитами и дресвой с прослоями аргиллитов и глин.

При проходке дренажно-разведочной штольни этого туннеля диаметром 5 м произошел обильный вынос глин и песков. Впоследствии количество и роль обрушений возросли, над туннелем постоянно возникали пустоты от вывалов. Ухудшали обстановку близкая проходка основного туннеля с применением буровзрывных работ и постоянные землетрясения силой 3-4 балла.

Примерно через 30 м начались крупные вывалы и появился приток воды от 400 до 1000 м3/ч, при этом температура воды повысилась на 2-3°. Появились эллиптичность тюбинговых колец, зияющие трещины длиной по 10 м. Внезапно забой был разрушен, приток воды катастрофически увеличился и за 6-7 мин в туннель поступило до 6000 м3 воды вместе с песком и обломочным материалом. За это время вода подошла к порталу, преодолев расстояние 700 м. Погрузочная машина и вагонетки были отброшены от забоя на 150 м, разрушены рельсы, коммуникации. Ликвидация этой аварии продолжалась несколько лет.

При проходке туннеля Арпа-Севан наибольшие сложности возникли на участке трассы между забоями № 8 и 9 в тектонических зонах. В забое № 9 на расстоянии 400 м от ствола шахты № 4 произошел внезапный прорыв воды с расходом 600 м3/ч. После установки трех дополнительных насосов проходка возобновилась, однако через 2,5 км трасса туннеля пересекла зону тектонического нарушения, которая была неожиданно вскрыта. Наличие грунтовых вод со значительным расходом сильно нарушило устойчивость породы, вследствие чего произошел крупный вывал с выносом большого количества разжиженной горной массы. Все попытки ликвидировать завал не увенчались успехом. Было принято решение о повороте трассы туннеля вправо с целью обхода завального участка. При этом оказался бросовым участок туннеля длиной 60 м.

Во встречном забое № 9, когда до сбойки оставалось около 1 км, в забое произошел прорыв воды с расходом примерно 1000 м3/ч. Потоком было вынесено большое количество горной массы, вследствие чего в кровле выработки образовался купол обрушения высотой 5 м. На оставшемся участке трассы имели место также выбросы породы и газа, повышение температуры породы в забое, резкое возрастание горного давления.

Как выяснилось по результатам космической съемки, участок трассы между забоями № 8 и 9 пересекает древний мощный, погребенный лавовыми потоками разлом шириной 1,2 км. Преодоление этого разлома заняло более трех лет.

В подобных сложных условиях необходимо применение специальных способов проходки, сложных и трудоемких, но позволяющих избегать аварийных ситуаций и в целом ускорить строительство туннелей:

способы пересечения водонасыщенных грунтов, не требующие каких-либо изменений их свойств (применение опускной крепи, стены в грунте и др.);

способы, снижающие подвижность водонасыщенных грунтов на определенный период времени (проходка под сжатым воздухом, искусственное понижение уровня грунтовых вод, искусственное замораживание грунта, в том числе жидким азотом и др.);

предварительное закрепление инъекцией водонасыщенных грунтов.

Рассмотрим третий способ, как наиболее перспективный применительно к гидротехническому туннелестроению. Предварительная инъекция цементно-песчаного раствора в грунт для его закрепления успешно применялась АФ Гидроспецстроем в туннелях Арпа-Севан (забой № 4), в Дангаринском ирригационном туннеле, напорных водоводах Курейской ГЭС, проведены уникальные работы по созданию глубокой противофильтрационной и укрепительной цементации вокруг деривационного туннеля Ингурской ГЭС на участке длиной около 15 км, а также на ряде других объектов. Известен опыт АФ Гидроспецстроя по применению карбамидных смол для укрепления оснований и фундаментов сооружений промышленного и гражданского назначения.

Значительный интерес представляют работы по химическому укреплению зон разлома при проходке Северо-Муйского туннеля на БАМе как с точки зрения разработки и промышленной апробации новых видов укрепляющих составов, так и с позиций отработки прогрессивной технологии инъекционного укрепления пород.

В результате многочисленных экспериментальных исследований для укрепления грунтов в разломах были созданы новые композиционные материалы, имеющие органическую и органоминеральную



Цементы и глины Цементно-глинистые, цементно-песчаные, цементно-песчано-глинистые Цементно-коллоидные

Цементно-силикатные Сильно трещиноватые породы с шириной раскрытия трещин 10 мм и более

Тонкотрещиноватые породы с незначительным (менее 0,3 мм) раскрытием трещин и большими скоростями фильтрации

Примерный состав раствора второй группы, принятый для стабилизации разломов, приведен в табл. 6.6.

Типовая схема по химическому закреплению зоны разлома длиной 9 м в породах, содержащих до 25% глинистых частиц, показана на рис. 6.6. По аналогии со сводом из труб пробуривается один ряд скважин диаметром 86 мм в количестве 12 шт. Нагнетание ведется через манжетные колонны. На укрепление указанного разлома требуется примерно 1 мес.

За рубежом (в Японии, Франции и других странах), а также на отдельных участках туннелей БАМа растворы применяют в сочетании с опережающим защитным экраном из труб, выполненным по периметру свода туннеля.

Площадь поперечного сечения крупных камерных выработок достигает 1000 м2 и более.

Подземные сооружения большого сечения камерного типа располагают преимущественно в крепких слаботрещиноватых скальных породах. При этом облегчается проходка и снижаются затраты на крепление. Тем не менее многочисленные крупные подземные сооружения приходится размещать ниже уровня подземных вод в породах трещиноватых, нарушенных, средней крепости и даже мягких. Строительство камер в подобных условиях является особо сложной инженерной задачей.

Существенное различие в размерах крупных камерных подземных сооружений по сравнению с туннелями и горными выработками не всегда позволяет использовать обычно практикуемые способы проходки и крепления и требует применения иных методов и технологии строительства.

Разработка крупных камерных выработок осуществляется двумя способами:

разработка подсводовой части камеры, возведение обделки свода, затем разработка основного массива породы (ядра) и закрепление стен камеры (рис. 6.7, а).

создание прорези по периметру камеры с закреплением стен и свода камеры, затем разработка основного массива породы (ядра) под защитой установленной обделки (рис. 6.7, б).

Как правило, первый способ применяют при строительстве подземных сооружений, располагаемых в сравнительно крепких породах, а второй - в мягких породах и породах средней крепости или при значительных пролетах камерных выработок.

Первый способ реализуется при уступной разработке крупных камерных выработок и разработке способом опертого свода, второй - при разработке способом опорного ядра. Имеются также отдельные модификации этих решений.

Независимо от очередности выполнения работ при разработке камер следует руководствоваться главным принципом: до начала разработки очередного участка поперечного сечения камеры выше- расположенный участок должен быть надежно закреплен для обеспечения устойчивости сооружения и безопасности работающих в нем. Подземное сооружение камерного типа в процессе его строительства должно разрабатываться с минимальным нарушением вмещающего породного массива. Поэтому в этих условиях применение контурного взрывания является обязательным. Обычно в подсводовой части камеры используют метод сближенных зарядов (с взрыванием зарядов в контурных шпурах в последнюю очередь), а в уступах - метод предварительного щелеобразования (с взрыванием зарядов в скважинах по контуру строчки гладкого откола до начала взрывания зарядов в остальных скважинах).

Разработку подземного сооружения удобнее всего производить с обеих торцовых сторон с тем, чтобы организовать работы вдоль оси камеры встречными забоями. Однако это не всегда удается по геологическим условиям и тогда приходится проходить вспомогательные подходные выработки и примыкать их в различных местах сооружения (к торцам или к средней части по длине камеры).

Подходные выработки к подземным сооружениям камерного типа по своему назначению делятся на постоянные (эксплуатационные) и временные (строительные). При решении вопросов выбора типа и числа подходов следует иметь в виду, что каждое крупное камерное сооружение имеет определенное число подходов, обеспечивающих нормальную эксплуатацию этого сооружения. Для условий строительства в первую очередь проверяется, можно ли ограничиться только этими выработками, т.е. использовать эксплуатационные подходы в качестве строительных.

Необходимость проходки дополнительных строительных подходов может возникнуть, если: число эксплуатационных подходов или продолжительность их проходки не обеспечивают заданного срока окончания строительства камеры; место примыкания подходов к подземному сооружению не позволяет организовать разработку и вывоз породы из всех участков камеры; размеры постоянных подходных выработок недостаточны для пропуска по ним строительного оборудования. Устройство дополнительных строительных подходов требует технико-экономического обоснования

При разработке камерных сооружений число подходов, имеющих самостоятельный выход на поверхность, должно быть не менее двух. Это правило диктуется требованиями обеспечения безопасности подземных работ. Один из подходов должен примыкать к нижней части камеры, второй - к верхней или средней части.

Три самостоятельных подхода и более могут быть сооружены при необходимости форсировать сроки строительства подземного сооружения и в том случае, когда длины третьего и последующих подходов соизмеримы с длинами первых двух, а объем вьюозимой по каждому строительному подходу породы составляет не менее 20 тыс. м3.

От каждого основного строительного подхода устраивают ответвления к различным горизонтам камеры в виде коротких вспомогательных выработок. Такое увеличение числа строительных подходов является рациональным решением. Таким образом, к каждому уступу (высотой до 10 м) должен быть осуществлен туннельный подход (самостоятельный или в виде ответвления от основного подхода) или же устроен съезд на предыдущий горизонт разработки.

Подходные выработки к подземному сооружению выполняют в виде горизонтальных или слабонаклонных туннелей, вертикальных или наклонных стволов. Возможно также сочетание туннелей и стволов. Горизонтальные туннели, наиболее дешевые и удобные для проезда крупногабаритного оборудования, рекомендуется сооружать в горной местности, когда боковая врезка позволяет сократить длину подхода. При применении экскаваторов и автосамосвалов площадь подходных туннелей при длине их более 300 м должна быть достаточной для двухпутного движения автотранспорта. При длине однопутного туннеля 200-300 м в середине его следует устраивать нишу для разворота машин. Подошву подходных туннелей целесообразно бетонировать. Трассу туннелей рекомендуется устраивать слабонаклонной (уклон до 1:10) с целью сокращения длины туннеля.

Если подземное сооружение представляет собой комплекс параллельно расположенных камер (машинный зал, трансформаторное помещение, камера затворов), то каждый строительный подход необходимо в наибольшей степени использовать для разработки всех камер. Это достигается, например, устройством подходного туннеля в направлении, перпендикулярном осям камер.

Подходы в виде вертикальных или наклонных стволов шахт следует устраивать лишь там, где применение туннелей по ряду причин нецелесообразно. Соотношение трудоемкостей проходки стволов шахт и туннелей составляет 1:5- 1:4, т.е. выгоднее пройти туннель длиной 100 м, чем ствол шахты глубиной 20-25 м. Кроме того, применение шахтных подходов ограничивает возможность механизации производственных процессов. Для использования при разработке подземного сооружения экскаваторов и автосамосвалов требуется проходить стволы очень большого сечения. Также затрачивается много времени на монтаж крупного оборудования, спущенного в разобранном виде по стволу. Имеются примеры строительных подходов туннельного типа к нижней части камеры и в виде стволов, примыкающих к подсводовой части сооружения.

Количество, типы, размеры и расположения подходов устанавливаются в каждом отдельном случае на основании выбора вариантов в соответствии со схемой компоновки разрабатываемых подземных сооружений, топографическими и инженерно-геологическими условиями.

Как следует из рис. 6.5, подземные сооружения камерного типа в поперечном сечении условно можно подразделить на две основные части:

подсводовая часть (1-3 на рис. 6.5, а) или прорезь (7-4 на рис. 6.5, б):

основной массив породы - ядро (4-7 на рис. 6.5, а и 5-8 на рис. 6.5, б).

При разработке подсводовой части (или прорези) механизация подземных работ при наличии горизонтальных подходов в принципе не отличается от применяемой при проходке крупных туннелей. В случаях, когда подсводовая часть (7-2 на рис. 6.5, а, и 3 на рис. 6.5, б) по своим размерам превышает обычные туннельные сооружения (т.е. ширина его по подошве составляет 15-20 м, а высота 7-10 м) и когда горизонтальный туннельный подход выведен на отметку подошвы подсводовой части камеры, комплексная механизация подземных работ за счет применения самого производительного оборудования может обеспечить очень высокую интенсивность производственных процессов.

При разработке уступов взрывание зарядов в вертикальных скважинах производят, как правило, при наличии у откоса уступа неубранной (частично или полностью) породы после взрыва зарядов в предыдущем цикле. Такое решение уменьшает воздействие взрыва на сооружение.

Разработка камерных подземных сооружений осуществляется в среднем с производительностью 5-8 тыс. м3/мес.

При определении продолжительности строительства крупных подземных сооружений необходимо учитывать, что она определяется не столько временем, необходимым на разработку и вывоз породы (как это имеет место при разработке подземных месторождений полезных ископаемых), сколько продолжительностью устройства постоянной обделки и внутренних строительных работ по подготов ке к оснащению камеры технологическим оборудованием и монтажу в ней различных эксплуатационных установок.

Гидроспецпроектом и Гидроспецсгроем совместно с Гидропроектом и строителями разработан поэтапный метод строительства камер, позволяющий продолжать строительство после пуска первого агрегата (Усть-Хантайская, Колымская, Хоабиньская, Рогунская ГЭС и др.).

В эти сроки не входит монтаж эксплуатационного оборудования, который обычно занимает около года, но может быть частично совмещен со строительными работами.

Используются следующие способы проходки и бетонирования

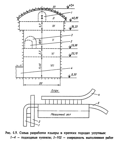
при строительстве камер в крепких породах - уступный способ, разработка подсводовой части с опережением проходки центральной части (рис. 6.8), разработка основного массива (ядра) камеры уступами высотой до 10 м в устойчивых скальных породах (рис. 6.9 и 6.10) и уступами до 5 м в скальных породах средней устойчивости, для бетонирования большепролетных сводов применяют армокар- касы (рис. 6.11);

при строительстве камер в мягких породах и породах средней крепости - способ опертого свода (рис. 6.12), способ опорного ядра (рис. 6.13), ступенчатым забоем (новоавстрийский способ, рис. 6.14).

Деформации горного массива и меры по их стабилизации. Как отмечалось выше, в процессе разработки крупной подземной камеры и в первый период ее эксплуатации происходят подвижки горного массива в сторону создаваемой выработки. Устанавливаемая крепь (обделка), работая совместно с породой, в силу своей деформатив- ности не полностью предотвращает перемещения, но со временем должна обеспечить стабилизацию этих перемещений.

Наибольшие значения имеют деформации в радиальном направлении выработки, в остальных направлениях они обычно пренебрежимо малы. Основная доля деформаций сосредоточена в части массива, находящейся в зоне активного влияния выработки (от половины до одного пролета камеры), наибольших значений перемещения достигают на контуре выработки.

Измерения следует начинать в горном массиве еще до вскрытия выработки. В большинстве случаев до начала разработки крупной камеры над ее сводом проходят штольню, из нее в сторону камеры пробуривают скважины, в которых устанавливают многочисленные экстензометры, позволяющие оценивать деформации в различных точках по глубине массива.

Аналогичные приборы для определения подвижек в массиве в процессе сооружения камерной выработки устанавливают одновременно с анкерной крепью. Для этой цели в мерных створах по своду, а затем и по стенам камеры через каждые 10-20 м (иногда и через 5 м) по ее длине перпендикулярно к контуру выработки пробуривают скважины глубиной 10-30 м, в каждой из которых устанавливают экстензометры, позволяющие вести наблюдения за деформациями одновременно в 5-8 точках скважины. Кроме экстен- зометров наблюдения за перемещениями контура выработки и сближением ее стен (конвергенцией) по мере разработки камеры ведут с помощью геодезических средств (инварные ленты, лазерные светодальномеры и др.). Точность измерений составляет 0,5-1 мм.

Перемещения контура подземных сооружений больших размеров, размещаемых в скальных породах, незначительны. В нормальных условиях влияние разгрузки массива и перераспределение напряжений проявляются в виде малых перемещений контура, измеряемых в миллиметрах. Свод контура выработки перемещается вниз на значение, редко превышающее 30 мм, а стены сближаются обычно не более чем на 50 мм. Однако в ряде случаев перемещения стен достигают 20-30 см (Колымская, Рогунская ГЭС).


Эмпирические зависимости, характеризующие допустимые перемещения контура выработки большого сечения в скальных породах, имеют вид



При превышении допустимых значений перемещений в натуре следует проанализировать их изменение во времени и при необходимости установить дополнительную крепь.

Характер изменения деформаций во времени, по глубине массива, а также перемещение всего контура выработки покажем на примере подземного машинного зала ГЭС Паоло Афонсо-IV (Бразилия), схема крепления которого приведена на рис. 6.15.

Кривые перемещения (рис. 6.15, о) вполне характерны для большинства крупных подземных сооружений. Основная часть перемещений стен происходит в процессе разработки ядра камеры, затем эти перемещения постепенно уменьшаются. Обычно процесс стабилизации перемещений продолжается около года и более.

Перемещения отдельных точек по глубине массива (рис. 6.15, в) фиксируются экстензометрами. Из рисунка видно, что влиянию разработки камеры в наибольшей степени подвержена зона глубиной 10 м от контура. Это определило длину предварительно напряженных анкеров, а в отдельных местах потребовало усиления крепления. Например, как следует из рис. 6.15, а, точка 2 не имеет тенденции к стабилизации и имеет постоянное смещение, равное 0,7 мм/мес.

При тщательном осмотре геологи обнаружили, что рядом находится нарушенная зона шириной от 3 до 6 м, которая вызвала раскрытие трещин на стене выработки. После установки дополнительных предварительно напряженных анкеров развитие деформаций прекратилось.

В одной из крупных камерных выработок в ФРГ деформации одного из участков стен составили от 1 до 3 мм/год. Им не придали вначале никакого значения. Однако позднее было установлено, что эти деформации не обнаруживали тенденции к затуханию, что потребовало установить дополнительное крепление.

Практика показывает, что более важным является не абсолютное значение деформаций, а характер их развития во времени (плавное или скачкообразное нарастание или затухание, связь или отсутствие связи между деформациями и процессом разработки камеры).


Теоретически с требуемой точностью предсказать возможные перемещения массива по глубине и по контуру выработки методом конечных элементом не удается из-за сложности получения точных исходных данных с учетом фактического напряженного состояния, неоднородности и анизотропии горного массива, окружающего подземное сооружение.

Исходя из этих обстоятельств для обеспечения безопасности работ по строительству камеры и надежной ее эксплуатации проведение натурных наблюдений является обязательным условием создания крупных подземных сооружений (подземных машинных залой ГЭС и ГАЭС).

В комплекс гидротехнических сооружений во многих случаях входят вертикальные и наклонные подземные сооружения или части сооружений. К ним можно отнести подземные части вертикальных и наклонных турбинных водоводов, вертикальных уравнительных резервуаров, а также различные грузоподъемные и вспомогательные шахты. Очень часто такие выработки называют шахтами. Однако это неточно, так как под термином шахта в горнодобывающей промышленности обычно понимают не вертикальную горную выработку, а самостоятельное горнодобывающее предприятие, имеющее целью добычу полезного ископаемого подземным способом в пределах отведенной для нее части месторождения.

В данном разделе рассматриваются способы сооружения только вертикальной и наклонной частей упомянутых выше гидротехнических сооружений или шахт, которые принято называть стволом шахты.

Способы проходки вертикальных шахт. Способы проходки шахт обуславливаются главным образом геологическими и гидрогеологическими условиями залегания горных пород. В зависимости от устойчивости пород и их водообильности различают обычные и специальные способы проходки.

Обычные способы применяются при проходке в устойчивых и маловодоносных породах, когда вода из забоя может быть удалена на поверхность при помощи подъемных сосудов или насосов, а стенки ствола остаются устойчивыми при их закреплении временной крепью на период до возведения постоянной крепи.

Специальные способы применяются в неустойчивых, рыхлых и плывучих породах или устойчивых, но сильно трещиноватых и водоносных породах, когда приток воды в забой достигает 20 м3/ч и выше (в данной книге не рассматриваются).

Формы и размеры сечения стволов шахт прежде всего определяются их назначением, а также зависят от способа проходки и крепления.

Основными формами поперечного сечения вертикальных стволов являются прямоугольная и круглая. Прямоугольная форма применяется в стволах, сравнительно неглубоких (до 100-120 м), преимущественно для кабельных, лифтовых и других вспомогательных шахт, расположенных в устойчивых грунтах. Размеры сечения стволов определяются размерами оборудования и коммуникаций, в них расположенных.

В стволах гидротехнических шахт (турбинных водоводов, уравнительных резервуаров), а также грузоподъемных, вентиляционных и других в основном применяется круглая форма. Размеры сечения (диаметр) стволов гидротехнических шахт определяются гидравлическими расчетами, а грузоподъемных и других - располагаемым в них оборудованием.

Стволы шахт турбинных водоводов, шинных, кабельных, грузовых и других обычно имеют диаметры от 4 до 9 м. Технология проходки таких шахт достаточно освоена многолетней практикой во всех отраслях промышленности.

В практике строительства гидроэлектростанций имеет место сооружение стволов шахт уравнительных резервуаров, имеющих большие диаметры (20 м и более).

Проходка шахты включает два основных вида работ: выемку грунта и возведение постоянной крепи (обделки).

В зависимости от последовательности выполнения этих работ во времени и пространстве проходка стволов может осуществляться сверху вниз полным сечением или снизу вверх малым сечением с последующим его расширением сверху вниз до полного сечения ствола. При проходке стволов сверху вниз полным сечением применяют следующие схемы: последовательную, параллельную, параллельно-щитовую и совмещенную.

Отдельно может быть выделена проходка стволов шахт большого диаметра (15-25 м и более). Как правило, выбор технологической схемы определяется горно-техническими и горно-геологическими факторами (глубина и диаметр ствола, возможность организации подхода к стволу в нижней его части и на промежуточных горизонтах, характер пересекаемых горных пород и их устойчивость).

Последовательная схема проходки ствола (рис. 6.16, а) характеризуется значительным разделением во времени работ по выемке грунта и возведению обделки. Ствол по глубине разделяют на участки. Каждый участок проходят на полную глубину с временной крепью. Затем в нижней части пройденного участка устраивают опорный венец из монолитного бетона или железобетона. После этого в направлении снизу вверх с подвесного проходческого полка возводят обделку.,

Основным недостатком данной схемы являются большая продолжительность работ и частые нарушения временной крепи в призабойной зоне взрывными работами.

Параллельная схема проходки ствола (рис. 6.16,6) предусматривает ведение работ по выемке грунта и возведению обделки одновременно на двух смежных участках по высоте ствола. На нижнем участке выполняются работы по выемке грунта и возведению временной крепи под защитой предохранительного полка, а на верхнем участке с проходческого полка возводится постоянная обделка. Средняя скорость проходки стволов в 2-2,5 раза выше, чем при последовательной схеме.

Недостатками этой схемы являются: повышенная сложность и опасность работ; дополнительное перекрытие ствола предохранительным полком, усложняющее работу подъема; применение большого количества лебедок, канатов и подвесного оборудования. Схема применяется для стволов большого диаметра и значительной глубины.

Параллельно-щитовая схема проходки ствола (рис. 6.16, в). Монолитную бетонную обделку возводят на расстоянии около 30 м от забоя в направлении сверху вниз с применением передвижной опалубки и опорного поддона. На незакрепленном участке ствола вместо временной крепи размещают металлический щит-оболочку. Опалубка и опорный поддон имеют самостоятельные канатные подвески. Щит-оболочка подвешивается в стволе свободно и предназначается только для обеспечения безопасности работающих в забое. Операции по выемке породы и бетонированию обделки не совмещаются только при ведении взрывных работ в забое и перемещении проходческого оборудования.

К недостаткам этой схемы относятся большие капитальные затраты на оснащение ствола и возможность использования щита-оболочки только в устойчивых грунтах.

При применении этой схемы на шахтах Донбасса были достигнуты рекордные скорости: 290,5; 390,1 и 401,3 м/мес.

Совмещенная схема сооружения ствола предусматривает выполнение операций по выемке грунта и возведению обделки в едином проходческом цикле. В этом случае обделка может быть монолитная бетонная или из сборных элементов (тюбинговая). Совмещенная схема исключает применение временной крепи и при монолитной бетонной обделке - опорных венцов. Работы по выемке породы и возведению обделки могут выполняться параллельно или последовательно. При параллельном выполнении работ (рис. 6.16, г) обделка возводится на небольшом удалении от забоя. В этом случае применяют секционную опалубку с опорным поддоном. При последовательном выполнении работ по выемке грунта и возведению монолитной бетонной обделки (рис. 6.16, д, е) опалубка устанавливается на выровненную взорванную породу.

Данная схема создает возможность некоторого совмещения операций по укладке бетонной смеси и погрузке породы. После укладки быстротвердеющей бетонной смеси по всему периметру ствола на высоту около 1 м из центральной части забоя начинают погрузку породы. Остальную часть породы грузят после набора бетоном прочности 0,8 МПа.

Основной недостаток схемы - нахождение бетонной обделки и опалубки в непосредственной близости от забоя, что стесняет рабочее пространство и затрудняет применение контурного взрывания с использованием бурильных установок. Применение сборной тюбинговой обделки исключает этот недостаток.

Проходка стволов малым сечением (4-6 м2) снизу вверх с последующим его расширением сверху вниз до полных проектных размеров широко применяется в гидротехническом строительстве в тех случаях, когда имеется подход к нижней части ствола шахты. При этом пройденная восстающая выработка малого сечения (4-6 м2) используется для сбрасывания через нее на нижний горизонт взорванной породы (рис. 6.14, ж). В этом случае уборка и вывозка породы осуществляются с нижнего горизонта. Преимуществом такого способа является исключение одной из самых трудоемких и длительных операций - уборки взорванной породы внутри ствола шахты.

Сооружение стволов шахт большого диаметра. Работы по сооружению стволов шахт уравнительных резервуаров и других стволов большого диаметра могут вестись одним из следующих способов:

при отсутствии подходов к стволу в его нижней части и на промежуточных горизонтах проходка может осуществляться с поверхности в направлении сверху вниз;

при наличии подходов к стволу в нижней его части - путем проходки восстающих выработок малого сечения с последующим их расширением сверху вниз до полных размеров ствола; при наличии подходов к стволу на нескольких горизонтах по высоте проходка может осуществляться аналогичным способом с каждого горизонта;

ярусами высотой 6-8 м в направлении сверху вниз при наличии боковых подходов на отметке каждого яруса; при этом разработка грунта его вывозка и возведение бетонной обделки осуществляются аналогично методу сооружения нижнего уступа камерных выработок или туннелей большого сечения.

Сооружение ствола сверху вниз с дневной поверхности начинается с устройства устья ствола открытым способом с погрузкой породы в котловане с помощью экскаватора и транспортировкой ее автосамосвалами по наклонной въездной траншее. После разработки котлована на глубину 10-12 м в нем возводится постоянная обделка устья.

В дальнейшем в зависимости от площади сечения забоя и применяемого оборудования проходка ствола может осуществляться сплошным забоем или уступным забоем.

Наличие уступа в забое ствола облегчает выполнение буровзрывных работ (сокращается число шпуров при последовательном их взрывании отдельными сериями), а также создает условия для частичного совмещения работ по погрузке взорванной породы и обу- риванию забоя. Обделку ствола шахты в этом случае целесообразно выполнить из железобетонной анкерной крепи и покрытия набрызг- бетоном толщиной 10-15 см. При пересечении сильнотрещиноватых горных пород набрызг-бетон следует наносить по арматурной сетке. Поскольку такая обделка возводится вслед за забоем, отпадает необходимость применения временной крепи.

В тех случаях, когда проектом предусматривается монолитная бетонная или железобетонная обделка, ее следует возводить участками 10-15 м по высоте, т.е. применить последовательную схему проходки и возведения обделки ствола.

Недостатком рассмотренной схемы является малая эффективность и сложность организации подъема взорванного грунта на поверхность, а также сложность устройства защитных полков перекрытий ствола, обеспечивающих защиту людей, находящихся в забое.

Наибольшее распространение получила схема сооружения стволов большого диаметра при наличии подхода к нижней части ствола. В стволах шахт уравнительных резервуаров в качестве строительного подхода всегда может быть использован расположенный внизу напорный туннель. В этих случаях работу можно организовать следующими способами:

с дневной поверхности на месте центральной части будущего тзола уравнительного резервуара сооружается вспомогательный двол меньшего сечения со сбойкой его с выработками нижнего горизонта;

с нижнего горизонта из камеры, примыкающей к пройденному туннелю в направлении снизу вверх, в сечении будущего ствола шахты уравнительного резервуара проходятся одна или две восстающие выработки до поверхности.

По завершении этих работ тем или иным способом приступают к расширению пройденных вертикальных выработок до полных размеров ствола шахты. Расширение выработок можно осуществить с применением многоуступного расположения забоя или с помощью наклонных скважин. На рис. 6.17 показана схема расширения уравнительного ствола уступным способом.

В варианте многоступенчатого забоя последний расчленяется на четыре-пять уступов; каждый уступ обуривается шпурами, расположенными по концентрическим окружностям. Во время бурения шпуров передовая выработка (породоспуск) перекрывается подвесной предохранительной пробкой, которая перед взрыванием зарядов в шпурах поднимается на безопасную высоту.

В конструкции подвесной пробки предусматривается устройство отверстий для пропуска воздуха (проветривания). Сброшенная в породоспуск порода на нижнем горизонте погружается экскаватором или погрузочной машиной в автосамосвалы или другие транспортные средства.

В варианте с наклонным расположением забоя расширения предусматривается бурение наклонных скважин длиной 7-8 м. Угол наклона забоя принимается не менее 45 е. По мере продвижения забоя ствола стены его закрепляются временной крепью, главным образом анкерной или набрызг-бетоном. Постоянная обделка ствола возводится участками 10-15 м по высоте ствола. На время воз- ведения постоянной обделки работы по выемке грунта в стволе прекращаются. Устанавливаются инвентарные металлические леса и опалубки. Подачу бетонной смеси за опалубку можно осуществить с земной поверхности по трубам.

Приведенные выше способы проходки стволов большого диаметра обладают рядом недостатков, основными из которых являются: перекрытие ствола большого диаметра требует изготовления металлических ферм;

сложная и громоздкая конструкция подвесных и предохранительных полков большого диаметра;

большое количество подъемных машин и лебедок для подвесного проходческого оборудования;

сравнительно низкие темпы проходки.

Эти обстоятельства вызвали необходимость поисков более эффективных способов проходки стволов большого диаметра.


При рассмотрении возможных схем группой специалистов института Гидроспецпроект было предложено решение, принципиальной основой которого являлась проходка спирального транспортного туннеля вокруг ствола шахты на всю его высоту (рис. 6.18). Спиральный туннель при этом имеет соединительные выработки со стволом через каждые 6-7 м по высоте. Такое решение позволяет осуществить проходку ствола большого диаметра высокопроизводительным оборудованием, при этом разработка породы и возведение обделки ведется аналогично проходке нижнего уступа туннелей большого сечения (рис. 6.19).

Этот способ был успешно применен при сооружении ствола уравнительного резервуара Миатлинской ГЭС, который первоначально состоял из шахты диаметром 25 м, глубиной 75 м и трех горизонтальных подземных камер верхнего расположения сечением более 100 м2 каждая и общей протяженностью 350 м (рис. 6.20).

С целью внедрения рассмотренного способа горизонтальные камеры верхнего типа были преобразованы в спиральный туннель, расположенный вокруг ствола от отметки устья ствола до отметки сопряжения ствола со сводом деривационного туннеля (рис. 6.21). Наличие большого количества соединительных выработок между спиральным туннелем и стволом шахты позволило включить спиральный туннель в работу уравнительного резервуара как дополнительную компенсационную емкость.

Перед началом проходки ствола шахты по всему периметру была выполнена строчка предварительного откола на глубину 16 м (на два яруса разработки ствола). Строчка гладкого откола выполнялась елочкой, что обеспечивало ее устройство на последующих шестнадцатиметровых участках без специальных ниш по всему периметру ствола. Такое выполнение строчки гладкого откола позволило опирать бетонную обделку на породный массив без устройства специальных опорных венцов. Разработка породы на ярусах выполнялась с применением БВР, в основном методом скважинных зарядов.

При проходке ствола применялось следующее оборудование: буровые станки НКР-ЮОм, ковшовый погрузчик L-34, автосамосвалы МАЗ-5549, спецгидроподъемник МШТС-2ТП, бетон-шприц-машина БМ-68 и др. Обделка ствола выполнялась восьмиметровыми заход- ками вслед за проходкой каждого яруса. При бетонировании обделки использовались инвентарная щитовая опалубка, пневмоукладчик АПБУ-2, автокран с телескопической стрелой грузоподъемностью 100 кН.

Сооружение ствола шахты уравнительного резервуара по предложенной схеме позволило отказаться от создания и эксплуатации дорогостоящего и металлоемкого надшахтного комплекса, включающего копер, подъемную машину и группу большегрузных проходческих лебедок.

Способы проходки наклонных шахт

Гидротехнические сооружения имеют наклонные участки подводящих туннельных водоводов и строительно-эксплуатационных туннельных водосбросов, а также отдельные наклонные участки других сооружений (отсасывающих труб ГЭС, шинных шахт и др.). Кроме того, в некоторых случаях в качестве строительного подхода на отметку того или иного глубоко расположенного подземного сооружения могут создаваться наклонные грузоподъемные шахты, предназначенные для выдачи горной породы на дневную поверхность, доставки в подземные выработки материалов и оборудования, а также подъема и спуска людей.

Выбор способа сооружения наклонных стволов и других наклонных выработок, а также подбор необходимого горнопроходческого оборудованйя зависят от угла их наклона к горизонту, размеров поперечного сечения и инженерно-геологических условий.

В зависимости от угла наклона к горизонту выработки подразделяются на слабонаклонные с углом наклона до 15, средненаклонные от 15 до 30 е и крутонаклонные свыше 30е.

При проходке слабонаклонных выработок буровзрывным способом могут применяться те же типы погрузочных машин и буровой техники, что и при проходке горизонтальных выработок. Транспортирование породы независимо от выбранного способа проходки может осуществляться в вагонетках на канатной тяге маневровыми лебедками, конвейерами различных типов, а при значительных сечениях выработок - самоходными вагонами, думперами и автосамосвалами.

Всредненаклонных выработках сечением до 30м2 применяются скреперные установки и скиповый подъем грунта. Скреперные установки в сочетании с конвейерным транспортом могут быть рекомендованы при углах наклона выработки до 18 е. При больших углах наклона породу следует транспортировать в вагонетках или скипах с помощью канатной тяги.

На строительстве Вилюйской и Усть-Хантайской ГЭС при сооружении в направлении снизу вверх направляющей штольни сечением 6 м2 в отсасывающих трубах с углом наклона до 28 е применялись скреперные установки вместимостью ковша от 0,2 до 0,5 м3. Для транспортирования взорванной породы на нижний горизонт скреперный полок размещался на эстакаде. Дальнейшее расширение выработок до проектного профиля осуществлялось в направлении сверху вниз.

КузНИИшахтостроем для сооружения наклонных выработок (стволов) разработан проходческий комплекс Сибирь (рис. 6.22). Комплекс выполняет все основные горные работы при сооружении наклонных стволов с углом наклона от 8 до 25 е - бурение шпуров, погрузку породы из забоя на конвейер или в скип и крепление выработки.

Наибольшую сложность представляет сооружение крутонаклонных выработок (наклонных стволов шахт), к которым относятся наклонные участки туннельных водоводов ГЭС и эксплуатационных водосбросов, площадь сечения которых обычно составляет от 25 до 130 м2, а на некоторых проектируемых перспективных ГЭС и более. Угол наклона таких стволов обычно составляет от 30 до 60 е.

Сооружение таких наклонных стволов может осуществляться как сверху вниз полным сечением с подъемом взорванной породы наверх, так и снизу вверх одной или двух выработок с последующим расширением выработки до полного проектного сечения сверху вниз.

Первый из этих способов может быть рекомендован в слабых грунтах, склонных к обрушению при их вскрытии и требующих немедленного их закрепления, а также в тех случаях, когда отсутствует возможность организации транспортного подхода к нижней части наклонного ствола.

При этом способе облегчается бурение и установка временной крепи, однако усложняется уборка грунта. Подобная схема была применена на строительстве напорных водоводов Ингурской ГЭС, где был применен проходческий агрегат, позволивший выполнять в комплексе работы по бурению и уборке взорванной породы.

Способ сооружения наклонных стволов с помощью восстающих выработок, пройденных снизу вверх и последующим их расширением сверху вниз до проектных размеров является наиболее производительным и эффективным. Проходка восстающих выработок снизу вверх при угле наклона более 40 е выполняется с использованием самоходных полков (типа Алимак, КПВ и др.).

При этом способе как при проходке восстающих выработок, так и при их расширении до проектных размеров взорванная порода падает вниз на горизонт откатки, где мощными погрузочными машинами погружается в автосамосвалы и вывозится в отвал. При этом способе отпадает самая трудоемкая операция - погрузка грунта в забое наклонной шахты и подъем его на поверхность.

Принципиальная схема сооружения наклонного ствола шахты строительно-эксплуатационного водосброса с помощью восстающих выработок и последующего их расширения до проектных размеров ствола шахты приведена на рис. 6.23.

Подобным способом за последние годы в практике гидротехнического строительства построен целый ряд наклонных стволов шахт турбинных водоводов ГЭС и наклонных участков эксплуатационных водоводов. На рис. 6.24 показана схема сооружения турбинного водовода Нурекской ГЭС.

Подземные сооружения гидроэлектростанций. - М.: Энергоатомиздат, 1996.

на главную