Конструкции вспомогательных туннелей и шахт станционного узла

Для обеспечения нормального функционирования основных подземных сооружений и оборудования гидроэлектростанции необходимы вспомогательные туннели и шахты - грузовые, вентиляционные, шино-кабельные, эвакуационные, дренажные и др.

Большинство шахт имеют диаметр 5-8 м. Обделка шахт, как правило, выполняется из бетона; толщина ее 0,3-0,5 м. В слабых водонасыщенных грунтах стенки шахты закрепляются чугунными и железобетонными тюбингами.

Над отсасывающими трубами устраиваются специальные галереи, в которых размещаются ремонтные затворы нижнего бьефа и обслуживающие их подъемные механизмы. Для доставки затворов и другого оборудования в эти галереи, так же как и в галереи предтурбинных затворов, они соединяются с транспортными туннелями или монтажной площадкой машинного зала.

Монтажные площадки при помощи горизонтальных транспортных (грузовых) туннелей или вертикальных грузовых (монтажных) шахт соединяются с поверхностью земли.

Размеры грузовых туннелей и шахт принимаются такими, чтобы обеспечить свободный проход транспортных средств с доставляемым оборудованием (рис. 4.24). В грузовых туннелях и шахтах, как правило, располагаются отсеки с силовыми и контрольными кабелями, вентиляционные каналы, проходы для обслуживающего персонала. В грузовых шахтах размещаются также пассажирски лифты и служебные лестницы. Над грузовыми шахтами на поверности земли устраиваются разгрузочные помещения, к которым подводятся подъездные пути.

Особое значение на подземных гидроэлектростанциях приобретают вентиляция и кондиционирование воздуха, которые должны обеспечивать: температуру и влажность воздуха, необходимые для нормальной работы персонала ГЭС; удаление пыли в целях защиты оборудования от перегрева и создания нормальных условий работы персонала станции; защиту оборудования и строительных конструкций от выпадения конденсата во избежание появления ржавления и других осложнений. С этой целью в специальных помещениях (вентиляционных камерах) устанавливаются вентиляторы и кондиционеры, с помощью которых осуществляется воздухообмен, регулируются температура и влажность воздуха (в подземных машинных залах воздух должен иметь влажность не выше 70% и температуру не выше 25-28 °С). На крупных ГЭС, как правило, используются несколько групп вентиляторов и кондиционеров.

В зависимости от компоновки подземных сооружений ГЭС и объема забираемого свежего воздуха применяют различные варианты его подачи. Свежий воздух нагнетают по специальным каналам, расположенным в транспортных туннелях, в грузовых или шинных шахтах. Туннели и шахты используются и для вывода нагретого воздуха наружу. Для вентиляции машинного зала воздух из вентиляционных камер обычно подается в подгенераторное помещение и непосредственно в машинный зал. При наличии в машинном зале внутренних декоративных стен и потолка часть воздуха из машинного зала через вентиляционные отверстия поступает в пазухи, расположенные между декоративными стенами, потолком и обделкой, откуда увлажненный воздух отсасывается вытяжными вентиляторами наружу. В некоторых случаях воздух из пазух используют для охлаждения шин.

В зимнее время воздух, нагретый в шинных и трансформаторных помещениях, частично поступает в приточную смесительную ка меру и используется для подогрева холодного наружного воздуха.

При разработке конструкций сооружений, выборе типов оборудования и решения вопросов их компоновки необходимо принимать во внимание требования удобства эксплуатации и обслуживания как сооружений, так и основного и вспомогательного оборудования. Это должно выражаться в наличии достаточных, требуемых нормами проходов и подъездов, доступа и удобства использования подъемно-транспортных средств и безусловного соблюдения требований техники безопасности.

Для безопасности работы эксплуатационного персонала кроме транспортного туннеля или шахты, ведущей на монтажную площадку, предусматривается устройство дублирующих транспортных связей с поверхности земли в виде дополнительных туннелей, наклонных шахт с лифтами и т.д. При этом по возможности используются транспортные выработки, сооружаемые в строительный период.

Ниже приводятся примеры компоновочных и конструктивных решений по вспомогательным выработкам запроектированных и построенных станционных узлов.

Транспортные туннели Рогунской ГЭС в период строительства используются для нетехнологических перевозок, в том числе крупногабаритного оборудования, поэтому их размеры превышают необходимые в эксплуатационный период. Максимальный уклон транспортных туннелей составляет 6%.

Согласно техническому проекту Рогунской ГЭС подъезд к ней осуществляется по дороге, на которой находятся четыре транспортных туннеля. При помощи туннелей осуществляется подъезд также к верхним коленам турбинных водоводов, помещениям подъемных механизмов на водосбросных туннелях и временном подводящем туннеле ГЭС, к концевому сооружению эксплуатационного водосброса и ряду других объектов. Общая протяженность транспортных туннелей на период эксплуатации гидроузла составляет 9,8 км.

Туннели токопр оводов генераторного напряжения от генераторов к трансформаторам выполняются в виде шести отдельных выработок, соединяющих машинный зал с помещением трансформаторов. Форма поперечного сечения туннелей корытообразная. В месте примыкания к машинному залу туннели имеют горизонтальные участки и разделены по высоте на два яруса. На нижнем ярусе размещается оборудование собственных нужд и установки охлаждения токопроводов. На наклонном участке размещаются только токопроводы.

Туннели токопроводов генераторного напряжения имеют ширину 8,6 м, расстояние между их осями составляет 24 м. При этом ширина межтуннельных целиков составляет 15,4 м. Обделка туннелей выполняется из железобетона В 15 толщиной 0,5 м в стенах и 0,8 м в своде.

Компрессорная ГЭС и помещение ресиверов располагается в выработке со стороны подъезда в машинный зал в непосредственной близости от него. Въезд в компрессорную осуществляется из транспортного туннеля. Помещение ресиверов располагается в торце компрессорной и отделено от последнего стенкой. Размер компрессорной 9x9,6 х35м, помещения ресиверов 7,5x7,6x28 м. Из компрессорной через помещение ресиверов организован второй выход - в машинный зал. Выработки закрепляются бетонной обделкой толщиной 0,5 м.

Помещение резервуара гашения напора воды системы пожаротушения здания ГЭС компоновочно совмещено с дренажно-цементационными штольнями. Коммуникации от гасителя прокладываются в вертикальной шахте с грузовым проемом, затем по туннелю к машинному залу и помещению трансформаторов. Шахта диаметром 5 м оборудуется железобетонной лестницей.

Приточно-вытяжная система вентиляции выполнена в виде шахт с выходом их на поверхность земли.

Приток воздуха для всех подземных помещений ГЭС осуществляется по единой шахте, расположенной с противоположной от монтажной площадки стороны машинного зала. Диаметр шахты составляет 9,5 м. В ней размещены лестницы с лифтом и воздуховод. Воздух из шахты попадает в подсводовую часть машинного зала, затем в помещения машинного зала и туннели токопроводов. На поверхности земли у устья шахты размещается помещение кондиционеров.

К помещению трансформаторов воздух подается через специальную врезку из шахты.

Удаление воздуха из подземных помещений ГЭС происходит естественным путем через общую шахту диаметром 6 м, разделенную перегородкой на две части. Вниз от шахты отходят два наклонных участка диаметром по 4 м, соединенные с подсводовой частью машинного зала и помещения трансформаторов, где размещаются вытяжные воздуховоды. На дневной поверхности шахта заканчивается надшахтным строением.

Шахта приточной вентиляции имеет толщину обделки 1 м из бетона В 15; шахта вытяжной вентиляции - толщину 0,7 м. Вокруг шахт предусмотрена цементация грунта для снижения силового и агрессивного воздействия подземных вод на обделку.

Внизу шахты вытяжной вентиляции устанавливается водосборник, из которого профильтровавшая в шахту вода отводится по трубе в общую систему дренажа электростанции.

Сооружения выдачи мощности от трансформаторов включают туннель и галерею кабельных линий напряжением 500 кВ, а также пункты перехода кабельных линий в высоковольтную линию напряжением 500 кВ. Компоновка сечения туннеля может быть различной в зависимости от схемы прокладки кабелей (воздушной прокладки кабелей двух блоков в одном коридоре или каждого блока в одном коридоре; раздельной прокладки кабелей каждого блока в лотках с водой).

На рис. 4.25, а изображен туннель кабельных линий, скомпонованный по первой схеме. Туннель имеет длину 780 м и размер поперечного сечения 15,9 х 9,5 м. Обделка туннеля выполняется из бетона В 15 толщиной 0,5 м. Для снижения давления подземных вод предусмотрен шпуровой (в своде и стенах) и ленточных (в лотке) дренаж. Сечение туннеля разделено железобетонными перегородками на пять коридоров. В трех коридорах шириной по 2,2 м проложены маслонаполненные кабели напряжением 500 кВ; в полу коридоров устроены аварийные масловодостоки.

Два коридора шириной по 1,5 м выполняют эвакуационно-технологические функции.

Кабельные коридоры через каждые 100 м по длине разделены перегородками на отсеки. Из каждого отсека обеспечен независимый выход в технологический коридор.

Каналы силовых и контрольных кабелей проложены в полу технологических коридоров, коммуникации пожарного водопровода - по стенам коридоров.

Подсводовая часть туннеля используется в качестве вытяжного воздуховода, роль приточного воздуховода выполняют технологические коридоры. Вентиляционная установка расположена у входа в туннель. Кабели из туннеля переходят в галерею на открытой площадке и далее к пунктам перехода.

Ввиду того что здание станции расположено в верхнем бьефе плотины с максимальным заглублением под НПУ водохранилища до 350 м, вокруг помещений Рогунской ГЭС предусмотрено выполнение специальных дренажных и противофильтрационных мероприятий, реализуемых с помощью общей дренажной завесы и цементации грунта, которые предназначены максимально перехватить фильтрационный поток и снизить давление подземных вод на обделки помещений. Благодаря тому что дренажная завеса располагается на значительном расстоянии от контура выработок помещений ГЭС, гидродинамическое давление фильтрационного потока воспринимается глубинными слоями грунтового массива, расположенными с внешней стороны от дренажной завесы.

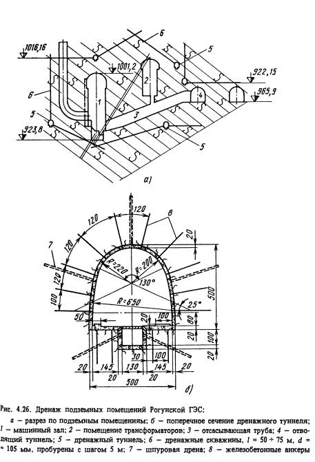
Для создания общей дренажной завесы предусмотрены дренажные туннели, расположенные в несколько ярусов по высоте, из которых разбуриваются скважины диаметром 105 мм. Сечение туннелей корытообразное, размером 4x4 м.Обделка выполняется из бетона В 15 толщиной 0,5 м. В лотке туннелей встраивается водотвод- ная канава, перекрытая железобетонными плитами. Обделка туннелей дренируется шпуровыми дренами (рис. 4.26).

В комплекс дренажной системы входят также водосбросные и эвакуационные штольни размером 2 х 2 м с обделкой толщиной 0,4 м из бетона В 15.

В процессе рабочего проектирования компоновка и конструкция некоторых вспомогательных выработок Рогунской ГЭС претерпели ряд изменений. Въезд в транспортный туннель принят боковым взамен торцового, что обеспечивает независимое выполнение общестроительных и монтажных работ в районе монтажной площадки. В транспортном туннеле предусмотрены водоводы для подачи воды в резервуары пожаротушения, размещенные в выработке машинного зала в районе въезда в транспортный туннель № 4. Главные вентиляторы вынесены на поверхность земли, для чего на отметке 1300 м предусмотрено возведение отдельного здания. Аккумуляторная ГЭС вынесена из состава помещений под монтажной площадкой в тоже здание. В здании устанавливаются кондиционеры для подачи приточного воздуха в машинный зал и в помещение трансформаторов. Подача воздуха осуществляется через вертикальную шахту, совмещенную с эвакуационным выходом наружу. По сечению шахты выделяется приточный воздуховод площадью 40 м2, разделенный перегородкой на два отсека для предотвращения перетекания воздушных потоков, подаваемых в помещения с производствами разных категорий.

В холодный период года предусматриваются мероприятия по утилизации тепла за счет циркуляции воздуха из помещений с избытком тепла (машинный зал, туннели токопроводов и помещения воздухоохладителей).

Удаление воздуха наружу осуществляется через единую вытяжную шахту за счет гравитационного напора. Вытяжная шахта также снабжена перегородкой для разделения воздушных потоков из помещений с разными производствами. Площадь внутреннего сечения шахты 25 м2.

Проектом предусматривается противодымная защита эвакуационных выходов путем создания избыточного давдения воздуха в ласт личных клетках и транспортном туннеле. Предусмотрено автомата чеекое включение вентиляторов от димоиэвещателей.

Для транспортных туннелей принята самостоятельная приточив вытяжная вентиляция с раздельными системами для сооружений, расположенных на левом и правом берегах.

Прокладка маеяонапояиенных кабелей напряжением 800 кВ от помещения трансформаторов до пункта перехода кабельных линий предусматривается в двух туннелях. В туннеле № 1 е площадью по перечного сечения по выработке 39,1 м2 (5 и 8,4 м) прокладываются кабели агрегатов, а в туннеле N 2 е площадью поперечного сечения §5,7 м2 (7,3 1,4 м) от агрегатов N9.

Машинный зал Борисоглебской ГЭС не имеет монтажной площад кн, а помещения мастерских расположены в наземном админиетра тинном здании. Въезд в помещения станции осуществляется по транспортному туннелю длиной 101 м. Вдоль стен туннеля прояоже на шинно-кабельная галерея к главным силовым трансформаторам, установленным рядом е административным зданием и открытой подстанцией. Строительный туннель используется в качестве аэра пленного, обеспечивающего вентиляцию подземных помещений и подвод воздуха к уравнительной камере.

Опыт эксплуатации Борисоглебской ГЭС показал, что проектиро панию вспомогательных выработок надо уделять самое серьезное внимание, чтобы исключить осложнения в период эксплуатации, Например, на этой ГЭС служебные туннели ие полностью связаны с автодорогами, в частности, не предусмотрен проезд транспорта в помещения привода турбинных затворов и заграждения отсасывающих труб, В этих помещениях кроме механического оборудования размещены также аппаратура электроуправлеиия приводом, теяь Ферм, светильники, оборудование насосной станции техводоенвб женин с хлораторной установкой и вспомогательный инвентарь. Транспортировка в эти помещения любых тяжеловесных грузов вязана е трудоемкими такелажными операциями.

Въезд в уравнительную камеру и подводящий туннель осущеет едяется через вспомогательный туннель, отходящий от транспорт туннеля. Отводящие туннели не имеют подъездов для меха «измов,

Скальные поверхности сухих выработок оставлены большей чвъю неукрепленными. На этих участках постоянно образуются шдоения, заколы очаги падения камней. Отслоению кусков екаяы способствует фильтрация подземных вод, не прекращающаяся круглый год. В помещении привода турбинных затворов отнееитеяь мая влажность с ноября по май колеблется в пределах 85-71% при температуре в помещении около, а в течение июня - октября 93-96% и выше, образуя туман и выпадение конденсата на по верхноети скалы и оборудования. В азрационном туннеле на учает ке длиной 10-18 м перед выходом, перекрытым только грубой рещеткой, зимой нарастают ледяные етологмиты высотой до 0,5 м.

Фильтрация приводит к снижению качества изоляции в шинной галерее, одной из стен которой служит открытая скальная поверх иоеть. Мелкие брызги, образующиеся при падении воды на уступы грунта, бетонные полки и гравийное основание насыщают воздух влагой и растворенными в ней солями, что постепенно приводит к уменьшению сопротивления фарфоровых изоляторов. Потолок шин ной галереи защищен бетонным перекрытием. Но отсутствие на нем гидроизоляции приводит к появлению над шинами опасного выса чивания воды по трещинам в бетоне из очагов фильтрации в еводе транспортного туннеля, Малый зазор между сводом туннеля и бе тонным перекрытием затрудняет устройство надежного водоотвода и обслуживание заложенного в перекрытии дренажа, Ненадежно вы полнена гидроизоляция примыкания свода транспортного туннеля к корпусу административного здания, вследствие чего бетон внут ренней отделки стен туннеля на входном участке подвержен выше яачиванию изза фильтрации воды, особенно интенсивной в период снеготаяния,

На построенной в 1141 г, Пинской основные осложнения в период эксплуатации связаны с фильтрационными водами, бы полненная из листового железа облицовка лифтового отсека меша яа обнаружить и ликвидировать очаги Фильтрации через бетонную сбдеяку, I связи с зтим облицовку пришлось снять, Фильтрационная вода попала в винопроводы, что привело к полному проржаве нию металлической брони на кабелях,

На Храмской подход с поверхности земли к помещению затворов осуществляется по туннелю длиной 127 м, а к помещению шаровых затворов по шинно-труэевому туннелю ддиной 441 м, Туннель пересекает в основном слаботрешиноватые крепкие туфо брекчии. Небольшой приток подземных вод наблюдается на отдель ных его участках.

Подземные сооружения гидроэлектростанций. - М.: Энергоатомиздат, 1996.

на главную