Эксплуатационные подземные водосбросы

Водосбросы с глубинным водоприемником. Водоеброс Нурекской ГЭС (Таджикистан). На Нурекской ГЭС сооружены два эксплуатационных водосброса. Один из них имеет глубинный водоприемник, расположенный на 100 м ниже НПУ водохранилища, другой - поверхностный. Водосбросы совместно с турбинами гидроэлектростанции рассчитаны на пропуск паводкового расхода водьы 0,01% обеспеченности, равного 5400 м3/с. Расчетный расход каждого водосброса 2000 м3/с. Через водосброс с глубинным водоприемником пропускаются также строительные расходы.

Водосброс с глубинным водоприемником включает входной оголовок, туннельную часть, узел ремонтного затвора, узел аварийных и основных затворов, концевую сопрягающую конструкцию.

Узел ремонтного затвора расположен на расстоянии 120 м от входного оголовка. На расстоянии 103 м ниже ремонтного затвора расположен узел аварийных и основных затворов. К узлу аварийных и основных затворов подведены аэрационный туннель, соединенный с аэрационной шахтой строительных туннелей, и грузовой туннель.

Туннель работает при скоростях потока до 40 м/с до основных затворов в напорном режиме, ниже - в безнапорном. Для аэрирования этого участка предусмотрены аэрационная шахта и туннель сечением 9 м2. В пространство между аварийными и основными затворами подводится воздух по трубам диаметром 1200 мм, выведенным на незатопляемые отметки.

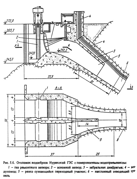
Входной оголовок (рис. 5.6) имеет наклонный вход и вписан в естественный скальный склон, что является оптимальным решением при девятибалльной сейсмичности района строительства. Туннель сечением 90-115 м2 имеет корытообразную форму со сводом полуциркульного очертания. Обделка туннеля выполнена из железобетона В 25 до аварийных затворов и В 30 на отводящем участке в пРеделах смоченного периметра сечения.

В качестве аварийных установлены плоские гусеничные затворы 9м, рассчитанные на напор 120 м, в качестве основных - сегментные затворы 5x6 м, напор ПО м. Маневрирование затворами Поизводится с помощью гидроподъемников. Концевой участок водосброса устроен в виде сливного лотка, заканчивающегося многоступенчатым трамплином с боковыми отклонителями струй. Такая Инструкция делит поток воды на отдельные раздробленные струи Поворачивает их вдоль русла реки. Благодаря этому уменьшается Мыв русла реки и противоположного берега и соответственно уменьшается барообразование и подтопление здания станции; работе водосброса происходит эжекция потока воды в реке.

На основании опыта эксплуатации строительного туннеля III яруса и исследований, выполненных НИС Гидропроекта для Братской и Саяно-Шушенской ГЭС, в водосбросе был предусмотрен всего один аэратор в месте перехода от туннеля к быстротоку, так кв излишняя насыщенность воздухом потока воды приводит к уменьшению эффективности носка быстротока.

Водосброс II яруса Чарвакской ГЭС (Узбекистан) пропускной способностью до 1100 м3/с предназначен для Холостых сбросов ГЭС и ирригационных попусков, а также для сброса паводков (до 500м3/с) совместно с шахтным водосбросом. При подъеме уровня воды в водохранилище после перекрытия туннеля I яруса и пуска расходов реки на агрегаты водосброс II яруса обеспечивал сброс паводков в период строительства.

Водосброс состоит из входного оголовка, напорного туннеля диаметром 9 м, шахты и камеры ремонтного затвора, помещения основных затворов и наклонной трубы за ним, примыкающей к отводящему каналу левобережных туннелей (см. рис. 5.3). Порог входного оголовка расположен на 72 м выше порога строительного туннеля I яруса и оснащен пазами для ремонтного затвора, предназначенного для отключения туннеля на осмотр и ремонт после сработки водохранилища до уровня мертвого объема (УМО). Узел ремонтного затвора расположен в среднем участке туннеля. Подъемный механизм затвора вынесен на незатопляемый пирс шахтного водосброса. Камера затворов запроектирована кругового сечения без переходных участков, что улучшает гидравлический режим работы водосброса и сокращает объем скальной выломки и бетона. Чтобы исключить в период эксплуатации возможность засорения пазух пазов затворов наносами, в них вмонтирована специальная металлическая вставка, закрывающая пазы по контуру сечения туннеля.

Помещение основных затворов расположено в конце напорного туннеля. Затворы размещены в начале наклонного участка водовода. Такая компоновка имеет следующие преимущества: обеспечивается безвакуумное протекание бурного безнапорного потока ниже основных затворов за счет ликвидации криволинейного участка отводящего тракта; создается возможность вписать наклонный участок водосброса в рельеф местности без устройства бетонной подушки. Высоконапорные сегментные затворы пролетом 5 м и высотой 6 м имеют гидравлически управляемые уплотнения, расположенные на закладных частях, что обеспечивает при частичных открытиях затворов отсутствие вибрации и протечек воды.

На участке ниже камеры водосброс сопрягается с отводящим каналом двухочковой железобетонной трубой прямоугольного сечения, работающей в безнапорном режиме.

Для защиты от кавитации начальный участок трубы длиной 23,3 м н пределах днища и стен имеет стальную оболочку. Однако из-за относительно небольшой длины облицованного сталью участка, а также возможности повреждения железобетонного крепления дна отводящего канала при работе из-под затворов водосброса И яруса на донной части трубы установлены два трамплина с аэрационнымн трубами для аэрации придонного слоя потока. На остальной длине (без стальной оболочки) труба в пределах смоченного периметра покрыта защитными эпоксидными составами.

Строительно-эксплуатационный водосброс Байпазинской ГЭС (Таджикистан). В состав сооружений Байпазин ской ГЭС входят: реконструированная каменно-земляная плотина, водоприемник ГЭС, два подводящих туннеля диаметром 13,5 м, четыре турбинных водовода, открытое здание ГЭС, поверхностный водосброс и подземный строительно-эксплуатационный водосброс. Строительно-эксплуатационный водосброс диаметром 13,5 м примыкает к низовому торцу правого подводящего туннеля ГЭС и имеет длину 146 м. Туннель закреплен железобетонной обделкой толщиной 0,6 м. В конце туннеля сооружена камера затворов, за которой выполнен лоток со струеотбрасывающим носком - трамплином.

Водосбросы с поверхностным водозабором. Шахтный водосброс Чарвакской ГЭС (Узбекистан). Водосброс рассчитан на пропуск расхода воды 1200 м3/с при разнице отметок бьефов 150 м. Скорости воды в колене и отводящем туннельном участке достигают 45 м/с. Входной оголовок выполнен в виде полуциркульной воронки с четырьмя отверстиями по 14 м, перекрываемыми сегментными затворами (см. рис. 5.3).

Вертикальная шахта имеет диаметр 11 м и глубину 60 м. На высоте 40 м от дна отводящего туннеля шахта стеснена односторонним выступом-носком до полукруга радиусом 5 м, образующего в шахте горловину. Затем шахта криволинейным коленом круглого сечения диаметром 10 м, радиусом закругления 35 м сопряжена с отводящим туннелем диаметром 11 м. В месте сопряжения имеется уступ. В торцовой части сопряжения в туннеле устроена бетонная пробка, отделяющая строительный туннель. Вдоль ствола шахты в специальном уширении ее обделки предусмотрены три аэра ционные трубы общей площадью 4,1 м2 для подачи воздуха в к° лено с выходом под носком.

Отводящий туннель шахтного водосброса диаметром в свету 11 м на участке сопряжения с шахтой имеет обделку из железоба тона В 30 толщиной до 2,2 м. В первый период эксплуатации тунне пропускал строительные расходы с большим объемом твердого стока р. Чирчик. Три года туннель работал в регулируемом режиме при напорах от 80 до 93 м.

Эксплуатационный водосброс Нурекской ГЭС (Таджикистан). Водосброс состоит из поверхностного водоприемника, наклонного туннеля (шахты), узла сопряжения с отводящим туннелем, отводящего туннеля (части строительного туннеля III яруса) с концевой конструкцией. Водоприемник имеет два отверстия, выполненные в виде водослива практического профиля с порогом, на котором установлены плоские скользящие ремонтные и сегментные основные затворы.

Обычно такие оголовки имеют длинные переходные участки от более широкого входного фронта к более узкой отводящей наклонной шахте с целью исключения стоячих волн и возможности захлебывания водосброса.

Оголовок эксплуатационного водосброса с поверхностным водозабором на Нурекской ГЭС имеет два отверстия 12; 12,3 м, а отводящий наклонный туннель имеет ширину 10 м. Переходный участок короткий, с круто сходящимися вдоль потока стенами и с пониженным потолком (забралом), выше которого расположен воздуховод (см. рис. 5.6). В конце переходного участка к оголовку примыкает наклонный (под углом 30° к горизонту) туннель корытообразного очертания с сечением 10x10 м. Туннель закреплен обделкой из железобетона В 25 и В 30 толщиной 0,8-1 м. Наклонный туннель внизу примыкает к узлу сопряжения со строительным туннелем III яруса, в начальной части которого бетонируется пробка. Сливная поверхность сопрягающей пробки выполняется по плавной кривой, в конце которой сделан уступ.

В нижней части пробки заложены три трубы, служащие для поступления воздуха из отключенной части строительного туннеля III яруса к уступу и для отвода воды, профильтровавшейся через уплотнения затворов. Благодаря подводу воздуха за носком пробки даже при прохождении потока воды со скоростями до 55 м/с исключаются образование опасного вакуума и кавитационная эрозия обделки. Пробка бетонировалась отдельными блоками, изолированными друг от друга тонким слоем антиадгезионного состава. Такая конструкция исключает необходимость разборки обделки перед устройством сопрягающей пробки, сокращает время на разборку пробки и также исключает необходимость восстановления обделки после удаления пробки. Выше этой пробки в строительном туннеле III яруса предусмотрено сооружение постоянной пробки, рассчитанной на напор 185 м.

Концевое сооружение выполнено из железобетона В 30 в внде лотка шириной 10 м со сливной поверхностью, очерченной по коор. динатам водослива практического профиля. Лоток заканчивается расширяющимся в плане до 29,2 м струеотбрасывающим носком трамплином.

На сливной поверхности лотка выполнены с шагом 15 м пазы- аэраторы с уступом, к которым автоматически поступает (всасывается) воздух по трубам (или прямоугольным каналам), расположенным в стенках лотка. Между пазами-аэраторами поверхность лотка выполнена плоской. Шаг ступеней, их высота и количество, а также расход воздуха назначались исходя из условия обеспечения возду. хонасыщения придонного слоя потока. Площадь сечений воздуховодов за порогами была принята приблизительно равной 2 м2 в подземной части, и 3 м2 - в открытой части сливного лотка. Вакуум за ступенями должен был составлять 1 и 0,5 м водн.ст., а скорости в воздуховодах до 60 м/с при скоростях потока воды до 40 м/с. Высота ограждающих стенок лотка, равная 12 м, принята по условиям пропуска максимального расхода воды (2400 м3/с).

Натурные наблюдения за работой пазов-аэраторов, выполненные в паводок 1976 г., показали, что аэрирующее устройство в виде паза с уступом работает эффективно. Расход воздуха через каждый аэратор составлял от 10 до 14% расхода воды. Поскольку это почти в 2 раза выше концентрации воздуха, необходимого для предотвращения кавитационной эрозии бетона, было рекомендовано сокращение пропускной способности пазов-аэраторов и соответственно расхода воздуха не менее чем в 2 раза. Исследования проводились при расходах воды 450-970 м3/с и скоростях 34-37 м/с.

При сбросе воды с концевого участка туннеля образовывалась водяная пыль, которая перемещалась на несколько сот метров и увлекала за собой растворимую в потоке воды соль, отложения которой расположены на противоположном правом берегу. При осаждении соленасыщенной водяной пыли на деревьях, строениях, опорах и линиях электропередачи образовывалась плотная пленка.

Водосбросы Капчагайской ГЭС (Казахстан). Туннели длиной 200 м (первый) и 211 м (второй) имеют уклон 0,004, ширину 10 м- высоту 12 м, площадь сечения 110 м2 и проходят в гранитопорфира и порфирах с дайками порфиритов. Обделка железобетонная, толщиной от 0,4 до 2 м; бетон в лотке и стенах В 30, в своде - В 20

Туннели в первый период пропускают строительные расходы, второй - эксплуатационные. В первом периоде туннели работав на всей длине, во второй - на участке ниже подключения водосбросов. Для отключения строительных туннелей их входные порталы оборудованы затворами.

Туннели рассчитаны на пропуск строительных расходов 0,1%-ной обеспеченности (830 м3/с), скорость воды при этом составляет 8 м/с.

Водосброс Чиркейской ГЭС (Россия). Эксплуатационный водосброс расположен на левом берегу на расстоянии 85 м от плотины и обеспечивает пропуск в безнапорном режиме сбросных расходов: при отметке НПУ - расчетного 2400 м3/с, при отметке ФПУ - поверочного 2900 м3/с. Прямолинейный в плане водосброс состоит из головного сооружения, безнапорного туннеля длиной 509 м, открытого лотка длиной 144 м и концевого устройства длиной 77 м в виде трамплина с боковым сливом, обеспечивающего сопряжение сбросного расхода с нижним бьефом. Концевое устройство представляет собой участок лотка без правой стенки, длина и форма которого подобраны в результате лабораторных исследований и обеспечивают отброс потока в русло при достаточно низких значениях удельных расходов по длине струи. Для зашиты берега от размыва при малых расходах (до 500 м3/с) предусмотрена наклонная плита - отражатель, расположенная на склоне ниже основного трамплина. При больших расходах отражатель не работает, так как вода перелетает через него.

Внедренное концевое устройство показало вполне удовлетворительную работу в широком диапазоне сбросных расходов и напоров. При пропуске расходов до 800 м3/с через временный водосброс (1975 г.) и до 1200 м3/с через эксплуатационный (1976 г.) установлено, что сбросной поток достаточно равномерно распределяется по длине русла без падения значительных масс воды на склоны ущелья. В натуре зафиксирована значительная аэрация потока, создающая дополнительное, по сравнению с модельным прогнозом, дробление струи и снижение динамического воздействия потока на русло.

Применение нового типа концевого устройства водосброса особенно эффективно при сопряжении бьефов в узких каньонах, сложенных сильно трещиноватыми и легко размываемыми породами.

Комбинированные водосбросы (с глубинным и поверхностным водоприемниками). Водосброс Рогунской ГЭС (Таджикистан) расположен на правом берегу реки, имеет глубинный (пропускная способность 1750 м3/с) и поверхностный (пропускная способность 1630 м3/с) водоприемники и общий отводящий тракт.

Водосброс с глубинным водоприемником имеет порог входного оголовка, расположенный на 40 м ниже УМО водохранилища. Он используется в период пропуска строительных расходов при начальном наполнении водохранилища, а также при необходимости ирригационной сработки водохранилища ниже УМО.

Водосброс с глубинным водоприемником включает входной портал, два напорных участка туннеля, узел ремонтных затворов, узел аварийно-ремонтных и основных затворов и безнапорный участок туннеля.

Ремонтные затворы размерами 2 х 4,5 м, рассчитанные на напор 146 м, расположены в отдельной шахте. Узел аварийно-ремонтных и основных затворов находится на прямолинейном участке трассы, так как скорости воды за затворами достигают 50 м/с, В камере установлены два плоских аварийно-ремонтных затвора 5 х 7,5 м, напор 146 м и два сегментных основных затвора 5x6 м, напор 146 м. Проход в помещение подъемных механизмов затворов осуществляется по транспортному туннелю и через аэрационно-смотровую шахту. В шахте имеются лифтово-лестничный и аэрационный отсеки. По последнему воздух подается к затворам. Аэрационно-смотровая шахта соединена туннелем с площадкой оголовка шахтного водосброса.

Водосброс с поверхностным водоприемником (шахтный) расположен в глубине бортового вреза, ограниченного с трех сторон крутыми склонами. Оголовок имеет три водоприемных отверстия шириной по 14 м с отметкой порога 383,5 м, охватывающих водозаборный фронт в четверть окружности. Ограниченность водозаборного фронта обусловлена рельефом местности. Отметка порога 383,5 м определилась необходимостью пропуска расхода воды 1130 м3/с при НПУ и 1630 м3/с при ФПУ. Пролеты оборудованы сегментными затворами размерами 14 x7 м, рассчитанными на напор 6,5 м. Воронка оголовка переходит в шахту диаметром в свету 13 м, имеющую обделку толщиной 1,5 м из железобетона В 25. Шахта заканчивается носком-струеотклонителем, уменьшающим живое сечение шахты до 37%, и вертикальным коленом, направляющим безнапорный по- токк в камеру сопряжения. С низовой стороны шахты в ее обделке проложены три аэрационные трубы диаметром по 1,5 м, по которым подводится воздух за носок-струеотклонитель.

Обделка камеры узла сопряжения выполнена из железобетона В 25 толщиной 2 м. При пропуске через узел расхода воды 3380 м3/с на обделку действуют большие динамические нагрузки, поэтому она прианкерена к породному массиву. Для защиты от кавитационной эрозии нижняя часть шахты и камера сопряжения имеют стальную оболочку толщиной 30 мм у шахты и 20 мм у камеры сопряжения. В конце оболочки имеется пазаэратор.

Концевое сооружение эсплуатационного водосброса запроектировано в виде сливного лотка-быстротока, расположенного на склоне и заканчивающегося сопрягающей конструкцией, которая решена в виде многоступенчатого виража с резким поворотом на 63°.

Подземные сооружения гидроэлектростанций. - М.: Энергоатомиздат, 1996.

на главную