ВИДЫ ОТОПИТЕЛЬНЫХ ПРИБОРОВ

Выпускаемые в нашей стране отопительные приборы можно классифицировать по следующим признакам:

а) по материалу — чугунные, стальные, бетонные;

б) по конструктивным особенностям — высокие, средние, низкие, собираемые из отдельных элементов (одно-, двух- и многоканальные), блочные (двух- и многоэлементные), ребристые, гладкие с кожухом и без кожуха, панельные (плоские и профилированные);

в) по способу теплоотдачи — конвективные, радиационные и конвективно-радиационные. Конвективные приборы или конвекторы передают тепло в основном путем естественной или вынужденной конвекции, лучистая теплоотдача их составляет не более 10 %; радиационными приборами являются плоские панели, у которых преобладает теплоотдача излучением; конвективно-радиационные приборы являются наиболее распространенными и передают тепло как конвективным, так и радиационным путем — теплообменная поверхность этих приборов весьма разнообразна и зачастую геометрически сложна;

г) по теплоотдаче прибора с единицы его длины; по этому признаку отопительные приборы разделяют на три группы — низкой, средней и большой теплоотдачи. Повышение теплоотдачи с единицы длины достигается оребрением или профилированием греющих поверхностей и многорядной установкой.

Длительное время единицей измерения греющей площади являлся квадратный метр. Эта величина, показывающая фактическую поверхность теплоотдачи отопительного прибора, не отражала полностью его теплотехнических качеств и не стимулировала поисков более совершенных и экономичных конструкций отопительных приборов.

С 1957 года в целях более правильной технико-экономической оценки и стимулирования производства более совершенных конструкций отопительных приборов, дающих максимальный тепловой эффект и экономию металла, Госстроем СССР была введена новая единица измерения греющей площади — эквивалентный квадратный метр (экм). Эквивалентным квадратным метром называют такую условную греющую площадь отопительного прибора, через которую при разности средней температуры теплоносителя в приборе и окружающего воздуха 64,5 °С и при подаче теплоносителя в количестве 17,4 кг/ч в открыто установленный у стены прибор по схеме сверху— вниз рбеспечивается тепловой поток, равный 506 Вт. При определении теплоотдачи новых конструкций приборов теплоотдающая площадь их, подлежащая испытанию, должна составлять около 2 экм.


Наиболее распространенными в настоящее время являются чугунные отопительные приборы, требуемую греющую площадь которых собирают из отдельных одно-, двух- или многоколонных элементов. Материалом для изготовления элементов таких приборов является серый чугун. Сборку элементов производят с помощью специальных ниппелей из ковкового чугуна, имеющих правую и левую наружную трубную резьбу. При теплоносителе с температурой до 100 °С уплотнителем при сборке элементов являются прокладки из термостойкой резины или из тряпичного картона, смоченного в воде и проваренного в натуральной олифе, а при параметрах теплоносителя более 100 °С применяют прокладки из термостойких материалов — паронита или клингерита.

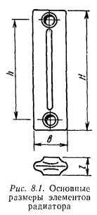
Характерными размерами элементов чугунных радиаторов являются: строительная или монтажная высота (расстояние между центрами ниппельных отверстий) — h, полная высота — Я, строительная глубина — b и строительная длина — I (рис. 8.1).

Одним из наиболее распространенных и выпускавшихся в нашей стране в течение длительного периода был чугунный радиатор типа «Польза». При значительном расходе металла —40 кг/м2 — теплотехнические качества этого радиатора были невысокими. Объясняется это тем, что значительная часть греющей площади радиатора «Польза» и других типов отопительных приборов, собираемых из отдельных элементов, подвержена взаимному облучению и вследствие этого из результирующего теплообмена излучением исключается около 75 % площади. Относительное уменьшение теплоотдачи излучением сказывается тем больше, чем большее количество элементов имеет отопительный прибор. Кроме того, большая площадь сечения колонок радиаторов предопределяет весьма малые скорости движения теплоносителя в них, чем в значительной степени снижается величина теплоотдачи от теплоносителя к внутренней поверхности колонки радиатора и соответственно снижается величина общего коэффициента теплопередачи отопительного прибора.

Более поздние конструкции одно- или двухколонных элементов чугунных отопительных приборов, выпускавшихся в разное время нашей промышленностью (рис. 8.2), существенно не улучшили качества отопительных приборов. Оказалось возможным лишь уменьшить массу чугуна, идущего на изготовление радиаторов, до 27 кг/м2 и строительную глубину. Величина коэффициента теплопередачи осталась почти на том же уровне, что и у радиаторов типа «Польза».



В настоящее время наиболее распространенным является чугунный радиатор М-140-АО (рис. 8.3.), характеристика которого приведена в табл. 8.1. Радиатор имеет строительную высоту 500 мм, но по специальным заказам могут выпускаться низкие радиаторы, строительная высота которых 300 мм (М-140-АО-300).

Карагандинский завод отопительного оборудования выпускает разработанные НИИ санитарной техники двухколонные чугунные радиаторы «Стандарт» пяти типоразмеров. Эти радиаторы идентичны по конструкции и отличаются высотой и глубиной. Они рекомендуются к применению в учреждениях здравоохранения и уникальных зданиях. Технические характеристики радиаторов «Стандарт» приведены в табл. 8.1.

Технические условия на чугунные радиаторы, предназначенные для систем отопления жилых, гражданских и производственных зданий, регламентируются ГОСТ 8690—75. Одним Рис. 8.3. Радиатор 113 существенных недостатков чугунных при- М-140-А0А боров является то, что они допустимы к применению лишь в тех системах отопления, избыточное давление в низших точках которых не превышает 0,6 МПа.


Кроме радиаторов, выпускаются еще чугунные ребристые трубы с круглыми ребрами по ГОСТ 1816—76 (рис. 8.4). Наличие ребер значительно увеличивает греющую площадь и делает прибор компактным, но взаимооблучение ребер снижает теплотехнические качества прибора. Затруднена также очистка прибора от пыли. Поэтому установка ребристых труб допускается лишь в помещениях с малыми пылевыделениями и временным пребыванием людей.


Отопительными приборами могут являться и гладкие трубы, собираемые в виде змеевиков или регистров. Применять гладкие трубы в качестве отопительных приборов следует в исключительных случаях и обоснованно. Данные о греющей площади труб приведены в табл. 8.2.

Из холоднокатаных листов стали высокого качества производятся сварные панели М3. Это — две отштампованные плоские панели, при сварке которых образуются вертикальные каналы для прохода теплоносителя. Такие панели называются радиаторами стальными вертикальными (РСВ) и применяются одиночными и спаренными (рис. 8.5), Данные о штампованных панелях приведены в табл. 8.1. Теплотехнические качества одиночных штампованных панелей выше, чем у чугунных радиаторов, так как почти вся поверхность отдает тепло излучением и конвекцией. Применение спаренных панелей М3 снижает их теплоотдачу примерно на 30 %.


К подобному тину приборов относится штампованная панель прибора змеевикового типа ЗС-11-3(4, 5, 6, 7), имеющая греющую площадь 0,97...2,13 экм.

В настоящее время выпускается стальная листотрубная панель, состоящая из профилированного стального листа и змеевика из водогазопроводных труб, привариваемого к листу с тыльной стороны. Такие отопительные приборы бывают одиночными — КЛТ-1 (2, 3, 4, 5, 6, 7) с греющей площадью от 0,77 до 2,58 экм и спаренными— 2КЛТ-2 (3, 4, 5, 6, 7) с греющей площадью от 1,75 до 4,38 экм.


К металлическим отопительным приборам относятся и конвекторы «Прогресс» с замкнутым оребрением (рис. 8.6). Их элементы изготавливаются из труб Ду15 и Пу20 с плотной насадкой на них ребер из листовой стали рядового проката толщиной 0,7 мм. Конвекторы используются для настенной или напольной установки и комплектуются в группы, состоящие из нескольких элементов, соединенных между собой параллельно или последовательно. Допускается одно- или двухрядная установка конвекторов по высоте. Секции конвекторов могут быть концевыми или проходными. При однорядной установке по высоте и Ду15 греющая площадь может быть от 0,49 до 2,46 экм (при массе от 4,4 до 18,3 кг), а при трубах Ду20 и двухрядной установке по высоте греющая площадь составляет от 0,84 до 4,22 экм при массе от 9,77 до 43 кг.

В общественных, жилых и административных зданиях можно использовать отопительный конвектор типа «Комфорт», состоящий из греющего элемента, кожуха, воздушного клапана для регулирования теплоотдачи и воздуховыпускной решетки, образованной профилированными ребрами. Греющий элемент состоит из стальных труб с насаженными на них пластинами оребрения.

Конвекторы «Комфорт» выполняются двух типов: настенные — навешиваемые на стену (рис. 8.7) и островные — устанавливаемые на полу. Оба типа конвекторов могут быть проходными (для соединения последовательно друг с другом) и концевыми. Конвекторы изготавливаются двухтрубными с шагом оребренйя 5 и 7,5 мм при ?>у15 и шагом оребренйя 5 и 10 мм при DY20, а по длине оребренной части выпускается несколько типоразмеров: от 500 до 1300 мм. В конвекторах «Комфорт» регулирование теплоотдачи осуществляется по воздуху, что позволяет при их применении использовать наиболее индустриальные и дешевые системы отопления для обеспечения требуемых условий в помещениях.


Напольные конвекторы «Ритм» предназначаются для установки в помещениях общественных зданий (вестибюлях, фойе, обеденных залах столовых и т. д.) и в аналогичных помещениях вспомогательных зданий промышленных предприятий. Эти конвекторы имеют трубчато-пластинчатые греющие элементы с трубками Dy20 при длине их 900 мм. Конвекторы выпускаются концевыми и проходными. Технические характеристики конвекторов, методика их подбора и коэффициенты местных сопротивлений приведены в «Строительном каталоге» (часть 10, раздел I, подраздел 10).


Для отопления лестничных клеток, вестибюлей и других помещений жилых, общественных и производственных зданий большого объема выпускаются также высокие конвекторы с кожухом.

Высота этих конвекторов — 600, 900 и 1200 мм при ширине 1400 и глубине 400 мм. Греющая площадь таких конвекторов составляет соответственно 10, 12 и 13 экм.

Серийно выпускается низкий конвектор типа «Аккорд» (рис. 8.8). Он состоит из двух расположенных в вертикальной плоскости стальных труб Dy20 с расстоянием между осями 155 мм и насаженных на них с шагом 40 мм П-образных ребер высотой 300 мм. Глубина ребер — 60 мм при толщине 0,8 мм. Конвекторы выпускаются длиной от 460 до 1580 мм. Греющая площадь — от 0,6 до 2 экм при однорядной и от 1,105 до 3,68 экм при двухрядной установке по высоте. Конвекторы могут применяться для отопления общественных, жилых и вспомогательных зданий промышленных предприятий.

Промышленностью выпускается чугунный плинтусный одноканальный конвектор, общий вид которого показан на рис. 8.9.


Стальные конвекторы, так же как и ребристые трубы, трудно содержать в должной чистоте. Однако при периодической чистке их пылесосом они могут устанавливаться и в жилых помещениях. Достоинство конвекторов в том, что они могут применяться в системах, имеющих давление до 1 МПа, т. е. давление, которое допустимо для труб, из которых эти конвекторы изготовлены.

В последнее время довольно широко начинают применять малометалльные приборы, представляющие собой змеевики или регистры из гладких труб, заделываемых в плоские бетонные панели, последние могут устанавливаться в помещениях в любых местах. Подробно вопрос о конструкциях, расчетах и применении таких отопительных приборов рассматривается в главе о системах отопления с греющими панелями.

Возможно изготовление отопительных приборов из фаянса. Такие приборы имеют красивый внешний вид и обладают хорошими теплотехническими показателями. Однако их стоимость значительно выше металлических и в нашей стране они не производятся.

Не исключена возможность, что по мере развития химической промышленности будут найдены способы получения термостойких пластмасс, пригодных для изготовления отопительных приборов, развитие которых в этом случае может получить совершенно новые направления как в отношении поиска форм и размеров, так и мест расположения приборов в помещении.

Андреевский А. К. Отопление: [Учеб. пособие для вузов по спец. 1208 «Теплогазоснабжение и вентиляция»]/Под ред. М. И. Курпана.— 2-е изд., перераб. и доп.— Мн.: Выш. школа, 1982.

на главную