РАЗНОСТЬ ЕСТЕСТВЕННЫХ ДАВЛЕНИЙ, ДЕЙСТВУЮЩИХ В ВЕРТИКАЛЬНЫХ ОДНОТРУБНЫХ ПРОТОЧНЫХ СИСТЕМАХ ОТОПЛЕНИЯ

В проточных однотрубных системах отсутствуют замыкающие участки у подводок к отопительным приборам, и вода, поступающая в стояк, проходит последовательно через все отопительные приборы. В случае двустороннего присоединения отопительных приборов к стояку вода распределяется поровну по обоим отопительным приборам, завися не от тепловой нагрузки, а от проводимости участков.

Недостатком проточных систем является невозможность регулирования теплоотдачи отдельных приборов, так как любое изменение расхода воды через один из приборов неизбежно скажется на работе всех остальных приборов стояка, а выключение приборов на любом из этажей полностью прекращает движение воды по стояку. Поэтому проточные системы применяют только в зданиях, где не требуется местное регулирование теплоотдачи отопительных приборов.


Разность естественных давлений в таких системах оказывается несколько больше, чем в системах с замыкающими участками, и сама система обладает высокой гидравлической устойчивостью.

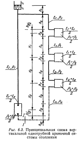
Рассмотрим принципиальную схему проточной системы (рис. 6.3), при этом допускаем, что в нагревателе и отопительных приборах по всей их высоте температура воды равна средней между температурами входа и выхода.

Так же, как и при определении естественного давления для двухтрубной системы, выбираем в замкнутом контуре сечение и определяем разность давлений по обе стороны этого сечения.

Давление столба воды на сечение I—I справа


Вычитая уравнение (6.9) из (6.10) и произведя элементарные преобразования, получим

Суммы высот, стоящие в скобках, представляют собою расстояния по вертикали между центрами отопительных приборов верхних этажей и центром нагревателя и самым низкорасположепным прибором. Заменяя эти суммы соответствующими обозначениями, уравнение (6.11) запишется в окончательном виде так:


Полученное уравнение по характеру построения похоже на уравнение (6.1) для стояка с замыкающими участками. Разница заключается в отсчете высот, которые для стояков с замыкающими участками принимаются между точками присоединения обратных подводок к стояку, а для проточных стояков — между центрами отопительных приборов. Поэтому при всех прочих равных условиях высота, на которую умножается самая большая разность плотностей, оказывается большей и соответственно большей получается разность естественных давлений.


Формуле (6.12), определяющей разность естественных давлений для однотрубного стояка, можно, помимо вида (6.5), придать и несколько иной вид, записываемый более кратко.

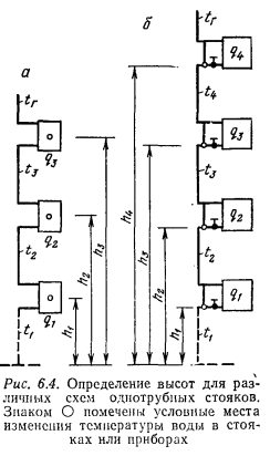
Сообразуясь с рис. 6.4, а, на котором изображен проточный стояк, разность давлений, создаваемую столбом воды высотою 13, можно выразить величиною gf>hz{tT~h) и затем добавить величины gh2(tz — t2) и (t2 —10), которые будут отражать прирост разности естественных давлений вследствие большего выстывания воды. Тогда



Из рис. 6.4,6 следует, что формула (6.13) приемлема не только для однотрубных проточных систем отопления, но и для систем отопления с замыкающими участками. Следует лишь правильно определять значение высот, отсчитываемых от точек изменения температуры в стояке.

Для определения полной величины разности давлений, действующей в циркуляционных кольцах проточных систем, необходимо к разности естественных давлений, определяемой формулой (6.12) или (6.13), прибавлять дополнительную разность давлений от остывания воды в теплопроводах с учетом особенностей определения ее величины для однотрубных систем (см. примечание 2 приложения IV).

Андреевский А. К. Отопление: [Учеб. пособие для вузов по спец. 1208 «Теплогазоснабжение и вентиляция»]/Под ред. М. И. Курпана.— 2-е изд., перераб. и доп.— Мн.: Выш. школа, 1982.

на главную