ГИДРАВЛИЧЕСКИЙ РАСЧЕТ ТРУБОПРОВОДОВ СИСТЕМ ПАРОВОГО ОТОПЛЕНИЯ НИЗКОГО ДАВЛЕНИЯ

Гидравлический расчет паропроводов проводится методом удельных потерь на трение [см. формулы (4.8) и (4.9)] или методом приведенных длин [формулы (4.11), (4.12) и (4.13)].

Вспомогательные таблицы для гидравлического расчета паропроводов методом удельных потерь на трение по структуре аналогичны таблице приложения IX. Таблица для расчета паропроводов низкого давления дана в приложении XVII, а величины pg — в приложении XVIII.

Значения коэффициентов местных сопротивлений принимаются по приложениям V и VI.

Потеря давления в местных сопротивлениях ориентировочно принимается в размере 35 % от общих потерь (см. табл. 4.2).

Для преодоления сопротивлений, не учтенных расчетом, оставляется запас величиной 10 % от расчетного давления.

Увязку давлений во взаимосвязанных частях системы производят с учетом потерь давления только для тех участков, которые не являются общими для этих частей. Разность потерь давления во взаимосвязанных участках не должна превышать 25 %.

Давление пара в котле для систем парового отопления низкого давления зависит от длины I паропровода от котла до наиболее удаленного стояка и принимается следующим:


При невозможности увязки потерь давления во взаимосвязанных частях системы применяются дросселирующие шайбы, варианты установки которых показаны на рис. 11.6. При необходимости устанавливают одну шайбу на стояк для всех отопительных приборов данного стояка или на ответвлениях к приборам, если разница в потере давления между приборами рассматриваемого стояка превышает 300 Па.

Диаметр дросселирующей шайбы (мм) определяется по формуле



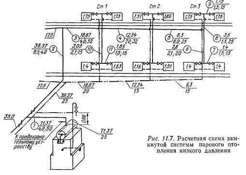
Пример. Рассчитать паропроводы одной из веток замкнутой системы парового отопления низкого давления (рис. 11.7).

Решение. Расчетное направление выбираем по участкам с большей нагрузкой по пути к наиболее удаленному от котла отопительному прибору и обозначаем их номерами с / по 7. Данные о нагрузках (кВт) на участках и их длины заносим в расчетный бланк, где отмечаем и местные сопротивления, имеющиеся на участках.



Ориентируясь на величину Руд = 65 Па/м, по нагрузкам участков в приложении XVII определяем диаметр паропроводов, скорости движения пара и действительные величины R. Значения коэффициентов местных сопротивлении принимаем по приложениям V и VI, а величины рд — по приложению XVIII. Данные расчета сводим в табл. 11.2.

В результате расчета получена потеря давления на расчетном направлении 3384 Па. С учетом необходимого давления перед прибором и запаса 10 % на неучтенные потери давление пара в котле должно быть





Расчет остальных участков рассматриваемой ветки системы отопления производится аналогичным образом.

Диаметры конденсатопроводов, указанные на рис. 11.7, подобраны в соответствии с данными приложения XIX.

Такой же метод расчета применяется и для разомкнутых систем парового отопления низкого давления.

Подбор требуемой греющей площади отопительных приборов при теплоносителе «насыщенный пар» определяется по плотности теплового потока на 1 экм по формуле


Аналогично определяется количество элементов и для других приборов

Андреевский А. К. Отопление: [Учеб. пособие для вузов по спец. 1208 «Теплогазоснабжение и вентиляция»]/Под ред. М. И. Курпана.— 2-е изд., перераб. и доп.— Мн.: Выш. школа, 1982.

на главную