ИСПОЛЬЗОВАНИЕ ГЕНЕРАТОРА ТЕПЛА КВАРТИРНОГО ОТОПЛЕНИЯ ДЛЯ ГОРЯЧЕГО ВОДОСНАБЖЕНИЯ

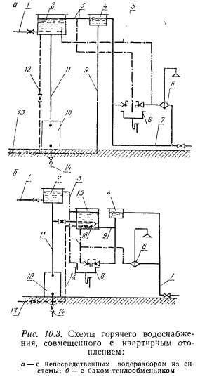
Непрерывная работа квартирных систем отопления необходима при расчетных наружных температурах, соответствующих температуре наиболее холодной пятидневки. В остальные периоды отопительного сезона и в летний период генератор тепла системы отопления можно использовать для приготовления горячей воды на бытовые нужды. Горячая вода может забираться непосредственно из системы отопления или приготавливаться в специальном теплообменнике. Обе схемы горячего водоснабжения, совмещенного с системой отопления, показаны на рис. 10.3.


Применение каждой из приведенных схем зависит от жесткости водопроводной воды. При небольшой жесткости воды (8...12°), достаточной теплопроизводитель- ности генератора тепла и возможности производить периодическую его очистку от накипи применяют схему рис. 10.3, а с непосредственным водоразбором из системы, а при более жесткой воде — схему рис. 10.3, б с теплообменником.

В схеме рис. 10.3, а вода в систему поступает из водопровода 7 через дозировочный бачок с шаровым краном 4 по питательной линии 9. На случай неисправности шарового крана предусматривают переливную трубу 3 из дозировочного бачка и расширительного бака 2, которая отводится к кухонной раковине.

При работе системы отопления и отсутствии необходимости разбора горячей воды кран на циркуляционной трубе 12 должен быть закрыт, а краны на разводящей трубе 1 системы отопления и обратной трубе 13 должны быть открыты. Вода в систему будет поступать из котла 10 по главному стояку И через расширительный бак 2 и по разводящей трубе 1, а возвращаться по обратной трубе 13.

При значительном разборе горячей воды на бытовые нужды краны на трубах 1 м 13 необходимо закрыть, а на трубе 12 — открыть. Нагретая в котле вода будет подниматься в расширительный бак, а холодная вода из бака по циркуляционной трубе 12, присоединенной ко дну бака, будет поступать в котел и подогреваться в нем. Благодаря возможности перемещения воды между котлом и баком вода в баке может быть нагрета до 80...90°С.

Горячая вода из расширительного бака, являющегося в данном случае и аккумулятором тепла, по трубе 5 поступает к местам ее разбора — к раковине 8 или к смесителю в ванной комнате 6. Труба 5 присоединяется к расширительному баку так, чтобы при большом водоразборе бак полностью не опорожнялся. Для общего опорожнения системы служит труба 14.

При такой схеме, когда расширительный бак является одновременно и аккумулятором горячей воды, полезный объем его должен быть значительно больше, чем только для системы отопления. Объем бака определяют для случая максимального расхода горячей воды, который имеет место при пользовании ванной и составляет 130 л воды при температуре 55 °С (СНиП II-34—76).

Количество тепла (кДж) для приготовления горячей воды, используемой в ванной, определяют по зависимости


Продолжительность нагревания воды т в часах до требуемой температуры зависит от теплопроизводительности котла Ок (кДж/ч) и может быть определена по выражению.

Для обеспечения хорошей циркуляции воды по трубам 11 и 12 их диаметр определяют расчетом как для обычного циркуляционного кольца при естественной циркуляции. Расчетный перепад давлений находят по формуле (5.3). Значения рг и р0 определяют для худшего случая, когда в трубе 11 вода имеет температуру 90°С, а вода в трубе 12 i0 = 80 °С. Количество циркулирующей по трубам 11 и 12 воды рассчитывают по формуле (4.6), принимая tT — t0 = 10 °С.

Устройство горячего водоснабжения по схеме 10.3, б осуществляют при высокой жесткости водопроводной воды. В этом случае подогрев воды, забираемой для целей горячего водоснабжения, происходит в специальном баке-теплообменнике 15, в нижней части которого устанавливают змеевик 16. Греющая вода поступает в змеевик из главного стояка системы отопления И, а остывающая отводится в котел по циркуляционной трубе 12. Циркуляция в этом кольце осуществляется вследствие возникающей в нем разности естественных давлений, а поэтому бак 15 желательно устанавливать как можно выше. В баке 15 необходимо предусмотреть возможность снятия змеевика для очистки его от накипи.

В этой системе подогрев воды для бытовых нужд может происходить одновременно с работой системы отопления, а при необходимости система отопления может быть выключена кранами на трубах 1 и 13.

Потребную емкость бака-теплообменпика 15 определяют так же, как емкость расширительного бака в схеме рис. 10.3, а. Греющая поверхность змеевика должна соответствовать теплопроизводительности генератора тепла. Потребную поверхность змеевика (м ) находят по формуле


Количество проходящей по змеевику греющей воды определяют так же, как и для циркуляционного кольца схемы рис. 10.3, а при наиболее неблагоприятных условиях, которыми следует считать конечный период подогрева воды в баке. В этом случае температуру воды, поступающей в змеевик, следует принимать 6- = 90°С, а уходящей от змеевика о = 80°С. Для этих же температурных условий рассчитывается и разность естественных давлений в циркуляционном кольце, необходимая для нахождения диаметра труб циркуляционного кольца. Диаметр главного стояка системы отопления определяют при расчете системы. Этот же стояк является составной частью циркуляционного кольца горячего водоснабжения, и его диаметр находят вторично при расчете этого кольца. Если при сопоставлении обоих расчетов диаметр главного стояка получит разные значения, то необходимо принимать больший диаметр.

Андреевский А. К. Отопление: [Учеб. пособие для вузов по спец. 1208 «Теплогазоснабжение и вентиляция»]/Под ред. М. И. Курпана.— 2-е изд., перераб. и доп.— Мн.: Выш. школа, 1982.

на главную