ГАЗОВОЕ ОТОПЛЕНИЕ

Термин «газовое отопление» следует признать не совсем удачным, так как непосредственно природным или искусственным газом помещения не отапливаются. Горючий газ является только топливом, которое может сжигаться в любых приборах, служащих для обогрева помещений. При этом для отопления допускается применять только такие устройства, из которых продукты сгорания газа отводятся в атмосферу. Отопление производственных, а тем более жилых помещений путем подачи продуктов сгорания газа непосредственно в отапливаемые помещения запрещено, так как воздух помещений, загрязненный окисью углерода, окислами азота и смолистыми веществами, в составе которых имеются и канцерогенные вещества, может нанести серьезный вред здоровью людей.

Специальные местные газовые отопительные приборы, выпускаемые нашей промышленностью, имеют ряд преимуществ по сравнению с системами центрального отопления, а именно: небольшие первоначальные затраты, малый расход металла, высокий кпд отопительных приборов, доходящий до 80—85 %, небольшая стоимость эксплуатации и простота обслуживания.

К недостаткам, связанным с применением газа для отопления помещений, следует отнести необходимость устройства каналов для отвода продуктов сгорания, возможность поступления продуктов сгорания в отапливаемые помещения при отсутствии приборов автоматики, пожаро- и взрывоопасность.


При использовании газа в качестве топлива в районах существующей застройки с печным отоплением топливник комнатных печей должен быть переделан на газовый с кирпичной насадкой и с установкой трубчатых газовых эжекционных горелок. При расходе газа до 2,5 м3/ч поддувальное отверстие должно иметь сечение не более 40 см2 с заслонкой для регулирования разрежения в топке в пределах от 2 до 20 Па.

При новом строительстве следует применять специальные отопительные газовые печи АКХ-СМ-1 тепловой мощностью 2000 Вт, АКХ-СМ-2 мощностью 4300 Вт или печь АКХ-14, тепловая мощность которой при двух топках в сутки составляет 2600 Вт. Эти печи, специально запроектированные для работы на газе, экономичнее обычных комнатных печей, переводимых на газовое топливо.

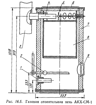
Печь АКХ-СМ-1 (рис. 16.5) имеет корпус 7 из стандартной асбестоцементной трубы, который снизу и сверху закрыт термоизолированными штампованными крышками 6. В нижней зоне печи устанавливаются горелка непрерывного действия 2 и металлический патрубок 1 для подачи воздуха в топливник. Для контроля за горением имеется лючок 9 со стеклом. Над горелкой расположена металлическая камера 8, образующая по периметру печи концентрический канал для прохода газов. В верхней зоне печи продукты сгорания попадают в газосборник, из которого через стальной соединительный патрубок 4 направляются в асбестоцементный газоход 3. Перед выходным патрубком 4 установлена заслонка 5 для регулирования подачи воздуха в печь. Топливник не футеруется. Печь устанавливается без фундамента.


Печь АКХ-СМ-1 снабжается терморегулятором, который устанавливается в отапливаемом помещении на подводящем газопроводе и обеспечивает постоянство температуры внутреннего воздуха с отклонениями не более ± 1°.

Печь АКХ-СМ-2 по габаритам и конструкции несколько отличается от печи АКХ-СМ-1.

Печь АКХ-14 кирпичная (рис. 16.6). Топливник 2 печи при установке горелок непрерывного горения 1 выполняется из красного кирпича, а при горелках периодического действия — из огнеупорного. Дымовые каналы в печи образуются кирпичами 3, поставленными в три яруса один над другим, и рассекателями 4, направляющими продукты сгорания к боковым стенкам. Над верхним сборным дымоходом установлен тягопрерыватель, предохраняющий печь от избыточной и обратной тяги. Через прерыватель происходит постоянная вентиляция помещения. Устанавливать печь следует так, чтобы топливник был обращен в кухню или коридор.

В качестве приборов местного отопления рекомендуются к применению устройства малой теплоемкости — автоматический газовый воздухонагреватель «Огонек» (НИИСТ Госстроя СССР), отопительный камин «Луч» (Саратовский институт Гипрониигаз) и другие.

Достоинство прибора «Огоцек» в том, что выброс продуктов сгорания осуществляется непосредственно наружу без дымоходов. Прибор предназначается для установки под окном, но не исключается установка и в других местах у наружных стен. Теплопроизводительность воздухонагревателя 1860 Вт, его кпд — 80%. Размеры прибора: ширина 744 мм, глубина — 138 мм, высота — 600 мм.

Газовый камин «Луч» снабжен автоматикой безопасности и терморегулятором, поддерживающим в помещении заданную температуру. Тепловая мощность камина 3200 Вт, его кпд — 87 %¦

Подбор рассмотренных отопительных приборов производится так же, как и подбор отопительных печей на твердом топливе,— по их теплопроизводительности.

Для обогрева отдельных рабочих мест на открытых площадках или в неотапливаемых помещениях большой высоты с площадью пола на одного работающего более 100 м2 применяются газовые приборы инфракрасного излучения. В закрытых помещениях продукты сгорания должны полностью удаляться непосредственно от таких приборов. Приборы инфракрасного излучения нельзя применять в помещениях, отнесенных по пожарной опасности к категориям А, Б и В, и в помещениях с горючими веществами и материалами, которые под действием лучистого тепла могут изменить свои свойства и выделять токсичные и взрывоопасные вещества.

Газовые приборы инфракрасного излучения имеют горелки беспламенного горения с керамической, керамико-металлической и металлической излучающей поверхностью, нагревающейся до температуры 500...900 °С. Доля тепла, отдаваемого излучением по отношению к общему количеству тепла, выделяемого приборами инфракрасного излучения, составляет от 55 до 82 %.

Для обогрева рабочих мест на открытых площадках горелки должны быть ветроустойчивыми, т. е. их работа должна гарантироваться при скорости ветра в пределах 3...5 м/с. Этим условиям отвечают горелки типа ГИИВ-1 (рис. 16.7) и ГИИВ-2: первая имеет тепловую мощность до 3700 Вт, а вторая — до 9300 Вт.

Для установки внутри помещений могут применяться инфракрасные излучатели различных типов, снабженные искровым или накальным электрическим зажигающим устройством и автоматикой контроля горения.

Газовые излучатели должны располагаться не ближе 1 м от сгораемых конструкций при прямом излучении.

Расчет отопления закрытых помещений с инфракрасными излучателями сводится к определению числа излучателей, места их установки и теплопроизводительности.


При не зафиксированных рабочих местах на площадке тепловая мощность системы отопления площадки (Вт) определяется по формуле


Количество излучателей определяется исходя из расстояний между ними и величины обогреваемой площадки. Тепловую мощность каждого излучателя (Вт), необходимую для его выбора, определяют по выражению

Аналогичным путем производится расчет и для обогрева отдельных зон в неотапливаемых помещениях.

Проектирование газопроводов к горелкам инфракрасного излучения или к другим газовым отопительным устройствам производится в соответствии с общими требованиями, излагаемыми в курсе «Газоснабжение».

Пример. Необходимо запроектировать обогрев инфракрасными излучателями открытой площадки размерами 10x10 м, на которой выполняются тяжелые работы. Температура наиболее холодной пятидневки — 25 °С, средняя скорость ветра в зимний период 3,5 м/с. Работа па площадке выполняется стоя.


Андреевский А. К. Отопление: [Учеб. пособие для вузов по спец. 1208 «Теплогазоснабжение и вентиляция»]/Под ред. М. И. Курпана.— 2-е изд., перераб. и доп.— Мн.: Выш. школа, 1982.

на главную