КОНСТРУКТИВНЫЕ ЭЛЕМЕНТЫ ПАРОВОГО ОТОПЛЕНИЯ

Конденсационные баки. Конденсационный бак служит емкостью для конденсационной воды, поступающей из разомкнутой системы парового отопления. Конденсационный бак сообщается с атмосферой и имеет герметически закрывающийся люк, водомерное стекло, переливную и спускную трубки.

На рис. VIII. 14 показан типовой конденсационный бак емкостью 1000 л, сваренный из листовой стали.


Емкость конденсационного бака в небольших котельных может быть принята равной объему конденсата, поступающего из систем отопления за 1—2 ч, а в больших котельных (с поверхностью нагрева котлов больше 200 м2) — объему конденсата, поступающего за время от 30 мин до 1 ч.

Конденсатоотводчики. Назначение конденсатоотводчиков — препятствовать прорыву пара в конденсатопровод, так как пар не всегда успевает сконденсироваться в нагревательных приборах и частично поступает в конденсационную лилию. Простейшим видом конденсатоотводчика является петля, согнутая из трубы (см. рис. VIII.3), которая играет роль водяного затвора и применяется при небольших давлениях пара (порядка 0,1 кгс/см2).

Принцип действия конденсатоотводчиков рассмотрим на примере (рис. VIII. 15). В зависимости от диаметров приемного и выходного отверстий (от Б до й—Б0мм) производительность конденсатоотводчиков этого вида меняется соответственно от 150 до 2800 кг/ч конденсата. Конденсат поступает через приемное отверстие корпуса 1. При подъеме уровня конденсата поплавок 2 всплывает вместе со стержнем 3, снабженным золотником 4. Последний закрывает отверстие 5 в отводной канал 6. При дальнейшем поступлении конденсат переливается в поплавок, который, опускаясь, открывает отверстие отводного канала.

После выдавливания конденсата паром поплавок снова всплывает, закрывая отверстие в канал 6.

Вентиль 5 служит для выпуска воздуха и пропуска через горшок больших количеств конденсата во время пуска системы отопления в действие. После прогрева трубопровода вентиль 5 закрывают. Для предотвращения затекания конденсата обратно в конденсатоотводчик служит обратный клапан 7

Для паровых систем низкого давления (от 0,2 кгс/см2) применяется конденсатоотводчик термического действия (рис. VIII.16). Он состоит из корпуса 1, в котором расположен сильф он 2, выполняемый из легко расширяющегося сплава в виде герметически закрытой коробки с волнистыми стенками Оильфон заполняется жидкостью, которая имеет температуру точки кипения 90—95°С. С сильфоном соединен клапан 3, открывающий и закрывающнй отверстие для выхода конденсата. При поступлении в конденсатоотводчик вместе с конденсатом пара жидкость в сильфоне вскипает, сильфон от нагревания удлиняется, и клапан закрывает выход из конденсатоотводчика. При охлаждении конденсата сильфон сжимается и открывает выход для конденсата.

Конденсатоотводчики подбирают по таблицам их технических характеристик и номограмм с учетом необходимой производительности и перепада давлений.


При установке конденсатоотводчиков предусматривается устройство обводной линии, служащей для пропуска конденсата во время прочистки и ремонта конденсатоотводчика (рис. VIII.17).

Подпорные шайбы. Вместо конденсатоотводчиков в ряде случаев можно устанавливать подпорные шайбы. Принцип действия подпорной шайбы основан на том, что при одной и той же разности давлений до и после нее шайба пропускает через себя конденсат и препятствует выходу пара.

Шайбы изготовляются из нержавеющей стали. Чтобы при малом отверстии шайба не засорялась, устанавливают сетку или вторую шайбу, служащую для предварительной грубой очистки конденсата от загрязнения. Схема установки подпорной шайбы приведена на рис.

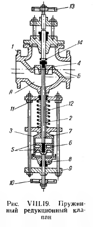
Редукционный клапан. Редукционный клапан применяется для понижения давления пара и создания за ним постоянного давления в паропроводе. На рис. VIII.19 показано устройство пружинного редукционного клапана, получившего наибольшее распространение на практике.

Пар входит через отверстие во фланце 1 и поступает в камеру А, которая сообщается трубкой 2 с цилиндром 3. Давление пара передается на золотник 4 и через трубку 2 на поршень 5. Поршень имеет уплотняющее резиновое кольцо 6 и шток 7, который жестко соединен с золотником 4. При перемещении поршня вниз или вверх золотник соответственно опускается или поднимается, изменяя количество, а следовательно, и давление пара, поступающего в систему. Площади золотникового отверстия и поршня одинаковы, поэтому изменение давления в камере А не оказывает влияния на степень открытия золотникового отверстия. При повышении давления в камере Б (т. е. после редукционного клапана) давление на золотник сверху увеличивается и передается через поршень 5 на шпиндель 8. Положение шпинделя 8 в траверсе 9 регулируется маховиком 10. Траверса 9 скреплена болтами с траверсой 11, вследствие чего при опускании траверсы 9 опускается и траверса 11. Опускание траверсы 11 приводит « сжатию пружины 12. Если давление пара за редуктором (т. е. в камере Б) уменьшится, то пружина 12 разожмется, что вызовет подъем траверс 11 и 9. поршня 5, шпинделя 8 и золотника 4. В результате приток пара в камеру Б увеличится и давление за редуктором восстановится. Для регулирования положения пружины на заданное давление пара в системе отопления служит маховик 10.


Редукционный клапан может служить и запорным вентилем. Для этого в верхней части клапана имеется маховик 13 со шпинделем, который при помощи головки 14, преодолевая сопротивление пружины, может прижать золотник 4 к седлу.

Редукционный клапан понижает давление пара на 5—7 кгс/см2, поэтому для создания больших перепадов давлений пара следует устанавливать два редукционных клапана.

Редукционные клапаны подбирают по расходу и давлению пара с помощью номограмм и технических характеристик, которые приводятся в справочниках по проектированию систем отопления и вентиляции.

Насос для перекачки конденсата из конденсационного бака в котел. Для перекачки конденсата из конденсационного бака в паровые котлы устанавливается насос производительностью, равной двухчасовому расходу конденсата. Насос следует устанавливать так, чтобы его всасывающее отверстие всегда было залито конденсатом. При несоблюдении этого условия во всасывающем трубопроводе возможно вскипание конденсата, в связи с чем будет нарушена нормальная работа насоса. Поэтому ось насоса устанавливают всегда ниже дна конденсационного бака на 300—400 мм.

Насос должен создавать давление


Мощность электродвигателя к насосу определяется по формуле (VII.3).

Предохранительный клапан. Предохранительные клапаны служат для ограничения давления в различном оборудовании, котлах и трубопроводах. Их устанавливают, как правило, на паровых котлах высокого давления и на магистральных паропроводах при подаче пара в системы отопления высокого давления. В ряде случаев, когда почему-либо нельзя ограничиваться установкой обратного клапана на обводной линии (у задвижки) водяного котла, предохранительные клапаны устанавливают на горячем трубопроводе водяного котла.

Предохранительные клапаны бывают рычажными (с одним или двумя рычагами) и пружинными. Наибольшее распространение получили рычажные клапаны.


При увеличении давления сверх допустимого клапан открывается и избыток пара удаляется в атмосферу через выхлопную трубу. На выхлопной трубе от клапана нельзя устанавливать запорные приспособления.

Михайлов Федор Семенович ОТОПЛЕНИЕ И ОСНОВЫ ВЕНТИЛЯЦИИ - М.: Стройиздат, 1972.

на главную