|
Купить радиаторы отопления в СПб по выгодной цене
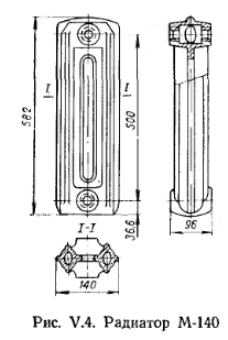
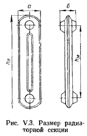
КОНСТРУКЦИИ НАГРЕВАТЕЛЬНЫХ ПРИБОРОВ И ИХ ТЕХНИЧЕСКИЕ ХАРАКТЕРИСТИКИК нагревательным приборам, применяемым в системах центрального отопления, относятся чугунные и стальные радиаторы, чугунные ребристые трубы, стальные и чугунные конвекторы, бетонные отопительные панели и приборы, изготовляемые из стальных труб в виде регистров и змеевиков. Чугунные радиаторы. Чугунные радиаторы являются наиболее распространенным видом нагревательного прибора. Их отливают из серого чугуна отдельными секциями или блоками, состоящими из нескольких секций. Из этих секций собирают приборы с поверхностью нагрева, требуемой по расчету. Секции радиаторов в зависимости от числа вертикальных каналов подразделяют на одноканальные, двухканальные и многоканальные. В настоящее время применяются исключительно двухканальные радиаторы. Секции радиаторов соединяют на специальных станках в нагревательные приборы при помощи ниппеля — короткого цилиндра с наружными резьбами (с одного конца — правой, а с другого — левой) и двумя продольными приливами (валиками) на внутренней поверхности (рис. V. 1 ,а). Для соединения секции между собой используют торцевой радиаторный ключ (рис. V. 1,6), расплющенный на одном конце в виде лопаточки. При свертывании секций лопаточка радиаторного ключа упирается в валик ниппеля и придает ниппелю при помощи воротка (рис. V. 1, в) вращательное движение. Соединение радиаторных секций показано на рис. V. 2. Радиаторные секции соединяют между собой на прокладках толщиной до 1,5 мм. При теплоносителе горячая вода с температурой до 100°С применяются прокладки из тряпичного картона, смоченные в воде и проваренные в натуральной олифе со свинцовым суриком; при теплоносителе пар и вода с температурой выше 100°С — прокладки из паронита, проваренные в том же составе. Можно также применять прокладки из термостойкой резины. В отверстия крайних секций сгруппированного радиатора ввернуты четыре чугунные пробки, из которых две сквозные служат для присоединения прибора к трубопроводу, а две без отверстий — глухие. Размер радиаторной секции определяется ее строительной (монтажной) высотой hполной высотой hn, глубиной а и шириной б (рис. V. 3). Строительной и монтажной высотой радиаторной секции называется расстояние между центрами ниппельных отверстий секции. Чугунные радиаторы рассчитываются на рабочее давление ![]() ![]() ![]() Для теплотехнической оценки того или иного нагрева тельного прибора служит так называемый «коэффициент пересчета», который показывает, во сколько раз экм того или иного прибора превышает квадратный метр. Чем больше это отношение, тем больше теплоотдача прибора. ![]() В табл. V.1 приведены технические характеристики некоторых радиаторных секций, из которых группируются нагревательные приборы. Наибольшее распространение в настоящее время получил радиатор М-140 (рис. V. 4). По сравнению с радиаторами старого типа (Н- 136, М-150 и др.) он имеет более высокие теплотехнические и технико-экономические показатели. В настоящее время промышленность стала изготовлять радиаторы М-140 А (рис. V. 5), отличающиеся от радиаторов М-140 более развитой поверхностью нагрева. Для увеличения поверхности нагрева внутри секции радиатора М-140 А (в ее водяном пространстве) имеется восемь ребер, расположенных под углом 45° к вертикали. Радиаторы РД-26 (рис. V. 6), а также радиаторы РД-90 и В-85А — это малоглубинные радиаторы, имеющие высокие технико-экономические показатели и нашедшие большое применение в крупнопанельных зданиях. Радиатор Бор-2 представляет собой отлитую из чугуна плиту с прилитыми к ней двумя ребрами, внутри которых циркулирует теплоноситель. Радиатор устанавливают поверхностью плиты непосредственно к стене. Благодаря продольному приливу между стеной и поверхностью плиты прибора образуется воздушная прослойка шириной 10 мм, повышающая теплоотдачу прибора. ![]() ![]() Имея наименьшую по сравнению со всеми другими радиаторами глубину и не худшие тепловые и техникоэкономические показатели, радиатор Бор-2 найдет широкое применение в жилых зданиях. Тепловая панель, изображенная на рис. V. 8, также относится к радиаторам. Для увеличения поверхности нагрева она снабжена с одной стороны продольными ребрами. К достоинствам тепловой панели следует отнести ее сравнительно небольшие вес, число ниппельных соединений и глубину прибора. Недостатками являются неудобство очистки от пыли оребренной поверхности и хрупкость ребер. Радиатор «Польза № 6» (см. рис. V. 9) имеет сравнительно низкие тепловые и технико-экономические показатели. Из-за больших высоты и поверхности нагрева он находит применение там, где требуется заменить большое количество низких секций в нагревательном приборе (например, 25 и более) на меньшее число секций, и устанавливается главным образом в помещениях общественного назначения (например, в театрах, музеях и т. п.), а также на лестничных клетках жилых зданий. Большое количество ниппельных соединений в нагревательном приборе не способствует его прочности. ![]() Стальные штампованные радиаторы. Стальные радиаторы из листовой стали могут изготовляться в виде чугунных радиаторов или панелей. В настоящее время промышленность выпускает в основном стальные радиаторы панельного типа. Стальные радиаторы панельного типа изготовляют из листов холоднокатаной стали толщиной 1,5 мм с проваркой швов в местах их соединений. Такой прибор показан на рис. V. 10. ![]() В отличие от нагревательных приборов, собираемых из отдельных секций, нагревательный прибор этого типа не может изменять поверхность нагрева. Существенным недостатком любого стального нагревательного прибора является возможность его коррозии под действием находящегося в воде воздуха. По этим соображениям установка стальных радиаторов любого типа (в том числе и панельного) рекомендуется лишь в системах водяного отопления, в которых в качестве теплоносителя используется обработанная теплофикационная вода. Корродирующее действие на сталь теплофикационной воды незначительно. Технические характеристики некоторых стальных радиаторов панельного типа приведены в табл. V. 2. ![]() Чугунные ребристые трубы. Чугунные трубы отливаются из серого чугуна с круглыми или прямоугольными ребрами и фланцами для присоединения к трубопроводам системы отопления. Наличие ребер на трубе увеличивает ее поверхность нагрева, нов то же время снижает температуру теплоотдающей поверхности. В настоящее время промышленность выпускает лишь трубы внутренним диаметром 70 мм с круглыми ребрами диаметром 175 мм (рис. V. 11). ![]() Теплоотдача ребристых труб происходит в основном конвекцией (95%) и незначительно излучением (5%). Характеристика чугунных ребристых труб с круглыми ребрами приведена в табл. V. 3. Чугунные ребристые трубы рассчитаны на рабочее давление 6 кгс/см2. К недостаткам чугунных ребристых труб следует отнести трудность очистки от пыли межреберного пространства прибора, а также слабую прогреваемость и хрупкость ребер. По гигиеническим соображениям их применяют лишь в помещениях с кратковременным пребыванием людей (в банях, прачечных, складах), а также в производственных помещениях, в которых выделяется незначительное количество пыли. ![]() Нагревательные приборы из гладких стальных труб. ![]() Нагревательные приборы из гладких стальных труб часто применяются для отопления теплиц, оранжерей, а также для обогревания световых фонарей производственных помещений. Удобство очистки от пыли способствует их установке в нижней зоне сильно запыляемых помещений (деревообрабатывающих, шлифовально-обдирочных и других предприятий). Гладкие стальные трубы имеют высокую теплоотдачу — коэффициент их теплопередачи выше, чем у радиаторов. Теплоотдача таких приборов уменьшается с увеличением диаметра и числа горизонтально расположенных рядов труб. Обычно нагревательные приборы изготовляют или в виде регистров из одного или нескольких рядов труб (рис. V. 12,6), или в виде змеевиков (рис. V. 12,а). ![]() Бетонные отопительные панели. В настоящее время для обогрева помещений крупнопанельных зданий находит применение бетонная отопительная панель (плита) со встроенными в нее стальными трубами В отдельных случаях взамен стальных труб в качестве нагревательного элемента могут быть применены также трубы из термостойкого стекла или пластмассы. В последнее время в экспериментальном порядке стали выполнять бетонные панели без заделки в них каких-либо труб, но с оставленными в их толще каналами, покрытыми водонепроницаемым лаком, по которым циркулирует теплоноситель. Впервые бетонные нагревательные панели со встроенными стальными трубами были применены в начале нашего столетия для отопления нескольких зданий русским инженером В. А. Яхимовичем, однако дальнейшего распространения они не получили. С развитием в СССР индустриального строительства зданий целесообразность применения нагревательного прибора этого вида стала очевидней. Эти нагреватели хорошо увязываются с конструктивными элементами здания и согласуются с архитектурой помещений. Общая теплоотдача труб, встроенных в бетонную панель, повышается благодаря увеличению внешней теплоотдающей поверхности панели. ![]() Бетонные отопительные панели часто устанавливают в нижней зоне помещения у наружных стен под окнами (рис. V. 13) и реже в перегородках. Их применяют в системах водяного отопления жилых и общественных зданий, а в ряде случаев и для производственных зданий. Для отопления детских комнат используют плинтусные бетонные панели (рис. V. 14). Отопительные бетонные панели требуют меньшей затраты труда на установку и меньшего расхода металла на изготовление, чем чугунные радиаторы. К недостаткам бетонной панели следует отнести ее значительный вес и большую тепловую инерцию, замедляющую остывание и прогревание панели, а также трудность ее ремонта. Конвекторы. Конвекторами называются нагревательные приборы, состоящие из стальных или чугунных оребренных труб. Они бывают открытого типа — плинтусные и закрытого, в которых сребренная труба помещена в металлический кожух. На рис. V. 15 показана конструкция современного плинтусного конвектора. Он состоит из стальной трубы диаметром 20 мм, по которой движется теплоноситель, и оребрения в виде пустотелых коробок из листовой стали толщиной 0,8 мм, составляющих основную теплоотдающую поверхность. Конвекторы изготовляют длиной 1,25 м с поверхностью нагрева 1,06 м2 (или 0,645 экм) с коэффициентом теплопередачи К—4,8 ккал/м2-ч-град при tcp — ?в=|64,50. Конвектор закрытого типа показан на рис. V. 16. В этот конвектор воздух помещения поступает под кожух снизу и, нагревшись от оребренной трубы, попадает обратно в помещение через решетку в верхней части кожуха. Благодаря этому в кожухе прибора возникает усиленное движение воздуха, которое путем конвекции повышает теплоотдачу оребренной трубы. Теплоотдачу конвектора можно регулировать дроссель-клапаном, установленным на кожухе, пропуская большее или меньшее количество воздуха через прибор. Стальные трубы до закладки их в бетонную панель испытывают гидравлическим давлением 10 кгс,/см2. Применение нагревательных приборов. При выборе того или иного нагревательного прибора следует учитывать допускаемое в них давление и назначение помещений, в которых эти приборы надлежит устанавливать. Типы нагревательных приборов, рекомендуемых к установке в помещениях различного назначения, приведены в табл. V. 4. ![]() ![]() Михайлов Федор Семенович ОТОПЛЕНИЕ И ОСНОВЫ ВЕНТИЛЯЦИИ - М.: Стройиздат, 1972. |
|