ВОДОВЫПУСКИ

Выбор конструкции водовыпуска в рассматриваемых климатических условиях зависит от максимальных расходов периода строительства и способа их пропуска через створ гидроузла, характеристик водотока и водохранилища, геологических и топографических условий створа, особенностей способов производства работ.

В тех случаях, когда диапазон сезонных колебаний уровней в верхнем бьефе превышает 3...5 м, возникает необходимость устройства закрытых водовыпусков (рис. 4.30, б...д). Конструктивно их можно подразделить на три большие группы: трубчатые, когда транзитные водоводы выполняют из сборных или монолитных бетонных (реже стальных) труб; туннельные, мало чем отличающиеся от туннельных водосбросов; комбинированные, то есть сочетающие признаки трубчатых и туннельных.

Конструкция водовыпуска в значительной степени зависит от местоположения регулирующих затворов. По этому признаку различают следующие водовыпуски: с затворами в начале водовыпускного тракта (рис. 4.31; см. рис. 4.30, в; рис. 4.32); характерно для водовыпусков трубчатых конструкций, которые обычно имеют башню управления с камерой затворов и эстакадой для размещения подъемных механизмов, в ряде случаев вместо башни предусматривают особое помещение с проходом в него либо со стороны нижнего бьефа (см. рис. 4.30, д), либо по специальной наклонной галерее (см. рис. 4.32, а), уложенной по верховому откосу плотины; с затворами в средней части водопропускного тракта (см. рис. 4.30, б, г); возможно как в трубчатых, так и в туннельных водовыпусках (рис. 4.30, е), как с устройством башни управления, так и без нее; с затворами в конце водопропускного тракта; характерно для - водовыпусков, работающих в напорном режиме, а также в тех случаях, когда внутри полых бетонных труб - галерей укладываются стальные водоводы.

Трубчатые водовыпуски представляют собой кбнструкцию, которая получила наибольшее распространение на гидроузлах с грунтовыми плотинами. Различают башенные (см. рис. 4.30, б...д) и безбашенные водовыпуски (рис. 4.30, е, ж). Первые, в свою очередь, делятся по местоположению башни управления затворами на водовыпуски с выдвинутой башней, размещенной в зоне подошвы верхового откоса плотины (см. рис. 4.31, в), водовыпуски с башней, расположенной в средней части верхового откоса (рис. 4.33, в), водовыпуски с башней, находящейся либо у гребня плотины (рис. 4,33, а, б), либо со стороны низового откоса. Галереи трубчатого водовыпуска либо непосредственно используют в качестве водопропускного тракта, либо они имеют внутри себя трубопроводы для пропуска эксплуатационных расходов (см. рис. 4.30, е, ж). Входная часть трубчатого водовыпуска (от входного оголовка до камеры затворов) в большинстве эксплуатационных случаев работает в напорном режиме; транзитная и концевая части могут работать либо в напорном, либо в безнапорном режиме. Анализ опыта эксплуатации трубчатых водовыпусков гидроузлов в странах с жарким климатом дал возможность сделать следующие выводы: наиболее рациональный режим работы транзитной части - безнапорный, его надежное обеспечение позволяет избежать возникновения неблагоприятных переходных режимов, а также облегчить условия работы стенок галерей и их уплотнений; напорный режим рационален при наличии в галереях стальных или железобетонных трубопроводов, в этом случае сами галереи используют в период эксплуатации для ревизии и ухода за трубопроводами; допущение работы самих галерей в напорном и полунапорном режимах сопровождается существенным усложнением и удорожанием их конструкции; наиболее целесообразно выдвинутое или частично выдвинутое положение башни управления, позволяющее сократить до минимума длину напорной трудно осматриваемой части водовыпуска.

В гидроузлах с низко- и средненапорными грунтовыми плотинами обычно устраивают башенный водовыпуск - независимо от того выполнен ли он с бетонными водопроводящими галереями или со стальными трубопроводами, уложенными в сухих бетонных галереях,- Такая конструкция наиболее надежна при эксплуатации и хорошо зарекомендовала себя на многих гидроузлах в странах с жарким климатом. Устройство железобетонной башни в гидроузлах с высоконапорными плотинами обычно сопряжено с рядом технических трудностей, к основным из которых относятся существенная масса штанг подвеса затворов и их неустойчивость при работе на центральное сжатие в случае необходимости дожимания затвора. В связи с этим выполняют технико-экономическое сравнение двух вариантов: устройство высокой башни с сухой шахтой и герметической крышкой, закрывающей камеру затворов, управляемых гидроподъемниками; безбашенный водовыпуск с подземным расположением камеры затворов и помещения для их обслуживания. В последнем случае каждую нитку трубопроводов (или каждую галерею) обычно обслуживают три затвора: задвижка - аварийный затвор; дисковый затвор, используемый при ремонте; конусный, игольчатый или игольчатый конусно-струйный затвор с функциями рабочего затвора.

В водохранилищах многолетнего регулирования башенные водовы- пуски иногда имеют в головной части облегченную эстакаду (см. рис. 4.30, д; 4.31, б), с которой опускают ремонтные затворы. Верх эстакады располагают на незатопляемых отметках.

В отдельных случаях оказывается целесообразным возвести безбашенный водовыпуск с подходом к помещению обслуживания камеры затворов через специальную подводную галерею, проложенную по верховому откосу плотины или по береговому склону (см. рис. 4.32, а).

Очертания входного оголовка, пазов затворов и отдельных элементов камеры затворов и транзитной части подбирают с учетом результатов прогноза кавитационных явлений. Водовыпуски небольших водохранилищ имеют входные оголовки простейшей конструкции. Различные варианты возможного конструктивного оформления головных частей водовыпусков приведены на рисунках 4.31 и 4.32, а варианты башен - на рисунке 4.33 а - с камерой гашения и переливным порогом; б - с восходящей камерой гашения

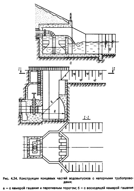
Водовыпуски небольших водохранилищ с напорными трубами в странах с жарким климатом оборудуют устройствами для гашения избыточной энергии потока, выходящего из трубы. Возможные варианты таких гасителей приведены на рисунках 4.34 и 4.35, б. Последняя конструкция, имеющая гаситель ударного действия, может работать даже на сухой нижний бьеф. Для улучшения работы этого гасителя его выходной порог оборудуют горизонтальной полкой, а в нижней части Г-образной забральной балки выполняют козырек (см. рис. 4.35).

Если трубчатый водовыпуск с концевым рабочим конусным затвором сооружают на малопрочном основании, то во избежание опасных размывов вблизи низового откоса, а также эрозии самого откоса брызгами водяной завесы, сносимой на откос ветром, за этим затвором устраивают специальную камеру гашения (см. рис. 4.35, а).

В большинстве случаев из условий обеспечения надежности работы водовыпусков, действующих в странах с жарким климатом круглый год, число их галерей принимают не менее 2. При обосновании необходимого числа галерей также учитывают условия пропуска строительных расходов.

Во избежание попадания в водовыпуск плавающих тел и мусора его головную часть обычно оборудуют решетками соответствующих размеров и затенения, а также средствами их очистки.

На водохранилищах, используемых для водоснабжения, отстоявшуюся воду забирают через дополнительные отверстия (рис. 4.32, в), располагающиеся на разной высоте (с решетками и автономными затворами) и соединяющиеся с трубопроводами, подающими воду на очистную или насосную станции.

Туннельные водовыпуски целесообразно применять при наличии относительно прочного скального грунта по их трассе. При этом выполняют те же требования и рекомендации, что и при сооружении трубчатых водовыпусков.

Их трассу, как и трассу аналогичных водосбросов, желательно принимать прямолинейной в плане, особенно на безнапорных участках туннелей.

Водовыпуски и водоспуски бетонных плотин конструктивно не отличаются от их глубинных водосбросов. В качестве примеров приведем водовыпуски арочных плотин гидроузлов Турквель (Кения) и Виктория (Шри-Ланка).

Гидроузел Турквель имеет поверхностный водосброс (4 отверстия размером 15x3,6 м) с отбросом потока с носка к центру речного русла, а также глубинный водовыпуск (рис. 4.36, а) с отверстием, перекрываемым основным сегментным (3,6x4,0 м) и аварийно-ремонтным плоским (4,0x4,0 м) затворами, трубчатым водовыпуском, оборудованным конусным затвором. Пропускной расход отверстий (м3/с): поверхностных 890, водовыпусков с сегментным и конусными затворами соответственно 515 и 25.

Водовыпуск гидроузла Виктория (рис. 4.36, б) имеет два отверстия, каждое из которых оборудовано двумя плоскими затворами: верховое размером 4,1x4,1м, низовое - 4,1x3,0 м. Суммарная пропускная способность 30 м3/с. Для лучшей диссипации энергии потока, сбрасываемого через водовыпуск, оба отверстия имеют концевые носки-трамплины, поворачивающие поток за низовым затвором практически на 90 °. Затворы управляются гидравлическими подъемниками, а помещение управления затворами - мобильным кран-балкой концевые части водовыпусков гидроузлов с грунтовыми и бетонными плотинами в странах с жарким климатом весьма часто оборуду-ют конусными затворами. Они имеют простую конструкцию и малые усилия при маневрировании.

Конструкции водовыпусков, оборудованных конусными затворами, в настоящее время интенсивно совершенствуются [15,33,34].

Особенности проектирования и строительства гидротехнических сооружений в условиях жаркого климата/Н. П. Розанов, И. С. Румянцев, С. Н. Корюкин и др.; Под ред. Н. П. Розанова. - М.: Колос, 1993. - 303 с.

на главную