ОСОБЕННОСТИ ТЕПЛОВЫХ СХЕМ ПАРОГАЗОВЫХ ТЭЦ

Одним из направлений дальнейшего повышения термодинамического совершенства как конденсационных, так и теплофикационных электростанций является переход на парогазовые циклы.

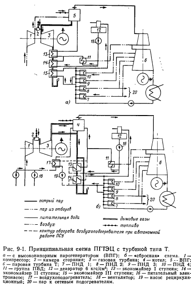
Наиболее перспективными и подготовленными к внедрению на ТЭЦ являются парогазовые установки с высоконапорными парогенераторами по схеме Центрального котлотурбинного института (ПГУ с ВПГ) и парогазовые установки со сбросом газов в энергетические котлы и использованием их в качестве окислителя для сжигания топлива в топке котла (ПГУ с НПГ). Принципиальная схема ПГУ с ПВГ показана на рис. 9-1,а. Утилизация тепла уходящих после газотурбинного агрегата газов осуществляется в экономайзерах, включенных по питательной воде параллельно регенеративным подогревателям высокого и низкого давления паровой турбины.


Основнымотличием парогазовой установки по схеме с НПГ является использование энергетического котла вместо высоконапорного парогенератора. Принципиальная схема установки показана на рис. 9-1,6.

Согласно опытным данным, полученным на установке в ЦКТИ, экономичное сжигание мазута и бурых углей в среде, обедненной кислородом, возможно при объемной доле кислорода около 0,15 (15%), что обеспечивает возможность организации такой схемы парогазовой установки при начальной температуре газа около 1000°С для агрегатов по простейшей схеме и около 800°С для агрегатов с промежуточным подводом тепла.

Несмотря на одинаковые термодинамические циклы ПГУ с ВПГ и ПГУ с НПГ, последние характеризуются несколько меньшей экономичностью. В то же время сбросные ПГУ требуют, примерно в 3 раза меньше благородного топлива, поскольку в энергетическом котле могут сжигаться мазуты или твердое топливо, что является, несомненно, основным преимуществом таких схем.

Кроме того, особенностью сбросных ПГУ является возможность организации автономного режима работы как газовой, так и паросиловой ступеней цикла.

В табл. 9-1 приведен возможный ряд типоразмеров ПГУ, который может быть создан на базе существующих и разрабатываемых типов турбин. Как видно из таблицы, возможно создание широкого ряда типоразмеров ПГУ, однако наиболее подготовленными являются ПГУ на базе высоконапорного парогенератора ВПГ-450, рабочий проект которого разработан на ТКЗ для газотурбинного агрегата ХТГЗ типа ГТ-35/44-770, установленного в составе ПГУ-200 на Невинномысской ГРЭС, или ГТ-45 и паровой турбины типа Т-100-130 или Т-175-130.

Цикл, подобный парогазовому, хотя и с меньшей термодинамической эффективностью, может быть осуществлен в комбинированных парогазовых установках с подогревом питательной воды уходящими газами ГТУ (рис. 9-2). В простейшем варианте этой схемы тепло уходящих газов ГТУ используется в экономайзере для компенсации недогрева питательной воды в результате отключения ПВД. Преимуществом этой схемы по сравнению со схемой со сбросом газов в топку энергетического котла или по сравнению с другими способами увеличения мощности паровых турбин при отключений ПВД является возможность сохранения конструкции парового котла.



Рассматриваемая схема может быть осуществлена на базе теплофикационных или конденсационных турбоустановок любых типов. Однако, поскольку в европейских районах страны не предусматривается сооружение новых конденсационных электростанций на органическом топливе, представляет интерес осуществление такой схемы на ТЭЦ. В этом случае могут быть рассмотрены различные варианты схем отвода вытесненного пара регенеративных отборов и соотношений мощностей газовой и паровой ступеней цикла.

К модификациям по схеме можно отнести:

1) отвод вытесненного пара в сетевые подогреватели или производственные отборы турбоагрегатов с соответствующим увеличением электрической и тепловой мощности паровых турбин и вытеснением пиковых котлов из графика покрытия тепловых нагрузок;

2) отвод вытесненного пара в конденсаторы при сохранении тепловой мощности турбин и более существенном, чем в. первом варианте, увеличении электрической мощности;

3)отвод вытесненного пара в конденсаторы турбин с одновременным ограничением нагрузки теплофикационных отборов и достижением предельной электрической мощности.

Разная термодинамическая эффективность парогазовых (по схемам с ВПГ и сбросной) и комбинированных установок определяет целесообразность рассмотрения их использования для покрытия разных частей графика электрической нагрузки ОЭЭС.

Хрилев Л. С., Смирнов И. А./Оптимизация систем теплофикации и централизованного теплоснабжения/Под ред. Е. Я. Соколова.— М.: Энергия, 1978.

на главную