ТЕПЛОЗАТРАТЫ НА ОТОПЛЕНИЕ И ВЕНТИЛЯЦИЮ ЗДАНИЙ ПАВИЛЬОННОГО ТИПА

В крупных одноэтажных промышленных зданиях имеются большие возможности экономии тепловой энергии в зависимости от того, в какой мере удается повысить коэффициент облученности отопительных экранов на пол (рис. 49.1), причем рис. 49.1, а относится к зданию с хорошей теплоизоляцией, а рис. 49.1, б — к зданию со слабой теплоизоляцией. Если принять во внимание, что основное количество теплоты, расходуемой при радиаторном отоплении, приблизительно на 8—10% больше, чем теплопотери без добавок, служащие основой сопоставления, то теплопотери, вычисляемые по действующему стандарту, для одноэтажного промышленного здания с хорошей теплоизоляцией можно снизить на 15%, а для здания со слабой теплоизоляцией — на 20%.

В ходе практических расчетов теплопотери, вычисленные по стандарту, уменьшаются путем умножения на коэффициент е, определяемый по рис. 49.1. Одноэтажное промышленное здание в целом можно считать строением со слабой теплоизоляцией и поэтому коэффициент уменьшения е, являющийся функцией величины Фм_р, обычно равен 0,8, иными словами, вычисленные теплопотери сокращаются на 20%. Это объясняется тем, что при отоплении экранами наибольшая часть выделяемой теплоты поступает непосредственно в рабочую зону.

Вопросы, связанные с расходом энергии в одноэтажных промышленных зданиях при различных способах отопления и вентиляции, изучал д-р Дьёрдь Макара. Рассмотрим полученные им результаты.

При использовании лучистого отопления потребляемая тепловая энергия уменьшается по сравнению с применением воздушного отопления вследствие более низкой температуры воздуха, которую следует обеспечивать в рабочей зоне, а потому и во всем здании, и меньшей степени расслоения температуры по вертикали. Экономия тепловой энергии здесь достигается благодаря тому, что между внутренней частью здания и наружным пространством при лучистом отоплении возникает меньший перепад температуры.

Согласно литературным данным, применение лучистого отопления при соответствующей эксплуатации приводит к экономии энергии, поэтому системы лучистого отопления можно проектировать на меньшую теплопроизводительность, чем воздушное или конвективное отопление. Соответственно целью исследований было определить экономию теплоты, которую можно принимать во внимание при расчете лучистого отопления, чтобы эту экономию учитывать в расчетах капитальных затрат на отопительные установки и теплоснабжение.


В материалах теоретических и экономических исследований, проводившихся в одноэтажных промышленных зданиях, обычно сообщается о полученной экономии потребляемой тепловой мощности, равной около 20% (15—30%). Это относится к производительности системы отопления, соответствующей расчетной наружной температуре. Однако интерес представляет не это значение, определенное для экстремальных погодных условий, а экономия энергии при средних погодных условиях, фактически существующих в отопительный период. В специальной литературе раньше было очень мало данных по этому вопросу, а те сведения, которые приводились, обычно относились к расчетным условиям. В последнее время появились некоторые новые данные. Например, имеется сообщение, что запатентованная в Великобритании система лучистого отопления, в которой используют в качестве теплоносителя воздух, может за год в зависимости от погодных условий обеспечивать экономию энергии 25—50%. Это говорит о том, что необходимо произвести дальнейшие исследования в данном направлении. Однако можно провести ориентировочный экономический расчет с помощью выполнения простых вычислений. Последние были проведены для средней наружной температуры отопительного периода ta,at, что дает хорошее приближение к среднегодовым значениям. При характерных для Венгрии погодных условиях ta,at — +1°С.

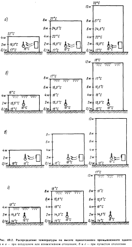
Исследования проводились для условного одноэтажного промышленного здания переменной высоты с площадью в плане 2500 м2.

Наружные ограждения здания имели следующие коэффициенты теплопередачи и площади:


При наружной температуре iaat— 1°С с помощью воздушного и лучистого отопления необходимо поддерживать в рабочей зоне результирующую температуру /г=16°С.

Теплопотребность зданий рассчитывалась с учетом того, что для результирующей температуры при воздушном отоплении принимали температуру воздуха вблизи плоскости пола (на высоте 0,1 м) на 1°С выше, т. е. 17°С, а при лучистом отоплении температуру на 1° ниже. При лучистом отоплении градиент температуры воздуха по высоте был принят равным 0,25°С/м, а при воздушном отоплении — на 1°С/м выше, т. е. 1,25°С/м. Возникающее при этом распределение температуры в одноэтажных промышленных зданиях высотой 4, 8 и 12 м показано на рис. 49.2, а и б.

В другом случае используют такие же температурные градиенты, только при той же результирующей температуре при воздушном отоплении вблизи плоскости пола принимают температуру воздуха 18°С, а при лучистом отоплении — 14°С (рис. 49.2, в и г).

В результате расчета получены приведенные ниже данные об экономии энергии, достижимой при непрерывном режиме работы лучистого отопления, по сравнению с воздушным отоплением. В первом случае:


Таким образом, эксплуатационные расходы, если брать за основу годовые расходы на отопление в размере 1 форинт/Вт, в первом случае колеблются от 0,30 до 0,40 форинт/Вт, а во втором—от 0,38 до 0,49 форинт/Вт в зависимости от высоты помещения.

Здания павильонного типа обычно используются не постоянно, а периодически, поэтому желательно учесть и экономию энергии, достижимую при периодическом отоплении. Расход энергии при периодическом отоплении зависит в первую очередь от теплоаккумулирующей способности ограждающих конструкций и их коэффициента теплопередачи, а также от распределения температуры воздуха. Здесь возникают два основных вопроса: экономия энергии, достижимая при таком режиме, и изменение внутренней температуры в течение суток.


При периодическом отоплении за период работы системы в здание следует подать как количество теплоты, которое компенсирует теплопотери за время работы, так и количество теплоты, которое восполняет теплоту, удаляющуюся из здания во время перерыва в работе системы отопления. Если теплоаккумулирующая способность здания мала, то оно быстро охлаждается, вследствие чего теплопотери за время перерыва будут невелики. Однако при этом наблюдаются значительные колебания внутренней температуры в течение суток. Если теплоаккумулирующая способность здания велика, то его охлаждение за время перерыва в работе системы отопления меньше, теплопотери более теплого здания за время перерыва больше, а колебание внутренней температуры в течение суток происходит с меньшей амплитудой.

У зданий павильонного типа теплоаккумулирующую способность можно разбить на три составляющие: теплоаккумулирующая способность пола, теплоаккумулирующая способность стен и перекрытий и теплоаккумулирующая способность воздуха.

Теплоаккумулирующая способность пола значительна, при этом охлаждение за время перерыва ограничено. Теплоаккумулирующая способность конструкций стен и перекрытий зависит прежде всего от высоты помещения. Охлаждение этих конструкций происходит гораздо интенсивнее, чем охлаждение пола. Роль высоты имеет определяющее значение не только потому, что от нее зависит соотношение между площадями пола и поверхностей стен и перекрытий, но и потому, что от распределения температуры по вертикали, изменяющегося в зависимости от высоты, зависит уровень температуры, до которого нужно прогревать конструкции стен и перекрытий.

Перепад между температурой ограждающих конструкций и температурой внутреннего воздуха меньше при лучистом отоплении и больше при конвективном или воздушном, поэтому количество теплоты, накапливающейся в ограждающих конструкциях зданий павильонного типа с лучистым отоплением, при той же температуре внутреннего воздуха больше, чем при воздушном отоплении таких зданий. Однако в последнем случае при одинаковой результирующей температуре, заданной для рабочей зоны, средняя внутренняя температура выше, чем при лучистом отоплении.

Расчетная экономия энергии для зданий с лучистым отоплением при односменной эксплуатации в двух рассмотренных выше случаях составила: в первом случае


Как видно, в здании павильонного типа небольшой высоты (4 м) при периодическом отоплении (во втором случае) получается максимальная экономия энергии 49,3%, т. е. округленно 50%. Минимальная экономия — 21% получается в первом случае, для здания высотой 12 м. В большинстве рассмотренных случаев экономия энергии составляет 30—40%, поэтому в дальнейшем с достаточной точностью можно принимать, что для данного вида отопления экономия энергии составляет 35%.

При периодическом отоплении зданий павильонного типа заслуживает внимания учет теплоаккумулирующей способности воздуха. Недостатком конвективного и воздушного отопления по сравнению с лучистым является то, что в первом случае, с одной стороны, воздух надо нагревать до более высокой температуры, а с другой стороны удовлетворительные комфортные условия можно обеспечить только после полного прогрева внутреннего воздуха.

Рассмотрим вопросы, связанные с экономией энергии, которую потребляет система вентиляции. Экономия энергии, расходуемой на вентиляционные процессы, при лучистом отоплении зданий павильонного типа объясняется тем, что в этом случае удаляемый вентиляционный воздух имеет более низкую температуру, чем при конвективном или воздушном отоплении. Годовая экономия энергии при этом


Зависимость, определяющая экономию энергии, которую потребляет система вентиляции, для реальных условий показана на рис. 49.3, из которого видно, что при меньшей удельной теплопотребности и большей кратное- Форинт ти воздухообмена степень экономии быстро увеличивается.

Чем лучше теплоизоляция здания, т. е. чем меньше его удельные теплопотери, чем больше кратность воздухообмена, чем выше зДание и чем дольше оно используется в течение суток, тем экономичнее применение лучистого отопления по сравнению с использованием тепловоздушных агрегатов.

Достижимая при этом годовая экономия энергии, потребляемой системой вентиляции, может составлять 3,5 форинт/(год-Вт), вследствие чего капитальные затраты на лучистое отопление, совмещаемое с вентиляцией, могут окупиться за один год. В том случае, когда годовой расход вентиляционного воздуха мал, экономия может достигнуть 0,12—0,24 форинт/(год-Вт). Другие возможности применения комбинации лучистого отопления и вентиляции описаны в работах д-ра Дьёрдя Макара. Он предлагает решение, при котором используется непосредственная вентиляция холодным воздухом для зданий павильонного типа с лучистым отоплением, имеющих большую высоту и большой строительный объем. Его теоретические соображения вкратце можно свести к следующему.

Обеспечение низкой подвижности приточного вентиляционного воздуха, более холодного, чем в рабочей зоне, в настоящее время возможно с помощью различных воздухораспределителей.

Из-за охлаждающего влияния вентиляционного воздуха, подаваемого зимой под потолок высоких зданий павильонного типа, температурное расслоение воздуха по высоте сокращается. При комбинации вентиляции с лучистым отоплением в пространстве под потолком может быть даже холоднее, чем в рабочей зоне, поэтому экономия энергии для отопления может быть еще выше.


При согласованном автоматизированном регулировании лучистое отопление в переходный период может компенсировать теплопотребность для нагревания вентиляционного воздуха, поэтому в течение отопительного периода температура удаляемого вентиляционного воздуха может быть в течение длительного времени ниже.

Подача холодного воздуха и вытяжка из нижней зоны улучшают общий воздухообмен в помещении и обеспечивают хорошее проветривание рабочей зоны. Для одинакового воздухообмена в рабочей зоне по сравнению с изотермической вентиляцией (подачей теплого воздуха) требуется меньшее количество свежего воздуха и, следовательно, обеспечивается экономия энергии.

Общая экономия энергии может быть еще увеличена, если воздух удалять через теплоутилизатор и использовать его для теплозащиты здания, например, в качестве воздушной завесы у входа в здание.

На краю рабочей зоны, вблизи оконных проемов с плохой теплоизоляцией, из-за низкой температуры их поверхности и асимметричной тепловой радиации часто возникают области дискомфорта. При традиционном размещении конвективных отопительных приборов вдоль плинтусов это можно компенсировать лишь ценой перерасхода энергии. Данную проблему можно решить с помощью лучистых плинтусных отопительных приборов, регулируемых индивидуально.

Принимая во внимание ожидаемую экономию энергии, было бы целесообразно проверить эти теоретические соображения на практике.

Мачкаши А., Банхиди Л. Лучистое отопление/ Пер. с венг. В. М. Беляева; Под ред. В. Н. Богословского и Л. М. Махова. — М.: Стройиздат, 1985.

на главную