Электродуговая сварка

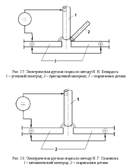
Электрическая дуговая сварка была изобретена в России. Н. Н. Бенардос 6 июля 1885 г. подал заявку и получил привилегию Департамента торговли и мануфактур № 11982 (1886) на способ «соединения и разъединения металлов непосредственным действием электрического тока» (рис. 5.7). Изобретение было запатентовано в Англии, Германии и некоторых других странах, причем эти патенты получены Н. Н. Бенардосом совместно с петербургским купцом С. А. Ольшевским, который финансировал зарубежное патентование [15].

Работы были начаты в 1881 г., а в 1885 г. в Петербурге на набережной р. Большая Невка, д. 41, была открыта показательная мастерская, в которой проводились сварочные работы по этому способу. Н. Н. Бенардос разрабатывал также автоматизацию сварки, применение инертных газов при сварке, сварку на переменном токе, подводную сварку и др. К середине 90-х гг. XIX в. сварка по способу Н. Н. Бенардоса применялась более чем 100 заводами Западной Европы.

Н. Г. Славянов в 1888 г. предложил дуговую сварку с использованием расплавляемого электрода (рис. 5.8). Этот метод впервые был использован в том же году на Пермских казенных заводах при сварке вала паровой машины. В 1889 г. дуговая сварка по методу Славянова была использована на Пермских казенных заводах при строительстве парохода «Редедя князь Кос- согский». В 1891 г. Н. Г. Славянов получил в Департаменте торговли и мануфактур привилегии № 8747 и 8748 на изобретения «электрической отливки металлов» и «электрического упрочнения металлов», а затем и патенты США и других стран. Им разрабатывались методы автоматического регулирования длины дуги, применения сварки под шлаком (использовалось дробленое стекло), использования предварительного подогрева свариваемых деталей, применения присадок ферросплавов для регулирования химического состава ванны и сварного шва.

В 1905 г. В.Ф. Миткевич предложил использовать трехфазную дугу для сварки металлов.

Одна из проблем электрической сварки - защита расплавленного металла от окисления и повышение устойчивости горения дуги, особенно при использовании плавящегося электрода. О. Кьельберг (Швеция, 1907) предложил специальные покрытия для сварочных электродов, И. Ленгмюр (США, 1911) разработал процесс дуговой сварки в атмосфере водорода, а позднее и с использованием других газов.

Параллельно с электрической сваркой развивалась и газовая сварка. Уже в 1902 г. А. Ле Шателье (Франция) применял кислородно-ацетиленовую сварку при ремонте паровых котлов. В 1903 г. Э. Фуше (Франция) получил патент на газовую сварочную горелку. Этот способ вскоре получил широкое распространение, что затормозило развитие электрической сварки. С 1908 г. на заводах Г. Форда (США) стали применять газовую сварку. Во всем мире, в том числе в России, газовая сварка стала применяться в различных отраслях промышленности.

В 1919 г. фирма «Дженерал электрик» изготовила первую автоматическую дуговую сварочную головку. Подача электродной проволоки осуществлялась электродвигателем постоянного тока, а ток к электроду подводился через ролик. Длина дуги контролировалась по напряжению. В СССР автоматическую подачу электрода разработал в 1924 г. Д. А. Дульчевский. Он же применял угольный порошок при сварке меди для защиты от окисления.

Завод «Электрик» (Ленинград) внес значительный вклад в развитие электросварки в нашей стране. Под руководством В. П. Никитина в 1924 г. были созданы первая электросварочная машина постоянного тока типа СМ-1 и сварочный трансформатор со встроенным регулятором типа СТН. В 1926 г. начался выпуск машин для контактной сварки. В 1932-1933 гг. началось производство оборудования для автоматической дуговой и аргоноводородной сварки, был осуществлен выпуск первой в мире сварочной автоматической установки на переменном токе. В 1934 г. выпущен передвижной электросварочный агрегат типа САК-2, состоящий из бензинового двигателя Горьковского автозавода и сварочного генератора, смонтированных на общей раме. В 1947 г. начался серийный выпуск универсальных сварочных автоматов тракторного типа АДС-1000-1.

Первые применения сварки:

в 1929 г. Николаевский судостроительный завод применяет дуговую сварку днищевых балок танкеров, а позднее и судовых трубопроводов;

с 1931 г. в г. Магнитогорске при строительстве домны началось использование электрической сварки вместо клепки (разрешение на сварку дал И. П. Бардин вопреки мнению американских специалистов, консультировавших строительство); при строительстве завода «Уралмаш» с помощью электрической сварки изготовили подкрановые балки пролетом 10 м; началось внедрение дуговой сварки в мостостроение (Г. А. Николаев); на Западной железной дороге было установлено первое сварное пролетное строение длиной 19,8, а несколько позднее, в 1934 г., на заводе «Стальмост» в г. Днепропетровске - цельносварное пролетное строение длиной 45 м; в те же годы изготовлены сварной мост (42 м) через водопад Челоне в США и однопролетный сварной мост решетчато-ферменного типа длиной 49,2 и шириной 8,25 м в г. Пльзень (Чехословакия).

В начале 1930-х гг. Е. О. Патон создал лабораторию электросварки, которая с 1934 г. реорганизована в Институт электросварки (с 1953 г. ИЭС им. Е. О. Патона), который занял ведущее положение в развитии сварочной техники и технологии. К числу важнейших разработок ИЭС относятся:

высокопроизводительный способ автоматической дуговой электросварки под слоем флюса (1941);

конструкция сварочной головки с постоянной скоростью подачи электрода (1942);

новый способ полуавтоматической шланговой сварки (1944); мощный трансформатор СТ-1000 с дистанционным управлением для автоматической сварки под флюсом (1947);

метод двухдуговой электросварки на больших скоростях (1949-1950); полуавтомат для подводной сварки (1970-е гг.).

Интересные результаты были получены и в других организациях: сварка меди под флюсом разрабатывалась Д. А. Дульчевским в начале 1920-х гг.;

К. К. Хренов разработал процесс ручной сварки под водой (1932) и предложил сварочный трансформатор с поворотным верхним ярмом типа СТХ (1934); сварочная лаборатория МВТУ им. Н. Э. Баумана разработала способ автоматической дуговой сварки с подачей в дугу гранулированного флюса (1934);

в 1946 г. В. П. Никитин создал новый трансформатор типа СТАН компактной конструкции и небольшой массы с тремя ступенями регулирования сварочного тока, предназначенный для монтажных работ;

в 1949 г. Подольский завод им. С. Орджоникидзе разработал и освоил процесс сварки нефтеаппаратуры из нержавеющей стали;

сотрудниками ЦНИИТмаша создана усовершенствованная аппаратура для автоматизации дуговой электросварки (1951) и совместно с ИЭС разработана и внедрена серия флюсов для автоматической сварки (1952);

в начале 1950-х гг. во ВНИИавтогене проводились работы по дуговой сварке меди и ее сплавов на постоянном токе прямой полярности в атмосферах аргона и азота;

технология сварки в атмосфере углекислого газа разработана в ЦНИИТмаше в 1950-е гг. под руководством К. В. Любавского.

История электротехники и электроэнергетики

на главную