Условия развития

Основные положения Энергетической программы СССР на длительную перспективу [12] предусматривают проведение активной энергосберегающей политики на базе ускорения научно-технического прогресса во всех звеньях энергетического комплекса страны. При этом тепловое хозяйство страны рассматривается в качестве одной из важнейших областей, в которых принципиально возможно значительное повышение эффективности использования энергетических ресурсов. Задача состоит в том, чтобы определить конкретные пути повышения эффективности теплоснабжения, а это, в свою очередь, требует знания внешних условий, при которых системы теплоснабжения будут развиваться.

Выполненные исследования [9, 10] показали, что при определении перспектив развития СЦТ необходимо учитывать следующие особенности развития энергетики нашей страны на ближайшие 15—20 лет:

нарастающие сложности в обеспечении ИТ высококачественными видами топлива и трудовыми ресурсами;

необходимость скорейшего прекращения роста расхода органического топлива на теплоснабжение в европейской части страны;

целесообразность развития новых типов ИТ, ориентированных на использование ядерно го топлива;

нарастающий физический и моральный износ оборудования ТЭЦ на органическом топливе (ОТЭЦ) с агрегатами мощностью 100 Мвт и ниже;

обострение проблемы покрытия переменной части графика электрических нагрузок в европейской части страны и новые требования повышенной маневренности ОТЭЦ.

Рассмотрим характеристики указанных условий развития теплоснабжения в СССР и определяемые ими основные задачи перестройки и совершенствования СЦТ.

Особенности формирования топливного баланса СССР. Советский Союз является единственной промышленно развитой страной, разведанные запасы органического топлива которой способны обеспечить развитие ее народного хозяйства в течение многих лет. Однако сложившееся в настоящее время размещение потребителей топлива и энергии по территории страны не соответствует размещению запасов энергетических ресурсов. В европейской части страны (включая Урал), где сосредоточено свыше 3/4 энергопотребления, добыча органического топлива имеет тенденцию к снижению. Следствием этого является создание уникальных по мощности транспортных потоков энергетических ресурсов (нефть, природный газ, уголь) и электрической энергии из восточных районов страны в европейские.


Данные табл. 1.1 хорошо иллюстрируют отмеченное. Как видно из этой таблицы, в настоящее время передача энергоресурсов из восточных районов восполняет энергетический баланс европейских районов (с учетом экспорта) примерно на 2/3. К концу века абсолютный объем всех видов энергоресурсов, транспортируемых с востока на запад, должен возрасти.

Колоссальные объемы перемещения энергетических ресурсов на расстояние 3—4 тыс. км требуют больших средств на развитие транспортной сети, что приводит к закономерному росту затрат на энергетические ресурсы в направлении с востока на запад; при этом наименьшая стоимость энергетических ресурсов приходится на Восточную Сибирь. Так, замыкающие затраты на энергетический уголь возрастают с 18—20 руб/т у.т. в Красноярском крае до 48—52 руб/т у.т. в центральных районах европейской части страны.

Указанные особенности и сложности формирования энергетического баланса районов европейской части страны предопределили целесообразность использования ядерной энергии, прежде всего на базе опережающей электрификации народного хозяйства. В европейских районах страны атомные конденсационные электростанции (АЭС) могут обеспечить весь прирост базисной электрической нагрузки. В конце столетия доля атомных электростанций может достигнуть 25—30% в структуре генерирующих мощностей, что позволит существенно сократить расход мазута и природного газа на выработку электроэнергии. Вместе с тем нужно иметь в виду, что на выработку электрической энергии расходуется только 1/4 первичных энергоресурсов (см. табл. 1.1). Поэтому нельзя лишь за счет сооружения АЭС устранить все недостатки энергетического баланса районов европейской части СССР.

Существенный вклад в улучшение энергоснабжения европейских районов страны может дать использование ядерной энергии для целей теплоснабжения. Из данных табл. 1.1 видно, что расход энергетических ресурсов на производство пара и горячей воды, т.е. тепловой энергии среднего и низкого потенциала, больше, чем на производство электроэнергии. Достаточно велик расход энергетических ресурсов и на производство теплоты высокого потенциала . Здесь имеются в виду высокотемпературные процессы в черной металлургии, производстве строительных материалов, машиностроении и тл.

Однако разработка и освоение атомных источников теплоты (АИТ) требуют значительного времени, и в ближайшей перспективе они не смогут заметно повлиять на выбор структуры новых ИТ централизованного теплоснабжения. В этот период централизованное теплоснабжение европейских районов может ориентироваться только на использование органического топлива. Исходя из необходимости перестройки энергетического баланса европейской части СССР, можно утверждать, что потребуется резкое изменение структуры потребляемого органического топлива СЦТ в следующих направлениях: 1) снижение до минимально возможного расхода мазута на ОТЭЦ и в котельных путем замены его другими энергоресурсами (на первом этапе — в основном природным газом); 2) постепенная стабилизация общего расхода газа на ОТЭЦ и в котельных, несмотря на то что именно газом будет замещаться большая часть мазута в ближайшие годы; 3) широкое применение угля в европейских районах страны для централизованного производства теплоты вне крупных городов.

В районах Сибири СЦТ на обозримую перспективу должны быть ориентированы на использование органического топлива. Сооружение АИТ здесь нецелесообразно; исключение могут составить районы Крайнего Севера Сибири.

Тенденции теплопотребления в народном хозяйстве СССР. Потребление тепловой энергии народным хозяйством играет важную роль в формировании единого энергетического комплекса страны. Формы конечной энергии (тепловая энергия высокого, среднего или низкого потенциала) обусловлены совокупностью технологий в материальном производстве и сфере услуг. В свою очередь, формы конечной энергии во многом предопределяют выбор обеспечивающих их энергоносителей (пар, горячая вода) и состав производящих эти энергоносители генерирующих установок. Наконец, последние обусловливают требования к виду и качеству природных энергетических ресурсов.

Динамика расхода конечной энергии в народном хозяйстве СССР за последние 35 лет показана в табл. 1.2. Изменения в отраслевой структуре народного хозяйства привели к сдвигам в пропорциях использования конечной энергии по видам: возросла доля механической энергии вследствие механизации труда во всех областях материального производства и быстрого развития транспорта; снизилась доля тепловой энергии высокого потенциала, главным образом за счет опережающего развития обрабатывающей промышленности, потребляющей небольшое количество тепловой энергии высокого потенциала; относительно стабилизировалась доля тепловой энергии среднего и низкого потенциала.


Из данных табл. 1.2 видно, что главными направлениями совершенствования структуры энергоносителей является увеличение доли электроэнергии, пара и горячей воды в обеспечении всех видов конечной энергии при снижении доли топлива, непосредственно используемого в конечных потребительских установках.

Тенденция увеличения доли пара и горячей воды в расходе конечной энергии служит важным ориентиром в формировании производственной части энергетического комплекса. В настоящее время паром и горячей водой обеспечивается свыше 40% расхода конечной энергии. Следует предвидеть дальнейшее увеличение доли пара и горячей воды в общем расходе энергии до 50%.

Анализ участия энергоносителей в обеспечении тепловой энергии среднего и низкого потенциала выявил следующие важные тенденции (см. табл. 1.2): увеличение доли пара и горячей воды почти в 2 раза; значительное сокращение доли топлива, непосредственно используемого в потребительских установках. В настоящее время паром и горячей водой обеспечивается более 70% потребности в теплоте среднего и низкого потенциала; в перспективе предполагается увеличение этого показателя до 80%. В табл. 1.2-приведены также данные по структуре конечной тепловой энергии, которые показывают рост доли тепловой энергии низкого потенциала при снижении доли тепловой энергии среднего потенциала. Увеличение доли теплоты низкого потенциала — результат централизации теплоснабжения населения и сферы обслуживания.

Увеличение доли конечной энергии, обеспечиваемой паром и горячей водой, естественно, привело к росту доли энергетических ресурсов на производство пара и горячей воды. За 30 лет эта доля выросла с 15,6 до 27,7%. В 1985 г. на эти цели было израсходовано более 500 млн т у.т. Ожидается дальнейший абсолютный рост расхода энергоресурсов на выработку пара и горячей воды. Это, в свою очередь, открывает возможность широкого использования атомной энергии и твердого топлива для целей теплоснабжения.

Анализ расхода тепловой энергии среднего и низкого потенциала по отраслям народного хозяйства страны (табл. 1.3) показывает, что в настоящее время основная доля этой энергии (около 60%) поглощается в сфере материального производства, преимущественно в промышленности. Рост доли теплоты среднего и низкого потенциала, потребляемой в промышленности, в значительной мере вызван ускоренным развитием химической и нефтеперерабатывающей отраслей. В связи с углублением отбора светлых нефтепродуктов в перспективе можно ожидать дальнейшего увеличения потребления рассматриваемого вида тепловой энергии при переработке нефти.

Вторым после промышленности крупным потребителем тепловой энергии среднего и низкого потенциала в сфере материального производства является сельское хозяйство. В последние 30 лет его энергоемкость по теплоте среднего и низкого потенциала резко возрастала в результате коренной реконструкции производственной базы животноводства. Процесс этот еще не завершен, и рост энергоемкости продукции сельского хозяйства по тепловой энергии среднего и низкого потенциала будет продолжаться.


Как видно из табл. 1.3, доля расхода тепловой энергии среднего и низкого потенциала в непроизводственной сфере (быт и сфера обслуживания) за последние 30 лет заметно снизилась, особенно в первые десятилетия. Это связано прежде всего с тем, что темпы развития теплоемких отраслей народного хозяйства (химия, нефтепереработка) были существенно выше, чем темпы жилищного строительства и развития сферы услуг по стране в целом.

Централизация теплоснабжения и концентрация тепловых нагрузок. Потребление тепловой энергии за последние 25 лет выросло в 2,5 раза. Оно все в большей мере обеспечивается централизованным производством пара и горячей воды, доля которого увеличится с 35% в 1965 г. до 57% в 1990 г. (табл. 1.4).

Массовое развитие теплофикации (от ОТЭЦ обеспечивается 1/3 общего теплопотребления и свыше 40% теплопотребления городских поселений) — одно из главных направлений научно-технического прогресса в энергетике СССР, дающее существенную экономию топлива (ежегодно ‘ около 40 млн т у.т.) и трудовых ресурсов, а также возможность маневрировать энергетическими ресурсами.

Значительную роль в обеспечении централизованного теплоснабжения играют крупные котельные на органическом топливе. По сравнению с децентрализованными источниками теплоты крупные котельные также обладают рядом преимуществ: их развитие обеспечивает существенную экономию органического топлива и резкое (почти десятикратное) снижение удельной численности обслуживающего персонала; при их сооружении достигается заметное снижение удельных капиталовложений. Вместе с тем крупные котельные в ряде случаев имеют некоторые преимущества и перед ОТЭЦ: они, как правило, размещаются в центре тепловых нагрузок и поэтому требуют меньших затрат на сооружение тепловых сетей (ТС) и др.



Сопоставление данных о росте абсолютных и относительных размеров производства теплоты в крупных котельных и ОТЭЦ (см. табл. 1.4) показывает, что они развивались неравномерно: удельный вес отпуска теплоты от крупных котельных за 1965—1990 гг. вырос с 2 до 19%, а от ТЭЦ — лишь с 30 до 33%; абсолютный же размер отпуска теплоты от крупных котельных за этот период увеличился примерно в 16 раз, а от ТЭЦ - лишь в 2,8 раза.

Однако высокоэффективные крупные установки централизованного теплоснабжения обеспечивают лишь немногим более половины общего теплопотребления страны (в том числе в городах — 70%), а остальную часть — многочисленные (около 300 тыс.) малоэкономичные мелкие котельные и индивидуальные бытовые установки. Как видно из табл. 1.4, несмотря на снижение доли мелких котельных и индивидуальных установок, абсолютная суммарная теплопроизводительность этих видов источников теплоты продолжает расти. Причина этого в отставании темпов централизации теплоснабжения от темпов роста концентрации тепловых нагрузок, которое в первую очередь обусловлено недостатками организации в планировании, проектировании, строительстве и эксплуатации систем теплоснабжения. Следствием этого являются заниженные вводы крупных ИТ и неупорядоченное строительство множества мелких промышленных и отопительных котельных. Рост централизации теплоснабжения до экономически целесообразного уровня путем дальнейшего совершенствования структуры теплового хозяйства — важная задача развития энергетики.

Дальнейшее развитие народного хозяйства СССР предопределяет значительное увеличение потребностей в теплоте в промышленности, сельском хозяйстве, быту и сфере обслуживания. Годовые темпы роста теплопотребления составляют в настоящее время 2—3%. Продолжается дальнейшая концентрация тепловых нагрузок в городах. Из данных табл. 13 следует, что за рассматриваемый период существенно возрастает удельный вес городов с максимальной часовой тепловой нагрузкой 20 000 ГДж/ч и выше. Также растет доля городов с нагрузками в диапазоне 12 000— 20 000 ГДж/ч, а удельный вес городов с тепловой нагрузкой 6000- 12 000 ГДж/ч мало меняется. Снижение доли городов с тепловой нагрузкой 2000-6000 ГДж/ч объясняется переходом части из них (по мере роста теплопотребления) в группы городов с более высокими уровнями теплопотребпения.

В целом достаточно устойчиво наблюдается тенденция роста удельного веса больших концентраций тепловых нагрузок и уменьшения доли малых концентраций потребителей тепловой энергии. Последующийпериод будет характеризоваться дальнейшим ростом концентрации тепловых нагрузок. Так, на уровне 1990 г. удельный вес городов, максимальная тепловая нагрузка в которых превышает 6000 ГДж/ч, достигает 62%, в том числе городов с тепловой нагрузкой 20 000 ГДж/ч и выше — 29%. Указанная тенденция создает благоприятные предпосылки для -сооружения крупных ИТ.

Непрерывный рост концентрации тепловых нагрузок служит основой дальнейшего увеличения доли централизованного теплоснабжения. Исходя из допущения, что централизованным теплоснабжением обеспечиваются только города с тепловой нагрузкой более 2000 ГДж/ч, его долю в общем теплопотребпении страны можно увеличить до 65—70%, что соответствует возрастанию степени централизации теплоснабжения городов до 75—80%.

Режимы теплопотребления. Они существенно различны для отдельных групп потребителей. Для промышленных предприятий режимы теплопотребпения определяются видом технологической схемы, сменностью наиболее теплопотребпяющих цехов, особенностью производственного цикла предприятия, климатической характеристикой района расположения предприятия и другими факторами. По режимным признакам промышленные потребители теплоты могут быть разбиты на две группы [5]: 1) наиболее теплоемкие отрасли — нефтеперерабатывающая, химическая, целлюлозно-бумажная, металлургическая/ с предприятиями, работающими в три смены, с непрерывным технологическим процессом и соответствующим суточным режимом теплопотребления; 2) менее теплоемкие отрасли — машиностроение, легкая промышленность с двухсменными предприятиями, у которых суточный режим теплопотребления имеет регулярные снижения потребления теплоты в ночные часы.

Коэффициент неравномерности, определяемый как отношение минимального часового потребления теплоты к максимальному в течение суток, колеблется на предприятиях нефтеперерабатывающей и химической отраслей промышленности в пределах 0,92—0,96, на предприятиях целлюлозно- бумажной промышленности — 0,80—0,85, на предприятиях металлургической промышленности — 0,70—0,85. На предприятиях машиностроения и легкой промышленности недельные графики показывают четкое снижение потребления теплоты в выходные и предпраздничные дни, которое по различным предприятиям меняется в пределах от 10 до 50%. Двухсменная работа предприятий этой группы определяет ежесуточное снижение тепловой нагрузки в ночное время на 10—25%. Режим теплопотребпения в течение рабочего времени суток имеет ровный характер, колебания нагрузки незначительны — в пределах 5-10%.

Все нефтеперерабатывающие, химические и целлюлозно-бумажные предприятия имеют сезонное снижение технологического потребления теплоты. Это снижение происходит за счет снятия-технологического обогрева, снятия отопительно-вентиляционного теплопотребления и снижения нагрузки горячего водоснабжения. Для второй группы предприятий также характерно сезонное снижение теплопотребления. На рис. 1.1 показаны усредненные годовые графики тепловых нагрузок для трех характерных отраслей промышленности, построенные по среднемесячной нагрузке предприятий. Как видно, снижение тепловых нагрузок летнего периода по отношению к зимнему составляет около 30% на нефтехимических комбинатах и 45% на предприятиях машиностроительной и легкой промышленности [5].


Режим расхода теплоты на отопление и вентиляцию находится в прямой зависимости от климатических факторов: температуры наружного воздуха и силы ветра. Этим определяется резко сезонный характер потребления. Влияние климатических условий на величину и характер теплопотребления трех характерных городов иллюстрирует рис. 1.2 [15]. Видно, что основной параметр — продолжительность отопительного периода — колеблется от 2600 до 6200 ч.

Колебания нагрузки в течение суток и недели в отопительный период в основном зависят от расхода воды на горячее водоснабжение. В отличие от отопительно-вентиляционного потребления, которое в течение суток можно считать равномерным и непрерывным, расход на горячее водоснабжение изменяется в течение дней недели, суток и отдельных часов в широких пределах. Как правило, максимум теплопотребления наблюдается в утренние и вечерние часы (рис. 1.3). Дневное снижен» расхода теплоты на горячее водоснабжение составляет 15—45% максимума, ночные провалы в потреблении горячей воды достигают 80-90%. Сутки наибольшего потребления на горячее водоснабжение — суббота и воскресенье в течение всего года [5].

Работа ОТЭЦ в электроэнергетических системах. При разработке концепции развития теплоснабжения необходимо учитывать обострившиеся проблемы покрытия переменной части графика электрических нагрузок электроэнергетических систем (ЭЭС) в европейской части страны. Исследования перспективной структуры электрогенерирующих мощностей выявили необходимость существенного повышения удельного веса маневренного оборудования в европейских районах страны. В настоящее время удельный вес маневренного оборудования в структуре генерирующих мощностей европейской части страны не превышает 13%, тогда как на перспективу требуется иметь не менее 20—22% [10].

В восточных районах страны проблема обеспечения переменной части графика электрической нагрузки не возникает из-за высокого удельного веса гидроэлектростанций (ГЭС); в перспективе эта проблема также может быть решена за счет использования собственных гидроресурсов. Поэтому действующим и вновь вводимым ТЭЦ на органическом топливе может быть обеспечен базисный режим работы.

Учитывая тенденции к возможному разуплотнению графиков электрической нагрузки, ограниченность собственных гидроресурсов и ввод базисных атомных конденсационных электростанций, в европейских районах уже в ближайшие годы необходимо развивать специальные маневренные тепловые электростанции (паротурбинные и газотурбинные) в масштабах, достаточных для увеличения доли манедреиного оборудования. В качестве одного из весьма эффективных типов маневренных электростанций на органическом топливе выступает маневренная паротурбинная ОТЭЦ.

Специальный тип маневренных ТЭЦ на органическом топливе сочетает преимущества централизованного теплоснабжения, теплофикации и маневренных электрогенерирующих установок, которые могут взять на себя регулирование суточной и недельной неравномерности графика электрической нагрузки. При этом профиль и параметры ОТЭЦ изменяются в следующих основных направлениях: 1) применение котлов и турбин на докритические параметры пара и без промежуточного перегрева пара, что обеспечивает получение высокой маневренности; 2) установка редукционно-охладительных УСТРОЙСТВ, ДубЛИруЮЩИХ ПрОИЗВОДИТеЛЬНОСТЬ ОТг боров пара турбин в целях обеспечения возможности полной их остановки в нерабочие сутки или снижения мощности примерно до 50% в ночные часы рабочих суток.

Изменение места ТЭЦ на органическом топливе на графиках нагрузки Э.ЭС европейских районов СССР иллюстрирует рис. 1.4. В настоящее время ОТЭЦ занимают базисную часть графиков электрической нагрузки как в рабочие, так и в выходные дни (рис. 1.4, ал б) и являются конкурентами атомным конденсационным электростанциям. При этом, естественно, снижается их относительная эффективность и ставится под вопрос целесообразность сооружения новых ОТЭЦ. Напротив, маневренные ОТЭЦ, занимая место в полупиковой части графика электрических нагрузок ЭЭС рабочих дней (рис. 1.4, в) и не участвуя в покрытии графика нагрузки в нерабочие дни (рис. 1.4, г), перестают быть конкурентами как АЭС, так и вновь появляющимся атомным ТЦ (АТЭЦ).



Источники тепловой энергии. На новом этапе развития энергетики централизованное теплоснабжение может осуществляться установками пяти типов: ТЭЦ на органическом топливе; атомными ТЭЦ; атомными конденсационными электростанциями с нерегулируемыми отборами пара для цепей теплоснабжения; крупными районными котельными (РК), работающими на органическом топливе; крупными котельными на ядерном топливе — атомными станциями теплоснабжения.

Развитие ОТЭЦ будет происходить за счет строительства маневренных ОТЭЦ в европейских районах и базисных ОТЭЦ в восточных районах страны. Технология разгрузки теплофикационной турбины достаточно проста и заключается в передаче нагрузки теплофикационных отборов на дополнительный бойлер с подогревом в нем сетевой воды редуцируемым острым паром котла. В принципе может быть достигнут регулировочный диапазон блоков по электрической мощности от 100 до 0%. Каких-либо серьезных эксплуатационных трудностей такой способ регулирования электрической мощности ОТЭЦ не представляет, поскольку все котельное оборудование остается работать в режиме, близком к базовому, с разгрузкой не более чем на 40%.

На маневренных ОТЭЦ в европейских районах страны целесообразно устанавливать турбины типа Т мощностью до 175-200 МВт на докри- тические параметры пара. Более мощные (250/300 МВт), но не маневренные теплофикационные блоки на закритическое давление пара целесообразно устанавливать только в районах Сибири, где проблема маневренности в ЭЭС решается другими способами и где ОТЭЦ обеспечена работа в базе графика нагрузки ЭЭС.

Значительные возможности повышения эффективности ОТЭЦ обеспечивает применение на них парогазовых установок (ЛГУ). Наибольшую экономичность обеспечивают ПГУ- с повышенной степенью бинарности (табл. 1.6). Так, ПГУ мощностью 300 МВт в сравнении с паровой турбиной Т-250/300-240 (в условиях приведения обоих вариантов к одинаковому энергетическому эффекту) обеспечивает годовую экономию топлива 9—15%. Могут представить интерес и ОТЭЦ преимущественно небольшой мощности, оборудованные газотурбинными установками (ГТУ).

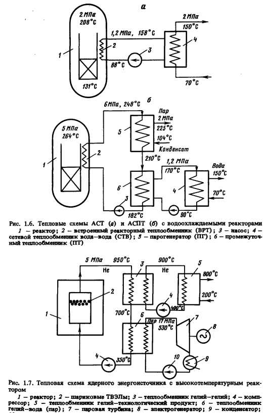
На атомных ТЭЦ реализуется традиционная для теплоэнергетики теплофикационная схема. На начальном этапе развития атомного теплоснабжения разрабатываются и реализуются АТЭЦ на базе водоохлаждаемых реакторов (рис. 1.5), генерирующих насыщенный пар средних параметров и потому характеризуемых сравнительно невысокой выработкой электроэнергии на тепловом потреблении. В настоящее время в Советском Союзе ведутся проектные разработки АТЭЦ единичной электрической мощностью порядка 2000 МВт и тепловой мощностью отборов турбин 7000—7500 ГДж/ч на базе реакторов ВВЭР-1000-60 и турбин ТК-450/500-60 или ТК-900/1000-60.

При выборе характеристик указанных и перспективных АТЭЦ и других типов атомных источников теплоты следует учитывать принципиальные отличия в развитии теплоснабжения на ядерном и органическом топливе, связанные с особенностями формирования затрат. Во-первых, более низкая топливная составляющая на теплофикационных агрегатах АТЭЦ (в отличие от ОТЭЦ) повышает эффективность производства электроэнергии по конденсационному циклу на АТЭЦ. Во-вторых, существенная зависимость удельной стоимости ядерно го реактора от его производительности предопределяет установку на АТЭЦ реакторов предельной мощности.


Расчеты показывают, что при отсутствии внешних ограничений (по условиям водоснабжения, экологии и др.) на АТЭЦ следует устанавливать не менее двух реакторов предельной мощности и применять турбины типа ТК с большой привязанной конденсационной мощностью. Если же такие ограничения существуют, то может быть целесообразной установка турбины без привязанной или со сниженной ’’привязанной конденсационной мощностью. В этом случае тому же расчетному расходу теплоты на турбину будет соответствовать существенно больший расчетный отпуск теплоты от турбины для целей теплоснабжения и меньшая ее электрическая мощность.

Важным источником теплоснабжения является конденсационная атомная электростанция. Из нерегулируемых отборов конденсационных турбин АЭС можно получать до 800—1600 ГДж/ч и более теплоты отборного пара на 1 млн кВт мощности АЭС. Массовое сооружение АЭС открывает возможности широкого развития теплоснабжения потребителей, расположенных в радиусе экономически оправданного транспорта горячей воды.

Совершенствование оборудования крупных районных котельных предусматривает укрупнение производительности котлоагрегатов, производящих пар (параметры до 2,4 МПа и 250° С), до 100—150 т/ч (при работе на угле и газомазутном топливе) и создание водогрейных котлов на углях восточных районов производительностью 200 и 400 ГДж/ч. Целесообразно создавать такие котлы для работы под наддувом с повышенной заводской готовностью в виде транспортабельных блоков, а также широко применять для них принцип сжигания твердых топлив в кипящем слое [9].

Атомная станция теплоснабжения — это одноцелевой генератор теплоты требуемых параметров. Возможны два варианта выполнения такого генератора: 1) атомная станция теплоснабжения (ACT) для обеспечения теплотой бытового потребления и 2) атомная станция промышленного или промышленно-бытового теплоснабжения (АСПТ), ориентированная на более высокий потенциал используемого пара (рис. 1.6).

Как известно, во всех ядерных энергетических установках предусматриваются необходимые меры радиационной безопасности. Характер этих мер и набор соответствующих технических решений зависят от типа установки и условий ее размещения по отношению к потребителю. В предназначенных для целей теплоснабжения ACT и АСПТ предусматриваются специальные технические мероприятия, повышающие их радиационную безопасность: применение естественной циркуляции в ядерном реакторе; низкое давление теплоносителя в основном контуре; низкая температура теплоносителя и умеренная энергонапряженность активной зоны; размещение основного корпуса реактора внутри страховочного корпуса, что исключает перегрев активной зоны в аварийных ситуациях; нагрев сетевого теплоносителя промежуточной греющей средой, давление которой ниже давления теплоносителя в сети и др. Все это позволяет создать ACT и АСПТ повышенной безопасности [13,16].

Для целей высокотемпературного теплоснабжения разрабатываются высокотемпературные реакторы. Одна из возможных технологических схем перспективной высокотемпературной ядернои энергетической установки приведена на рис. 1.7. Эта схема позволяет отбирать тепловую энергию с температурой до 800° С. Параметры частично охладившегося газа достаточны для генерации перегретого пара стандартного паросилового цикла.



Роль экологических факторов. Связи энергетики с окружающей средой (биосферой) имеют в основном отрицательные экологические последствия: энергетическое хозяйство, потребляя природные энергетические ресурсы, трансформирует их в конечную энергию, полезно используемую народным хозяйством, и в отходы (рис. 1.8). Основные из них — радиоактивные отходы, вредные газы, твердые и жидкие выбросы, а также отработавшая теплота. Эти отходы так или иначе соприкасаются с воздухом, водой и почвой. Потребляет же энергетическое хозяйство для своего функционирования из биосферы (кроме энергетических ресурсов) в основном кислород и воду; последнюю главным образом для отвода теплоты из теплосилового цикла [9].

Применительно к теплоснабжению проблема локализации радиационных излучений имеет усложняющий аспект: два типа атомных источников теплоты — ACT и АСПТ — территориально приближены к потребителю. Поэтому при решении этой проблемы, кроме общих подходов и методов, используемых для обеспечения безопасности АЭС и АТЭЦ, принимаются дополнительные меры для повышения радиационной безопасности этих типов АИТ. Некоторые из этих мер уже названы при описании ACT и АСПТ.

Ныне считается, что при высоком качестве оборудования и монтажа АИТ, строгом соблюдении в эксплуатации действующих правил радиационной безопасности, должным образом организованной службе контроля может быть обеспечена требуемая безопасность АИТ. Естественно, что при этом под радиационной безопасностью понимают как нормальные, так и практически самые тяжелые возможные аварийные и поспеаварий- ные ситуации на АИТ. Вместе с тем, учитывая, что использование ядерной энергии для целей теплоснабжения находится в начальной стадии, к этим вопросам необходимо постоянное внимание. Весьма существенную долю в загрязнение атмосферы вносят ОТЭЦ, РК и особенно мелкие котельные, выбрасывающие с продуктами сгорания золу, окислы серы и азота. Особенно сложна и практически еще не решена проблема уменьшения выбросов серы даже для крупных энергоустановок. Ныне разрабатываемые методы очистки требуют очень больших затратна поэтому пока нереальны. Следовательно, необходимо направить большие силы и средства на решение этой задачи.

Уменьшения выбросов твердых частиц на крупных энергоустановках добиваются сооружением высокоэффективных золоуловителей (коэффициент улавливания до 97—99%). На установках малой мощности эффективность улавливания твердых частиц во много раз меньше. Очевидно, что наряду с совершенствованием технических решений по мелким котельным на них нужно сжигать топливо повышенного качества. Для сокращения выбросов окислов азота, относительная вредность которых в 6—10 раз превышает вредность окислов серы, в настоящее время предложен ряд конструктивных и технологических мероприятий, которые позволяют без крупных затрат в 1,5—2,5 раза снижать концентрацию окислов азота в дымовых газах ОТЭЦ и РК.

Существенное уменьшение всех видов выбросов ОТЭЦ и РК в атмосферу может дать применение новых типов топочных устройств (например, разные виды топок с кипящим слоем) и использование комбинированных энерготехнологических установок. Такие установки могут обеспечить практически безотходное производство различных видов энергии, химических продуктов, строительных материалов, что повышает их экономическую эффективность.

Значительный эффект в уменьшении экологического воздействия с одновременным улучшением процессов горения и повышения экономических показателей ИТ дает обогащение топлива перед его сжиганием. Особенно важно обеспечить обогащенным топливом мелкие и средние ИТ.

Уменьшение вредных экологических последствий от развития энергетики в целом и теплоснабжения в частности требует достаточно крупных затрат (5—10% от общих затрат на энергетику). Поэтому нужно уметь обоснованно определять наиболее эффективные направления расходования этих средств.

Исследование систем теплоснабжения/Л.C. Попырин, К.С. Светлов, Г.М. Беляева и др. М.: Наука, 1989.

на главную