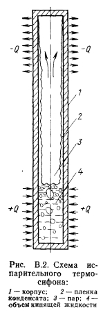
УСТРОЙСТВО И ПРИНЦИП РАБОТЫ ТЕПЛОВЫХ ТРУБТепловыми трубами названы испарительно-конденсационные устройства для передачи тепла, в которых осуществляется перенос скрытой теплоты парообразования за счет испарения жидкости в зоне подвода тепла и конденсации ее паров в зоне отвода, а замкнутая циркуляция теплоносителя поддерживается действием капиллярных или массовых сил. Возможны самые различные модификации тепловых труб. В простейшем случае тепловая труба (рис. B.I) имеет герметичный корпус, внутренняя поверхность которого устлана слоем капиллярно-пористого материала — фитилем, который насыщен жидкой фазой теплоносителя. Фитилем могут служить различные пористые материалы (сетки, спеченные пористые структуры), канавки на внутренней поверхности корпуса трубы, экраны с перфорациями или какая-либо другая структура, способная осуществлять перенос жидкости из зоны конденсации в зону нагрева за счет действия капиллярных сил. В качестве теплоносителя могут быть использованы любые химически чистые материалы или соединения, имеющие жидкую и паровую фазу при рабочей температуре трубы и, как правило, смачивающие материал фитиля. Используя в качестве теплоносителей жидкий гелий, азот, спирты, фреоны, воду, щелочные металлы и т. п., можно создать тепловые трубы для работы как в областях низких, криогенных, температур, так и в области высоких температур — 2500° С и даже выше. ![]() Рассмотрим работу тепловой трубы простейшего типа в условиях отсутствия массовых сил. Подводимое к трубе тепло передается за счет теплопроводности через корпус трубы и, зачастую, через элементы фитиля к- теплоносителю. Испарение смачивающей фитиль жидкости приводит к образованию или увеличению кривизны вогнутых менисков на поверхности жидкости в порах фитиля в зоне нагрева. Под действием сил поверхностного натяжения в вогнутых менисках появляется капиллярное давление Ркап, воздействующее на жидкость и стремящееся уменьшить кривизну менисков. Капиллярное давление в мениске определяется по формуле Лапласа: ![]() Конденсация жидкости в зоне отвода тепла приводит к затоплению фитиля. Кривизна менисков жидкости внутри фитиля в этой зоне, как правило, ничтожна по сравнению с соответствующей кривизной в зоне нагрева трубы. Различие кривизны менисков и, следовательно, капиллярных давлений в этих двух зонах трубы приводит к появлению перепада этих давлений, который является движущим перепадом давления при перекачке жидкости по фитилю из зоны конденсации в зону испарения. Таким образом, в тепловой трубе для обеспечения замкнутой циркуляции теплоносителя используется «капиллярный насос». Помимо капиллярных сил при работе тепловых труб могут действовать массовые силы — гравитационные, центробежные, электромагнитные и др. Массовые силы способны как улучшать циркуляцию теплоносителя в тепловых трубах, так и затруднять ее. В работающей трубе при циркуляции теплоносителя имеют место следующие процессы: 1) испарение жидкой фазы теплоносителя в зоне нагрева при подводе тепла от источника; 2) перенос пара в зону с пониженным давлением — зону теплоотвода и конденсации; 3) конденсация пара в зоне теплоотвода; 4) подача жидкости из зоны конденсации в зону испарения под действием капиллярных или массовых сил. Каждый из этих процессов происходит с изменением давления вдоль линии тока циркулирующего теплоносителя. При течении пара по паровому каналу изменение давления происходит как за счет гидравлических потерь, обусловленных трением, так и за счет инерционных эффектов — статическое давление в паре изменяется при вдуве массы пара в поток (испарение) или отводе массы пара (конденсация). Для жидкости, движущейся по фитилю под действием капиллярных сил, давление изменяется главным образом вследствие трения. В зоне испарения и конденсации на границе раздела фаз жидкость — пар помимо капиллярного давления имеет место перепад давления при фазовом переходе, обусловленный динамическим воздействием испаряющегося или конденсирующегося теплоносителя. В любом сечении стационарно работающей трубы перепад давления между фазами уравновешивается капиллярным давлением: ![]() Типичное распределение давления в паре и жидкости по длине тепловой трубы показано на рис. В.1. Кривизна менисков и капиллярное давление по длине трубы изменяются. Максимальная кривизна имеет место в начале испарительной зоны трубы, а минимальная — в конце зоны конденсации. Кривая а — изменение давления в жидкости при отсутствии воздействия массовых сил, кривая б, данная для сравнения,— распределение давлений в жидкости по длине трубы с учетом влияния гравитации в случае, когда силы тяжести препятствуют циркуляции жидкости. При постоянном значении передаваемой трубой мощности влияние гравитации приводит к тому, что капиллярный насос должен развивать более высокий перепад давления по сравнению с работой трубы в невесомости. В условиях, когда силы гравитации или иные силы (центробежные, электромагнитные) способны обеспечить перенос жидкому сти из зоны- конденсации в зону нагрева, могут использоваться тепловые трубы, не имеющие капиллярной структуры — бесфитильные тепловые трубы. Конструкция тепловой трубы, не имеющей капиллярной Рис В 2 Схема из структуры и работающей на использовании парительного термогравитационных сил, представлена на рис. сифона: ![]() Ивановский М. Н., Сорокин В. П., Ягодкин И. В. Физические основы тепловых труб.—М.: Атомиздат, 1978 |
|