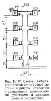
ПРИМЕНЕНИЕ В РАСЧЕТЕ ТРУБОПРОВОДОВ МЕТОДА ПЕРЕМЕЩЕНИЯ ЕДИНИЦЫ ОБЪЕМАПри расчете трубопроводов стояков с присоединением нагревательных приборов с двух сторон возникает необходимость определения количества воды, поступающей в подводки неодинаковой длины или при регулирующем кране, размещенном на подводке только к одному нагревательному прибору из двух. Аналогичная задача, может возникнуть при регулировании системы водяного отопления после выключения части стояков. Выполнять подобный расчет необходимо для обеспечения гидравлической и тепловой устойчивости системы. Более просто поставленные задачи можно решить при расчете методом перемещения единицы объема теплоносителя. Для примера определим фактическое количество воды, поступающей в каждый из нагревательных приборов (рис. IV. 16, а), если длина подводок к каждому из приборов неодинакова, теплоотдача же приборов одинакова; диаметры подводок известны. От точки а по обеим подводкам перемещается единица объема теплоносителя. Методика расчета. Пусть через подводки прибора № на участке 1 расход теплоносителя составит р, а подводки прибора № 2 на участке 2— (1 — р). Отсюда давление для преодоления сопротивления на участке 1 будет равно р1 = рУД/р2, а на участке 2 — р2 = руяг(1—Р)2. ![]() Пример IV.1. Определить расход воды в подводках к нагревательным приборам стояка системы отопления (рис. IV. 16, б). Все подводки к приборам имеют диаметры 15 мм. Расчетная теплоотдача нагревательных приборов: первого— 1000 ккал/ч, второго — 1500 ккал/ч. Длина подающей и обратной подводок к первому прибору — по 1,5 м, ко второму—по 1 м. На подводке первого прибора установлен кран двойной регулировки. Температура теплоносителя /Г=95°С, 70° С. Решение. Применим метод перемещения единицы объема расхода. Пусть в первый прибор пойдет воды В, тогда во второй (1 — в). Для преодоления сопротивления подводок первого прибора будет затрачено давление р ![]() ![]() Непропорциональное теплоотдаче нагревательных приборов распределение расходов теплоносителя (1500/1000=1,5; 0,556/0,444=1,25) должно быть учтено при гидравлическом расчете подводок и определении поверхности нагревательных приборов. Определим температуры обратной воды после нагревательных приборов. Общий расход теплоносителя G = (1000+ 1500) / (95—70) = = 100 кг/ч. Расход воды в первом приборе Gi = 100-0,444 = 44,4 кг/ч, то же, во втором приборе G2=100—44,4 = 55,6 кг/ч. Температура обратной воды из первого прибора будет равна ![]() ![]() Таким образом, параметры теплоносителя при определении поверхности приборов будут: для первого прибора — 95 и 72,2° С, для второго — 95 и 67,5° С. ![]() Пример IV.2. Рассчитать трубопроводы П-образного стояка однотрубной системы отопления со смещенными замыкающими участками и нижней разводкой магистралей (рис. IV. 17) методом динамических давлений. Температура теплоносителя 105° С, 70° С. Система отопления присоединена к тепловым сетям через элеватор. Нагревательные приборы — радиаторы М-140-АО. Тепловая нагрузка приборов указана на приборах схемы (рис. IV. 17) y]Q = 7100 ккал/ч. Решение. 1. Находим величину естественного давления ре в стояке. Согласно CII 419—70 для этого можно применить формулу ![]() 2. С целью повышения гидравлической устойчивости в стояках однотрубных систем отопления с нижней разводкой следует использовать не менее 80% располагаемого давления. Иначе говоря, потери в стояках должны составлять не менее 80% общих потерь давления в циркуляционных кольцах без учета потерь давления на тех участках, которые являются общими для группы стояков или ветвей. 3. Определяем предположительно давление для расчета труб стояка ![]() 4. Определяем среднюю удельную потерю давления на трение ор 0,65-840 ![]() ![]() На стояке восемь замыкающих участков. Следовательно, общий приведенный коэффициент гидравлического сопротивления всех замыкающих участков составит ![]() Пример 1V.3. Рассчитать трубопроводы проточно-регулнруемого П-образного стояка однотрубной системы отопления с нижней разводкой магистралей (рис. IV. 18) методом характеристик сопротивлений по СН 419—70. Температура теплоносителя в системе 6-= 105° С, tо = 70° С. Тепловая нагрузка приборов Q = 8400 ккал/ч. Решение. 1. Определяем расход воды в стояке: ![]() ![]() Пример. Рассчитать трубопроводы ветви горизонтальной однотрубной системы водяного отопления с замыкающими участками ![]() ![]() ![]() ![]() Определяем гидравлические потери в ветви. Потери давления в ветви слагаются из потерь в замыкающих участках рз.у и трубах рт между этими участками (включая вентили Косва). ![]() Дроздов В. Ф. Отопление и вентиляция. Отопление. Учебник для строит, вузов. М., «Высш. школа», 1976 |
|