ГАЗОВОЕ ОТОПЛЕНИЕ

Газ широко применяют в системах теплоснабжения, в том числе для отопления зданий.

Центральные системы отопления получают теплоноситель от крупных котельных, использующих в качестве топлива природный газ.

В системах квартирного отопления в качестве генераторов тепло применяют газовые нагреватели емкостного типа АГВ-80.

Разработаны конструкции печей, приспособленных для сжигания газа (например, газовая отопительная печь АКХ-14, отопитель на я газовая печь АКХ СМ-1).

Разработан способ переоборудования бытовых печей на газовое топливо: в поддувальное пространство печей устанавливают эжекционные щелевые горелки. Воздух подается через специально сделанное в дверке зольника регулируемое отверстие сечением 20Х Х20 мм. В задвижках печи для постоянной вентиляции внутреннего пространства устраивают (прожигают) 2 или 3 отверстия диаметром 25 мм.

Сравнительно широко применяется инфракрасное газовое отопление, состоящее из излучателей с горелками беспламенного горения.

Находят применение такие системы отопления, в которых нагревательными приборами являются конвекторы.

Газовые печи. Применение газа в качестве топлива позволяет создать более удобные в эксплуатации конструкции печей, а также полностью автоматизировать их работу. С этой целью в газифицируемых городах Советского Союза перекладываются существующие печи. Однако в этих случаях большая теплоемкость и периодичность действия (топки) печи, как правило, сохраняются прежними.

Периодичность действия таких печей увеличивает неравномерность в графике газопотребления города, вследствие чего возникает необходимость увеличения диаметров распределительных газопроводов и’ числа регуляторных станций.

Лучшими для перевода на газ являются печи длительного горения. Они обеспечивают более постоянную температуру помещения в течение суток, меньший часовой расход газа, что положительно сказывается на режиме работы (снижается неравномерность графика потребления газа) городской газовой сети.

Конструкция печи, предназначенной для сжигания газа, представлена на рис. XI. 1. Эта печь отличается от печи периодического действия увеличенным объемом топливника. Тепловое напряжение топочного пространства Q/V снижено в печи АКХ-14 до 90 000 ккал/м3-ч вместо 250 000—300 000 ккал/м3-ч в печах периодического действия.


В связи с уменьшением теплового напряжения топочного пространства отпадает необходимость в футеровке стенок топливника, топливники в печи АКХ-14 выполняют толщиной в /г красного Кирпича.

Ряд прямоточных каналов, образованных между кирпичами, подавленными в 3 яруса один над другим, увеличивает поверхность печи на сравнительно коротком пути. Специальные рассекатели в виде кирпичей, положенных плашмя, направляют продукты сгорания непосредствено к боковым стенкам печи.

Над верхним сборным газоходом устанавливают тягопрерыватель для предохранения топки от избыточной и обратной тяги. Печь снабжена приборами защитной автоматики, прекращающей подачу газа в горелки при отрыве или при угасании пламени, и терморегулирующей автоматикой, включающей и выключающей подачу газа на горение в зависимости от температуры кладки печи. При равномерном прогреве, по периметру в помещениях печь АКХ-14 имела к. п. д. 88—90%, создавая неизменный температурный режим.

Практика эксплуатации печей, переведенных на газовое топливо, показала, что горелку следует устанавливать в печь с учетом теплоотдачи и аккумуляции тепла печью.

Температура уходящих газов ух и коэффициент полезного действия печи зависит от величины поверхности дымооборотов X, воспринимающих тепло


На рис. XI.2 представлены результаты расчета по определению Ух и г в зависимости от Ef. Расчет производился для печен с тепловоспринимающей поверхностью дымооборотов от 3 до 5 м2. Из рис. XI. 2 видно, что при одинаковых условиях топки коэффициент полезного действия печи возрастает при увеличении тепловоспринимающей поверхности ее дымооборотов; температура уходящих газов резко снижается при увеличении дымооборотов.

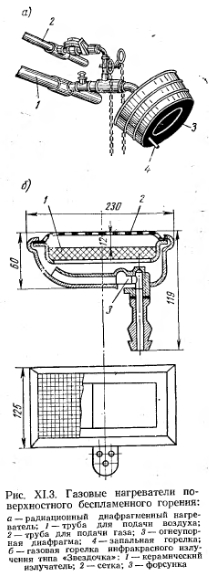
Газовые приборы поверхностного беспламенного горения. К таким приборам относятся диафрагмовый радиационный нагреватель (рис. XI.3, а) и газовая горелка инфракрасного излучения типа Звездочка» (рис. XI.3, б).

Диафрагмовый радиационный нагреватель, по существу, представляет собой беспламенную газовую горелку, к которой подается воздух, необходимый для горения. Нагнетаемый по трубе 1 воздух подсасывает газ из трубы 2. Газовоздушная смесь проходит через пористую огнеупорную диафрагму 3 и при высокой температуре (800—:900° С) смесь беспламенно сгорает на ее внешней поверхности. Зажигание смеси производится от небольшой запальной горелки 4.

Радиационные нагреватели применяют для отопления производственных помещений, технологический процесс в которых не сопровождается выделением пыли, и в зданиях общественного назначения (рестораны, кафе, буфеты), а также для отопления неутепленных и полуоткрытых помещений.

Работа газовой горелки Звездочка» основана также на беспламенном сжигании газа (природного и сжиженного). Газовоздушная смесь проходит через отверстия керамической насадки к ее поверхности, где и сгорает. Керамическая насадка, нагретая до 800- 900° С, становится источником тепла в виде инфракрасных лучей.

Горелки инфракрасного излучения Звездочка» применяют для отопления полуоткрытых помещений, для обогрева отдельных предметов и тепловой обработки различных материалов в промышленности и сельском хозяйстве.

При проектировании такого способа отопления важной задачей является размещение инфракрасных излучателей, расчет их производительности, определение температур поверхности огараждающих конструкций, температуры воздушной среды помещений. Горелки в помещении Нужно расположить так, чтобы интенсивность облучения в зоне пребывания человека на всей площади помещения была более или менее одинакова. Для обеспечения большей равномерности инфракрасного облучения целесообразно применять горелки малой производительности, особенно в низких помещениях.



Как показала практика, при выбросе продуктов сгорания из горелок в отапливаемое помещение, возможна загазованность воздуха помещения окисью углерода и другими продуктами сгорания газа.


Экспериментальные наблюдения показали, что при должном качестве изготовления газовых излучателей, тщательном монтаже, наладке и правильной эксплуатации газ сгорает в горелках и содержание углерода в продуктах сгорания близко к нулю (0,005%), Тем не менее в помещениях с инфракрасным отоплением обязательно устройство надежно работающей вентиляции.


Газовые конвекторы (рис. XI.4), применяющиеся за рубежом для отопления жилых и служебных помещений, в нашей стране] широкого распространения не получили.

В 1959 г. была разработана конструкция газового воздухонагревателя Огонек» (рис. XI.5), предназначенного для отопления помещений.

Циркуляционный воздух поступает из помещения в воздухонагреватель через отверстие, расположенное внизу прибора. Нагретый! воздух через решетку, установленную в верхней части прибора, поступает в помещение. Для безопасной работы воздухонагреватель снабжен автоматическим устройством.

Воздухонагреватель устанавливают у наружной стены, в коте рой устраивают специальное отверстие для сообщения прибора атмосферой. Продукты горения удаляются наружу.

Дроздов В. Ф. Отопление и вентиляция. Отопление. Учебник для строит, вузов. М., «Высш. школа», 1976

на главную