ДЕТАЛИ УСТРОЙСТВА ПАРОВЫХ СИСТЕМ ОТОПЛЕНИЯ

Устройства для отвода конденсата. В паровых системах отопления устройствами для отвода конденсата служат U-образные петли или конденсатоотводчики. В паровых системах высокого давления такие петли не применяют вследствие того, что из-за высокого давления высота их была бы слишком большой.

Конденсатоотводчики по принципу действия различают на термические и поплавковые. По режиму работы они могут быть периодического и непрерывного действия. На рис. V. 11 изображено внутреннее устройство конденсатоотводчика термического действия. Изогнутую трубку наполняют спиртом; под влиянием температуры входящих в трубку паров трубка выпрямляется и коническим золотником закрывает входное отверстие (слева). Конденсатоотводчики термического действия устанавливают в паровых системах как низкого, так и высокого давления.

Конденсатоотводчики термического действия часто применяют вместо U-образных петлевых затворов в тех случаях, когда для устройства последних отсутствует необходимая высота.



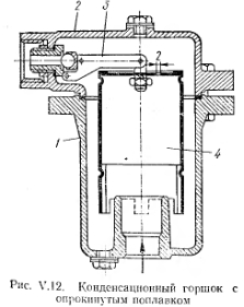
Для обводного движения конденсата во время ремонта конденсатоотводчика и для продувки конденсатопровода служит соводная линия (рис. V.13). В конденсатоотводчике поплавкового действия (рис. V.14) имеется закрытый поплавок который при помощи рычажной системы управляет выпускным клапаном (золотником). При непрерывном поступлении конденсата в конденсатоотводчик шар поплавка находится в приподнятом положении (плавает), открывая отверстие для выхода конденсата. При отсутствии конденсата поплавок опущен, и золотник закрывает выходное отверстие.

Конденсационный.

Конденсатоотводчики устанавливают для отвода конденсата в паровых системах низкого и высокого давления. В паровых системах отопления низкого давления (более 0,4 кг/смг) на конденсатопроводе перед конденсатным баком во избежание выхода пара в атмосферу устанавливают конденсатоотводчик.

Расчет (подбор) конденсатоотводчиков ведут на заданный перепад давлений до и после конденсатоотводчика. При этом следует сохранять давление после отводчика, необходимое для транспортировки конденсата до котельной.

Конденсационные баки изготовляют обычно сварными из листовой стали. Для удаления воздуха и сообщения с атмосферой в паровых системах отопления конденсационный бак снабжон с закрытым поплавком воздушной трубой. Бак имеет герметичный люк, водомерное стекло, переливную и спускную трубу. Одночасовой расход конденсата определяют по формуле


Емкость конденсационного бака принимают равной объему кон- т цента, поступающего из системы за 1—2 ч в небольших котельных (С чугунными котлами); 0,5—1 ч —в крупных котельных.

Редукционные клапаны применяют для снижения давления пара перед вводом его в систему (рис. V.15). Давление пара снижается вследствие того, что он проходит под золотник через малое отверстие с большой скоростью. Регулируемое давление устанавливают натяжением пружины.


С помощью редукционного клапана можно поддерживать постоянное давление пара в системе независимо от изменения давления перед клапаном. Достигается это тем, что площади поршня 2 и золотникового отверстия 1 равны, вследствие чего изменение давления пара не оказывает воздействия на степень открытия золотникового отверстия. Редукционный клапан служит и запорным вентилем.

Подбор редукционного клапана состоит в определении площади сечения прохода в клапане:


Подбирают редукционные клапаны по номограммам.

Компенсаторы. Для воспринятая трубами температурных удлинении п разгрузки их от температурных напряжений служат компенсаторы. При отсутствии компенсации в трубопроводе возникает большое напряжение сжатия.

Температурное удлинение стальных труб определяют по формуле


При установке П-образных компенсаторов их растягивают на длину, равную половине теплового удлинения, т. е. на величину Д2. П-образные компенсаторы устанавливают на середине между двумя неподвижными опорами.

Дроздов В. Ф. Отопление и вентиляция. Отопление. Учебник для строит, вузов. М., «Высш. школа», 1976

на главную